TOP
|
特許
|
意匠
|
商標
特許ウォッチ
Twitter
他の特許を見る
公開番号
2025089620
公報種別
公開特許公報(A)
公開日
2025-06-16
出願番号
2023204346
出願日
2023-12-04
発明の名称
キャンピングトライク
出願人
個人
代理人
主分類
B60P
3/35 20060101AFI20250609BHJP(車両一般)
要約
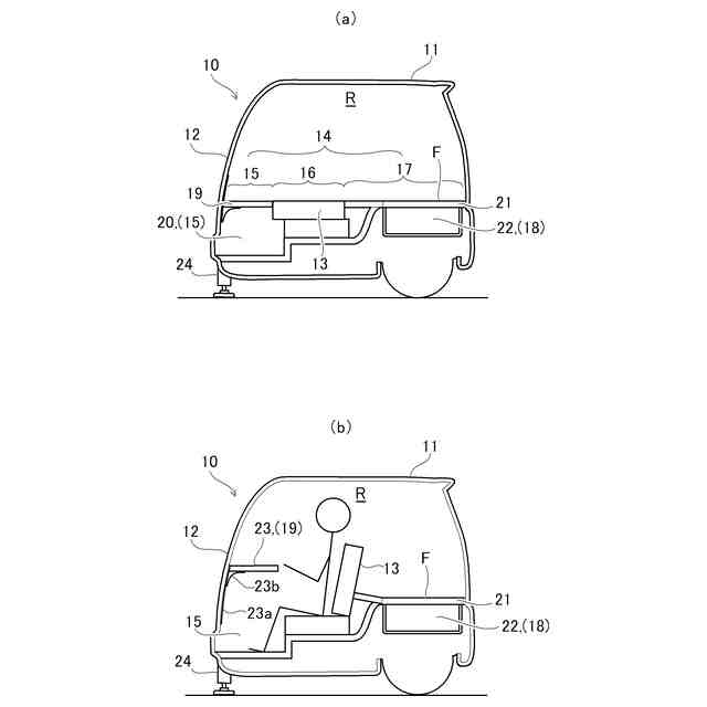
【課題】ハッチバック車を改造したリアキャビン内に足置きスペースカバーを共有するカウンターテーブルと、二つの床下収納スペースを備えたキャンピングトライクを提供する。
【解決手段】ハッチバック車のセンターピラー部より前方部を開放し、その開放された前方部に居住空間を拡張する形状に形成されるフロントボディカバーを装着してリアキャビンを形成し、該リアキャビン内には、後部座席を前方に折り畳んで形成される後部座席背面スペースと後部座席足置きスペースとラゲッジスペースとから成る居住空間スペースを形成し、後部座席足置きスペースを足置きスペースカバーによって覆被することで第一の床下収納スペースとすると共に、ラゲッジスペースの下方のタイヤハウス部をラゲッジスペースカバーによって覆被することで第二の床下収納スペースを形成し、足置きスペースカバーをフロントボディカバーの室内側にカウンターテーブルを設けた手段を採る。
【選択図】図1
特許請求の範囲
【請求項1】
ハッチバック車を改造したリアキャビン内に足置きスペースカバーを共有するカウンターテーブルと、二つの床下収納スペースを備えたキャンピングトライクであって、
前記ハッチバック車のセンターピラー部より前方を自走するのに必要な機能ならびに装置を取り外して前方部を開放し、その開放された前方部に居住空間を拡張する形状に形成されるフロントボディカバーを装着してリアキャビンを形成し、
前記リアキャビン内には、後部座席を前方に折り畳んで形成される後部座席背面スペースと、後部座席足置きスペースと、ラゲッジスペースと、から成る居住空間スペースを形成し、
前記後部座席足置きスペースを足置きスペースカバーによって覆被することで第一の床下収納スペースとすると共に、前記ラゲッジスペースの下方のタイヤハウス部をラゲッジスペースカバーによって覆被することで第二の床下収納スペースを形成し、
前記足置きスペースカバーを前記フロントボディカバーの室内側にカウンターテーブルとして機能するように設けて成ることを特徴とするキャンピングトライク。
続きを表示(約 98 文字)
【請求項2】
前記リアキャビンの前方下方両側に接地固定装置を備えると共に、後方に居住空間を拡張する居住空間拡張手段を備えて成ることを特徴とする請求項1記載のキャンピングトライク。
発明の詳細な説明
【技術分野】
【0001】
本発明は、ハッチバック車を改造したリアキャビン内に足置きスペースカバーを共有するカウンターテーブルと、二つの床下収納スペースを備えたキャンピングトライクに関する。
続きを表示(約 1,800 文字)
【背景技術】
【0002】
従来における三輪バイク(トライク)における提案は、例えば、車体と、この車体に取り付けられたハンドルにより操舵される一つの前輪と、前記車体に搭載されたエンジンにより駆動される左右一対の後輪を備えた三輪車(以下「トライク」という)であって、ヨーロッパ製の自動車エンジンや自動二輪車のエンジンを搭載したトライクではなく、信頼性の高い日本製自動車の中古エンジンを搭載したことを特徴とする「日本製自動車の中古エンジンを搭載したトライク」(特許文献-1)が提案されている。
【0003】
また、自動二輪車の後ろタイヤを外し、シャフト部分にスプロケット(動力伝達装置)を取り付け、チェーン駆動でトライクユニットに動力を伝達させ、トライクユニットはエンジン側のプーリケース、サスペンション、マフラー取り付け穴を利用して車体に取り付ける。そうすることによって、色々なメーカーのトライクユニットも簡単に取り付けができ、軽四輪車用のホウシングにスプロケットを付ければ自動車部品でも製作することができる「トライク」(特許文献-2)が提案されている。
【0004】
しかしながら、上記における三輪バイク(トライク)のいずれの提案も、本願発明のようなリアキャビン内に足置きスペースカバーを共有するカウンターテーブルと、二つの床下収納スペースを備えたキャンピングトライクではなかった。
【0005】
一方、大型バイクの後方にキャンピングトライクを連結したキャンピングトライクがインターネット上で公開されているが、それらは連結されているリアキャビン自体が一定の車長と車幅を有することから、バイク特有のコーナリングにおける運転性能を発揮することができないといった問題があった。
【0006】
本出願人は、上記の問題点を鑑みてなされたもので、従来より普及している大型の高価格帯のキャンピングトライクと比べて、低価格であると共にコンパクトで運転性に優れたキャンピングトライクの提供ができないものかという構想の下、ハッチバック車を改造したリアキャビン内に足置きスペースカバーを共有するカウンターテーブルと、二つの床下収納スペースを備えたキャンピングトライクを開発し、本発明における「キャンピングトライク」の提案に至るものである。
【先行技術文献】
【特許文献】
【0007】
実用新案登録第3146929号公報
実用新案登録第3155142号公報
【発明の概要】
【発明が解決しようとする課題】
【0008】
本発明は上記問題点を鑑みてなされるもので、ハッチバック車を改造したリアキャビン内に足置きスペースカバーを共有するカウンターテーブルと、二つの床下収納スペースを備えたキャンピングトライクの提供を図ることを課題とする。
【課題を解決するための手段】
【0009】
本発明におけるキャンピングトライクは、ハッチバック車を改造したリアキャビン内に足置きスペースカバーを共有するカウンターテーブルと、二つの床下収納スペースを備えたキャンピングトライクであって、前記ハッチバック車のセンターピラー部より前方を自走するのに必要な機能ならびに装置を取り外して前方部を開放し、その開放された前方部に居住空間を拡張する形状に形成されるフロントボディカバーを装着してリアキャビンを形成し、前記リアキャビン内には、後部座席を前方に折り畳んで形成される後部座席背面スペースと、後部座席足置きスペースと、ラゲッジスペースと、から成る居住空間スペースを形成し、前記後部座席足置きスペースを足置きスペースカバーによって覆被することで第一の床下収納スペースとすると共に、前記ラゲッジスペースの下方のタイヤハウス部をラゲッジスペースカバーによって覆被することで第二の床下収納スペースを形成し、前記足置きスペースカバーを前記フロントボディカバーの室内側にカウンターテーブルとして機能するように設けた手段を採る。
【0010】
また、本発明におけるキャンピングトライクは、前記リアキャビンの前方下方両側に接地固定装置を備えると共に、後方に居住空間を拡張する居住空間拡張手段を備えて成る手段を採る。
【発明の効果】
(【0011】以降は省略されています)
この特許をJ-PlatPat(特許庁公式サイト)で参照する
関連特許
個人
タイヤレバー
3か月前
個人
前輪キャスター
2か月前
個人
上部一体型自動車
28日前
個人
空間形成装置
1日前
個人
ルーフ付きトライク
2か月前
個人
ホイルのボルト締結
4か月前
個人
タイヤ脱落防止構造
2か月前
日本精機株式会社
表示装置
3か月前
日本精機株式会社
表示装置
3か月前
個人
車両通過構造物
3か月前
井関農機株式会社
作業車両
4か月前
個人
キャンピングトライク
4か月前
個人
マスタシリンダ
1か月前
井関農機株式会社
作業車両
4か月前
日本精機株式会社
表示装置
2か月前
日本精機株式会社
表示装置
3か月前
個人
キャンピングトレーラー
4か月前
個人
常設収納型サンバイザー
7日前
個人
車両用スリップ防止装置
4か月前
個人
アクセルのソフトウェア
4か月前
個人
乗合路線バスの客室装置
3か月前
個人
円湾曲ホイール及び球体輪
3か月前
日本精機株式会社
車載表示装置
9日前
株式会社豊田自動織機
産業車両
2か月前
個人
音声ガイド、音声サービス
3か月前
日本精機株式会社
車載表示装置
4日前
株式会社ニフコ
照明装置
2か月前
日本精機株式会社
車載表示装置
4か月前
日本精機株式会社
車載表示装置
1か月前
株式会社ニフコ
収納装置
1か月前
個人
回転窓ワイパー装置
1日前
日本精機株式会社
画像投映装置
24日前
株式会社ニフコ
保持装置
4か月前
日本精機株式会社
車室演出装置
2か月前
個人
車載小物入れ兼雨傘収納具
4か月前
日本精機株式会社
車載表示装置
2日前
続きを見る
他の特許を見る