TOP
|
特許
|
意匠
|
商標
特許ウォッチ
Twitter
他の特許を見る
公開番号
2025112447
公報種別
公開特許公報(A)
公開日
2025-08-01
出願番号
2024006669
出願日
2024-01-19
発明の名称
表示装置
出願人
日本精機株式会社
代理人
主分類
B60R
1/20 20220101AFI20250725BHJP(車両一般)
要約
【課題】外景の映像表示に係るタイムラグを低減しつつ、表示の歪みの発生をユーザに感じさせにくい表示装置を提供する。
【解決手段】表示装置は、表示ユニット、画像取得手段及び画像処理手段を備える。表示ユニットは、車両に設けられた反射面に向けて特定画像を表す光を発する。画像取得手段は、車両に設けられた撮像部によって車両の外景を撮像することで得られる撮像画像Qを取得する。画像処理手段は、画像取得手段が取得した撮像画像Qを、撮像画像Qの外形と異なる特定外形Fで切り出し、切り出した画像を特定画像として表示ユニットに表示させる。反射面で反射した光によって車両に乗ったユーザに視認される特定画像を表示像Gとすると、特定外形Fは、表示像Gの外形Fgが、任意の形状となるように予め設定されている。
【選択図】図4
特許請求の範囲
【請求項1】
車両に設けられた反射面に向けて特定画像を表す光を発する表示ユニットと、
前記車両に設けられた撮像部によって前記車両の外景を撮像することで得られる撮像画像を取得する画像取得手段と、
前記画像取得手段が取得した前記撮像画像を、前記撮像画像の外形と異なる特定外形で切り出し、切り出した画像を前記特定画像として前記表示ユニットに表示させる画像処理手段と、を備え、
前記反射面で反射した前記光によって前記車両に乗ったユーザに視認される前記特定画像を表示像とすると、
前記特定外形は、前記表示像の外形が、任意の形状となるように予め設定されている、
表示装置。
続きを表示(約 160 文字)
【請求項2】
前記撮像画像の外形は矩形であり、前記表示像の外形は曲線を含む、
請求項1に記載の表示装置。
【請求項3】
前記画像処理手段は、前記特定外形を有する前記特定画像を生成するが、前記特定画像に対して前記反射面の形状に起因する歪み補正を行わない、
請求項1又は2に記載の表示装置。
発明の詳細な説明
【技術分野】
【0001】
本開示は、表示装置に関する。
続きを表示(約 1,200 文字)
【背景技術】
【0002】
特許文献1には、カメラにより撮像された外景の撮像画像(例えば車両の後方)をユーザに対して表示する表示装置が記載されている。
【先行技術文献】
【特許文献】
【0003】
特開2022-11370号公報
【発明の概要】
【発明が解決しようとする課題】
【0004】
上記のような外景の撮像画像を、反射面を介してユーザに視認させる構成では、反射面の形状に起因する歪み補正として、撮像画像の全域に亘って画像処理を実行するワーピングという手法が採用されることがある。しかしながら、ワーピングは処理負荷が大きく、撮像してから歪み補正後の映像が表示されるまでにタイムラグが生じる虞がある。
【0005】
本開示は、上記実情に鑑みてなされたものであり、外景の映像表示に係るタイムラグを低減しつつ、表示の歪みの発生をユーザに感じさせにくい表示装置を提供することを目的とする。
【課題を解決するための手段】
【0006】
上記目的を達成するため、本開示に係る表示装置は、
車両に設けられた反射面に向けて特定画像を表す光を発する表示ユニットと、
前記車両に設けられた撮像部によって前記車両の外景を撮像することで得られる撮像画像を取得する画像取得手段と、
前記画像取得手段が取得した前記撮像画像を、前記撮像画像の外形と異なる特定外形で切り出し、切り出した画像を前記特定画像として前記表示ユニットに表示させる画像処理手段と、を備え、
前記反射面で反射した前記光によって前記車両に乗ったユーザに視認される前記特定画像を表示像とすると、
前記特定外形は、前記表示像の外形が、任意の形状となるように予め設定されている。
【発明の効果】
【0007】
本開示によれば、外景の映像表示に係るタイムラグを低減しつつ、表示の歪みの発生をユーザに感じさせにくい表示装置を提供することができる。
【図面の簡単な説明】
【0008】
本開示の一実施形態に係る表示装置の構成図。
同上実施形態に係るフロントガラス及びアイボックスの模式図であって、特定点の例を説明するための図。
同上実施形態に係る特定画像生成処理のフローチャート。
同上実施形態に係る撮像画像と表示像の一例を示す図。
【発明を実施するための形態】
【0009】
本開示の一実施形態について図面を参照して説明する。
【0010】
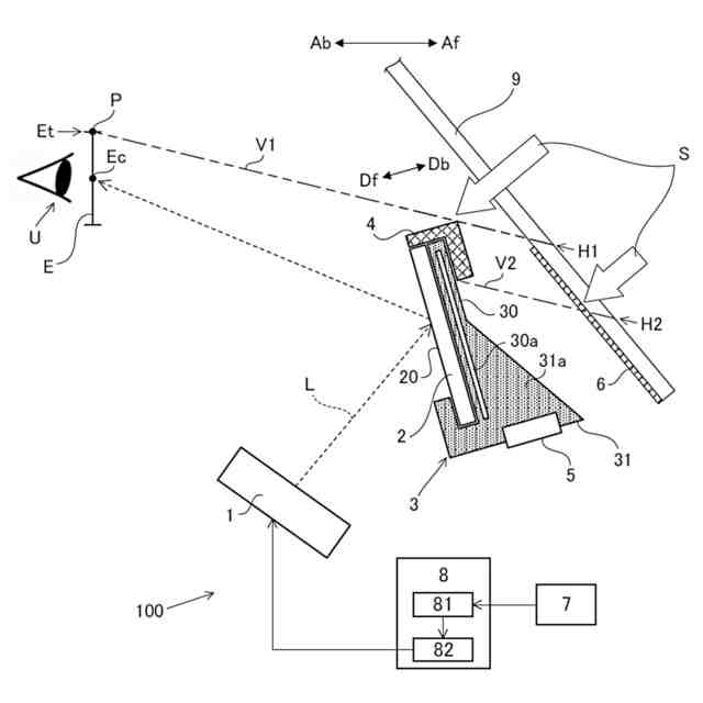
本実施形態に係る表示装置100は、車両(自動車)に搭載され、図1に示すように、表示ユニット1と、反射部2と、ホルダ3と、上部ベゼル4と、冷却装置5と、セラミック形成部6と、撮像部7と、制御部8と、を備える。
(【0011】以降は省略されています)
この特許をJ-PlatPat(特許庁公式サイト)で参照する
関連特許
日本精機株式会社
車載表示装置
2日前
日本精機株式会社
車載表示装置
4日前
日本精機株式会社
車載表示装置
9日前
日本精機株式会社
位置検出装置
1か月前
日本精機株式会社
位置検出装置
1か月前
日本精機株式会社
位置検出装置
1か月前
日本精機株式会社
画像投映装置
24日前
日本精機株式会社
車両用表示装置
24日前
日本精機株式会社
車両用表示装置
2日前
日本精機株式会社
車両用報知装置
8日前
日本精機株式会社
車両用投射装置
29日前
日本精機株式会社
ミラーユニット
2日前
日本精機株式会社
車両用投射装置
22日前
日本精機株式会社
サージ保護回路
24日前
日本精機株式会社
スペックル低減装置
17日前
日本精機株式会社
車両用投射型表示装置
1か月前
日本精機株式会社
ヘッドアップディスプレイ装置
22日前
日本精機株式会社
ヘッドアップディスプレイ装置
17日前
日本精機株式会社
音圧制御装置、及びサウンダーの音圧制御システム、並びにサウンダーの音圧制御方法
10日前
日本精機株式会社
ヘッドアップディスプレイ装置、ヘッドアップディスプレイ装置の制御方法、および表示制御プログラム
10日前
日本精機株式会社
表示制御装置、ヘッドアップディスプレイ装置、表示装置の制御方法、プログラム、および車両用表示システム
10日前
個人
前輪キャスター
2か月前
個人
上部一体型自動車
28日前
個人
タイヤ脱落防止構造
2か月前
個人
空間形成装置
1日前
個人
マスタシリンダ
1か月前
日本精機株式会社
表示装置
2か月前
個人
常設収納型サンバイザー
7日前
日本精機株式会社
車載表示装置
4日前
株式会社ニフコ
照明装置
2か月前
株式会社ニフコ
収納装置
1か月前
日本精機株式会社
車載表示装置
9日前
日本精機株式会社
車室演出装置
2か月前
日本精機株式会社
画像投映装置
24日前
個人
回転窓ワイパー装置
1日前
日本精機株式会社
車載表示装置
1か月前
続きを見る
他の特許を見る