TOP
|
特許
|
意匠
|
商標
特許ウォッチ
Twitter
他の特許を見る
公開番号
2025164298
公報種別
公開特許公報(A)
公開日
2025-10-30
出願番号
2024068140
出願日
2024-04-19
発明の名称
内燃機関の制御装置
出願人
トヨタ自動車株式会社
代理人
弁理士法人中部国際特許事務所
主分類
F02D
13/02 20060101AFI20251023BHJP(燃焼機関;熱ガスまたは燃焼生成物を利用する機関設備)
要約
【課題】排気バルブのポンプアップを抑制することができる内燃機関の制御装置を提供すること。
【解決手段】内燃機関の制御装置70は、少なくとも排気ポート22に設けられて燃焼室30の開閉を行う排気バルブ50の開弁タイミングを変更可能な内燃機関100について、排気ポート22を介して気筒10A内から排出される排ガスに含まれる粒子状物質であるPMを捕集するフィルタ34におけるPMのPM堆積量Wに応じて排気バルブ50の排気ポート22側の圧力である背圧の上昇量を予測する。そして、制御装置70は、PM堆積量Wが所定値以上になって背圧の上昇量が大きくなることが予測される場合、背圧の背圧ピークタイミングに対して、気筒10Aにおける筒内圧力が最小の状態で排気バルブ50を閉じるバルブ閉弁力下限タイミングをずらすように制御する。
【選択図】図1
特許請求の範囲
【請求項1】
少なくとも排気ポートに設けられて燃焼室の開閉を行う排気バルブの開弁タイミングを変更可能な内燃機関に適用され、前記排気ポートを介して気筒内から排出される排ガスに含まれる粒子状物質を捕集するフィルタにおける前記粒子状物質の堆積量に応じて前記排気バルブの前記排気ポート側の圧力である背圧の上昇量を予測する内燃機関の制御装置であって、
前記堆積量が所定値以上になって前記背圧の上昇量が大きくなることが予測される場合、前記背圧が最大になる背圧ピークタイミングに対して、前記気筒における筒内圧力が最小の状態で前記排気バルブを閉じるバルブ閉弁力下限タイミングをずらすように前記開弁タイミングを制御する、内燃機関の制御装置。
発明の詳細な説明
【技術分野】
【0001】
本発明は、内燃機関の制御装置に関する。
続きを表示(約 1,400 文字)
【背景技術】
【0002】
従来から、例えば、特許文献1に開示された内燃機関の排気浄化装置が知られている。従来の排気浄化装置は、所定のフィルタ背圧以上となったときにたまりすぎた粒子状物質を除去し、フィルタ背圧の上昇を抑制するようになっている。
【先行技術文献】
【特許文献】
【0003】
特開平11-280449号公報
【発明の概要】
【発明が解決しようとする課題】
【0004】
ところで、フィルタに粒子状物質が捕集されて粒子状物質の堆積量が増えると、内燃機関における排気ポートに設けられて燃焼室の開閉を行う排気バルブの排気ポート側の圧力である背圧が上昇する場合がある。この場合、排気バルブにおいては、背圧の上昇量に応じて閉まりにくくなる、所謂、ポンプアップが生じる虞がある。
【0005】
本発明の目的は、排気バルブのポンプアップを抑制することができる内燃機関の制御装置を提供することである。
【課題を解決するための手段】
【0006】
本発明の内燃機関の制御装置は、少なくとも排気ポートに設けられて燃焼室の開閉を行う排気バルブの開弁タイミングを変更可能な内燃機関に適用され、排気ポートを介して気筒内から排出される排ガスに含まれる粒子状物質を捕集するフィルタにおける粒子状物質の堆積量に応じて排気バルブの排気ポート側の圧力である背圧の上昇量を予測する内燃機関の制御装置であって、堆積量が所定値以上になって背圧の上昇量が大きくなることが予測される場合、背圧が最大になる背圧ピークタイミングに対して、気筒における筒内圧力が最小の状態で排気バルブを閉じるバルブ閉弁力下限タイミングをずらすように開弁タイミングを制御する。
【発明の効果】
【0007】
本発明の内燃機関の制御装置によれば、背圧ピークタイミングとバルブ閉弁力下限タイミング、即ち、筒内圧力が最小となるタイミングをずらすことができるため、排気バルブのポンプアップを抑制することができる。
【図面の簡単な説明】
【0008】
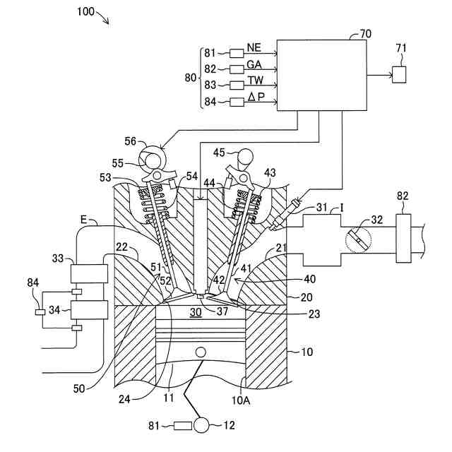
本実施形態の内燃機関の概略的な断面構成図である。
内燃機関の制御装置のブロック図である。
ポンプアップ抑制制御プログラムのフローチャートである。
【発明を実施するための形態】
【0009】
内燃機関100は、シリンダブロック10を備えており、シリンダブロック10には、往復動可能にピストン11を収容した気筒10Aが形成されている。シリンダブロック10の上端には、シリンダヘッド20が連結されている。これにより、内燃機関100においては、気筒10A、ピストン11及びシリンダヘッド20によって燃焼室30が形成される。シリンダヘッド20には、燃焼室30に連通している吸気ポート21及び排気ポート22が形成されている。
【0010】
吸気ポート21の燃焼室30側の開口部は、第一バルブシート23を形成している。そして、吸気ポート21には、燃料噴射弁31が配置されている。燃料噴射弁31は、吸気ポート21に燃料を噴射する。更に、吸気ポート21には、インテークマニホールドIが接続され、インテークマニホールドIの途中にはスロットル弁32が設けられている。スロットル弁32は、吸気ポート21に流入する吸入空気量GAを調整する。
(【0011】以降は省略されています)
この特許をJ-PlatPat(特許庁公式サイト)で参照する
関連特許
個人
バンケル型内燃機関の改良
22日前
スズキ株式会社
車両の制御装置
19日前
スズキ株式会社
車両の制御装置
12日前
本田技研工業株式会社
車両
26日前
本田技研工業株式会社
車両
26日前
トヨタ自動車株式会社
電磁弁
22日前
株式会社クボタ
作業車
12日前
株式会社クボタ
作業車両
27日前
本田技研工業株式会社
内燃機関
26日前
株式会社クボタ
作業車両
12日前
本田技研工業株式会社
内燃機関
27日前
本田技研工業株式会社
始動制御装置
26日前
トヨタ自動車株式会社
車両制御装置
12日前
本田技研工業株式会社
始動制御装置
26日前
トヨタ自動車株式会社
エンジン制御装置
7日前
トヨタ自動車株式会社
電磁弁の制御装置
22日前
本田技研工業株式会社
可変ファンネル装置
26日前
トヨタ自動車株式会社
V型8気筒エンジン
22日前
川崎重工業株式会社
ガスタービンエンジン
8日前
本田技研工業株式会社
内燃機関の吸気構造
27日前
大阪瓦斯株式会社
エンジンシステム
26日前
マツダ株式会社
エンジン
27日前
富士電機株式会社
駆動回路
6日前
株式会社SUBARU
車両
22日前
トヨタ自動車株式会社
水素エンジンの制御装置
6日前
三菱重工業株式会社
燃焼筒の取付方法
12日前
三菱重工業株式会社
動力装置
15日前
スズキ株式会社
多気筒エンジンの制御装置
今日
本田技研工業株式会社
内燃機関の制御装置
27日前
本田技研工業株式会社
内燃機関の制御装置
27日前
三菱重工業株式会社
ガスタービン起動方法
8日前
三菱重工業株式会社
ガスタービン制御方法
19日前
愛三工業株式会社
燃料供給装置
27日前
マツダ株式会社
エンジンの制御装置
27日前
個人
タービン入口温度を下げて推力を増すターボファン・エンジン
21日前
三菱自動車工業株式会社
内燃機関
27日前
続きを見る
他の特許を見る