TOP
|
特許
|
意匠
|
商標
特許ウォッチ
Twitter
他の特許を見る
公開番号
2025155377
公報種別
公開特許公報(A)
公開日
2025-10-14
出願番号
2024059182
出願日
2024-04-01
発明の名称
電磁弁
出願人
トヨタ自動車株式会社
代理人
個人
,
個人
主分類
F02M
21/02 20060101AFI20251006BHJP(燃焼機関;熱ガスまたは燃焼生成物を利用する機関設備)
要約
【課題】開閉動作に伴う電磁弁の摩耗を抑える。
【解決手段】内燃機関の燃料供給系に設けられる第2遮断弁22は、内部に潤滑油を供給する油室270を備える。
【選択図】図3
特許請求の範囲
【請求項1】
内燃機関の燃料供給系に設けられる電磁弁であって、
当該電磁弁の内部に潤滑油を供給する油室を備える電磁弁。
続きを表示(約 700 文字)
【請求項2】
前記電磁弁は、
ハウジングと
ステータと、
前記ステータの外周側に設けられる電磁コイルと、
バルブと、を有しており、
前記バルブは、前記ステータ内を移動するプランジャと、前記プランジャの移動により燃料通路を開閉するシール部材と、を有しており、
前記ステータ内には、前記油室と、前記バルブの開動作により前記油室の容積を縮小するピストンとが備えられており、
前記ピストンは、前記油室内の圧力が既定の圧力以上になると前記油室から前記ステータ内への前記潤滑油の供給を許容する逆止弁を有する
請求項1に記載の電磁弁。
【請求項3】
前記バルブを第1バルブとし、前記燃料通路を第1燃料通路とし、前記シール部材を第1シール部材としたときに、
前記電磁弁は、
前記第1燃料通路よりも流路断面積が大きい燃料通路であって、前記第1燃料通路に繋がるとともに第2シール部材によって開閉される第2燃料通路と、
前記ハウジングに設けられるホルダと、
前記ホルダの内周面に摺動可能に収納されており、前記第2シール部材を有する第2バルブと、を有しており、
前記第2バルブは、前記第1バルブの外周面が摺動する孔を有する
請求項2に記載の電磁弁。
【請求項4】
電磁弁の開閉駆動を繰り返し行うことにより燃料の圧力を制御する燃圧制御に適用される
請求項1に記載の電磁弁。
【請求項5】
前記内燃機関の燃料は気体燃料である
請求項1に記載の電磁弁。
発明の詳細な説明
【技術分野】
【0001】
本発明は、電磁弁に関するものである。
続きを表示(約 1,400 文字)
【背景技術】
【0002】
例えば特許文献1に記載の内燃機関は、タンクに貯留された気体燃料の燃圧を減圧して燃料噴射弁に供給するようにしている。
【先行技術文献】
【特許文献】
【0003】
特開2022-182969号公報
【発明の概要】
【発明が解決しようとする課題】
【0004】
上述したような燃圧制御として、例えば以下のような制御を行うことが考えられる。
すなわち、燃料を貯蔵するタンクと気筒に燃料を供給する燃料噴射弁とを繋ぐ燃料通路に当該燃料通路を開閉する電磁弁を設ける。そして、目標とする燃圧に対して、許容できる上限値及び下限値を設定する。電磁弁が閉弁している状態で燃料噴射弁からの燃料噴射が行われると、電磁弁よりも下流の燃料通路からは燃料が流出するため、電磁弁よりも下流の燃圧は低下する。この下流の燃圧が下限値に達すると電磁弁を開弁駆動する。この電磁弁の開弁駆動により当該電磁弁よりも下流の燃料通路には燃料が供給されるため、電磁弁よりも下流の燃圧は上昇する。そして、当該下流の燃圧が上限値に達すると電磁弁を閉弁駆動する。こうした電磁弁の開閉駆動を繰り返し行うことにより、電磁弁よりも下流の燃圧であって燃料噴射弁に供給される燃料の圧力は、上限値及び下限値で挟まれる既定の範囲内の燃圧となるように調整される。
【0005】
ここで、電磁弁の開閉駆動を繰り返し行うと、その開閉動作に伴って電磁弁の摺動部などでは摩耗が進むおそれがある。なお、燃圧制御を行わない場合でも、電磁弁の開閉駆動を長期間にわたって繰り返し行えば、電磁弁の摺動部などでは摩耗が進むおそれがある。
【課題を解決するための手段】
【0006】
上記課題を解決する電磁弁は、内燃機関の燃料供給系に設けられる電磁弁であって、当該電磁弁の内部に潤滑油を供給する油室を備える。
【発明の効果】
【0007】
この電磁弁は、開閉動作に伴う電磁弁の摩耗を抑えることができる。
【図面の簡単な説明】
【0008】
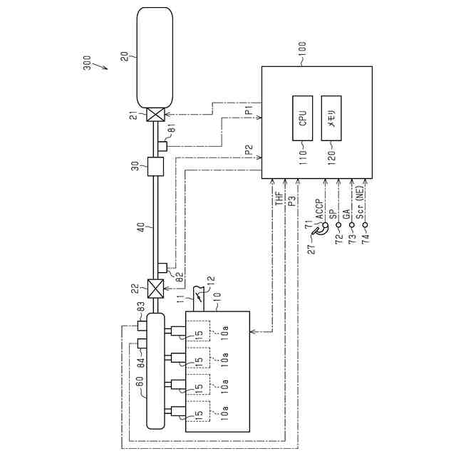
図1は、一実施形態における電磁弁が適用される内燃機関及び燃料供給系及び制御装置を示す模式図である。
図2は、同実施形態の燃圧制御を示すタイミングチャートである。図2(a)は燃圧の変化、図2(b)は第2遮断弁の動作状態をそれぞれ示している。
図3は、同実施形態の第2遮断弁の構造を示す断面図である。
図4は、同実施形態の第2遮断弁における潤滑経路を示す図である。
【発明を実施するための形態】
【0009】
以下、電磁弁を具体化した一実施形態について、図1~図4を参照して説明する。
<内燃機関及び燃料供給装置及び制御装置>
図1に示す内燃機関10は、車両に搭載されており、気体燃料である水素ガスを燃料とする内燃機関である。
【0010】
内燃機関10の吸気通路11には、吸入空気量を調整するスロットル弁12が設けられている。
内燃機関10が備える燃料供給装置300は、燃料噴射弁15、タンク20、燃料配管40、第1遮断弁21、第2遮断弁22、減圧弁30、及びデリバリパイプ60を有している。
(【0011】以降は省略されています)
この特許をJ-PlatPat(特許庁公式サイト)で参照する
関連特許
個人
バンケル型内燃機関の改良
1日前
本田技研工業株式会社
車両
5日前
本田技研工業株式会社
車両
5日前
トヨタ自動車株式会社
電磁弁
1日前
本田技研工業株式会社
内燃機関
5日前
株式会社クボタ
作業車両
6日前
本田技研工業株式会社
内燃機関
6日前
本田技研工業株式会社
始動制御装置
5日前
個人
流体式推力方向制御装置
16日前
本田技研工業株式会社
始動制御装置
5日前
トヨタ自動車株式会社
閾値の設定装置
16日前
トヨタ自動車株式会社
エンジン制御装置
12日前
トヨタ自動車株式会社
電磁弁の制御装置
1日前
大阪瓦斯株式会社
エンジンシステム
5日前
本田技研工業株式会社
内燃機関の吸気構造
6日前
トヨタ自動車株式会社
V型8気筒エンジン
1日前
本田技研工業株式会社
可変ファンネル装置
5日前
株式会社デンソートリム
エンジン制御装置
12日前
日産自動車株式会社
内燃機関
12日前
日産自動車株式会社
内燃機関
12日前
マツダ株式会社
エンジン
6日前
トヨタ自動車株式会社
内燃機関の燃料供給装置
16日前
トヨタ自動車株式会社
内燃機関の燃料供給装置
12日前
トヨタ自動車株式会社
インジェクタの制御装置
14日前
トヨタ自動車株式会社
エンジン制御装置
16日前
株式会社SUBARU
車両
1日前
ヤンマーホールディングス株式会社
エンジン装置
14日前
大阪瓦斯株式会社
発電設備、及び発電方法
14日前
ヤンマーホールディングス株式会社
エンジン装置
14日前
ヤンマーホールディングス株式会社
エンジン装置
14日前
本田技研工業株式会社
内燃機関の制御装置
6日前
ヤンマーホールディングス株式会社
エンジン装置
14日前
ヤンマーホールディングス株式会社
エンジン装置
14日前
ヤンマーホールディングス株式会社
エンジン装置
14日前
本田技研工業株式会社
内燃機関の制御装置
6日前
ヤンマーホールディングス株式会社
エンジン装置
14日前
続きを見る
他の特許を見る