TOP
|
特許
|
意匠
|
商標
特許ウォッチ
Twitter
他の特許を見る
公開番号
2025155222
公報種別
公開特許公報(A)
公開日
2025-10-14
出願番号
2024058909
出願日
2024-04-01
発明の名称
V型8気筒エンジン
出願人
トヨタ自動車株式会社
代理人
個人
,
個人
主分類
F02F
7/00 20060101AFI20251006BHJP(燃焼機関;熱ガスまたは燃焼生成物を利用する機関設備)
要約
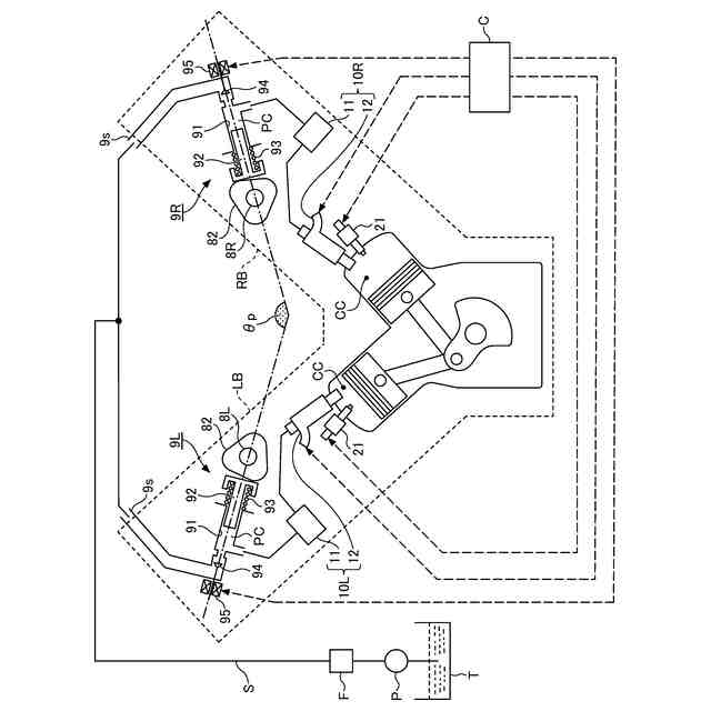
【課題】本開示は、エンジンバランシング設計を乱すことなく回転1.5次の左右振動を抑制可能なV型8気筒エンジンを提供する。
【解決手段】V型8気筒エンジンは、8つの気筒が左右のバンクLB,RBに分けて配列されて各々のバンクLB,RBの気筒が不等間隔で点火される。V型8気筒エンジンは、左右のバンクLB,RBに設けられた左右の燃料ポンプ9L,9Rが、左右のバンクLB,RBの両側に配置された機関バルブよりも広い角度θpで設置されている。
【選択図】図2
特許請求の範囲
【請求項1】
8つの気筒が左右のバンクに分けて配列されて各々のバンクの気筒が不等間隔で点火されるV型8気筒エンジンであって、
前記左右のバンクに設けられた左右の燃料ポンプは、前記左右のバンクの両側に配置された機関バルブよりも広い角度で設置されている、
V型8気筒エンジン。
発明の詳細な説明
【技術分野】
【0001】
本開示は、V型8気筒エンジンに関する。
続きを表示(約 1,000 文字)
【背景技術】
【0002】
従来、V型エンジンのバランサ構造に係る発明が知られている(例えば、下記特許文献1)。特許文献1に記載されたV型エンジンのバランサ構造は、V型エンジンのクランクシャフトと平行にバランサシャフトを軸支して設けた構成を有している。
【0003】
バランサシャフトは、クランクシャフトに対して逆回転方向かつ同回転速度で回転されることにより、60度V型8気筒エンジンにおける振動の原因となる慣性偶力をキャンセルすることができ、振動騒音を低減することができる。
【先行技術文献】
【特許文献】
【0004】
特開2003-042230号公報
【発明の概要】
【発明が解決しようとする課題】
【0005】
V型8気筒エンジンでは、クロスプレーン式クランクシャフトによる左右バンクの不等間隔爆発に起因する回転1.5次の左右振動が発生して車体振動が生じ、アイドル振動を発生させる原因となっている。しかし、その対策として既存のエンジンの形状(ジオメトリ)、動弁系の配列順序及び作動順序を変更することは、エンジンバランシング設計を乱す要因になる。
【0006】
本開示は、エンジンバランシング設計を乱すことなく回転1.5次の左右振動を抑制可能なV型8気筒エンジンを提供する。
【課題を解決するための手段】
【0007】
本開示の一つの態様は、8つの気筒が左右のバンクに分けて配列されて各々のバンクの気筒が不等間隔で点火されるV型8気筒エンジンであって、前記左右のバンクに設けられた左右の燃料ポンプは、前記左右のバンクの両側に配置された機関バルブよりも広い角度で設置されている、V型8気筒エンジンを提供する。
【発明の効果】
【0008】
本開示の上記態様によれば、エンジンバランシング設計を乱すことなく回転1.5次の左右振動を抑制可能なV型8気筒エンジンを提供することができる。
【図面の簡単な説明】
【0009】
本開示に係るV型8気筒エンジンの実施形態を示す概略構成図。
図1のV型8気筒エンジンの燃料供給系を示す概略構成図。
【発明を実施するための形態】
【0010】
以下、図面を参照して発明を実施するための形態について説明する。
(【0011】以降は省略されています)
この特許をJ-PlatPat(特許庁公式サイト)で参照する
関連特許
トヨタ自動車株式会社
方法
1日前
トヨタ自動車株式会社
車両
今日
トヨタ自動車株式会社
椅子
1日前
トヨタ自動車株式会社
車両
5日前
トヨタ自動車株式会社
方法
1日前
トヨタ自動車株式会社
加熱器
5日前
トヨタ自動車株式会社
固定子
6日前
トヨタ自動車株式会社
電動車
1日前
トヨタ自動車株式会社
電磁弁
1日前
トヨタ自動車株式会社
製造装置
6日前
トヨタ自動車株式会社
車載装置
5日前
トヨタ自動車株式会社
判定装置
1日前
トヨタ自動車株式会社
監視装置
6日前
トヨタ自動車株式会社
通話装置
5日前
トヨタ自動車株式会社
制御装置
5日前
トヨタ自動車株式会社
車両構造
5日前
トヨタ自動車株式会社
蓄電装置
5日前
トヨタ自動車株式会社
三角表示板
5日前
トヨタ自動車株式会社
ガスタンク
5日前
トヨタ自動車株式会社
車両制御装置
1日前
トヨタ自動車株式会社
車両制御装置
1日前
トヨタ自動車株式会社
車両前部構造
1日前
トヨタ自動車株式会社
伐倒支援装置
1日前
トヨタ自動車株式会社
電池システム
5日前
トヨタ自動車株式会社
情報処理装置
5日前
トヨタ自動車株式会社
車両下部構造
1日前
トヨタ自動車株式会社
情報処理装置
6日前
トヨタ自動車株式会社
被膜形成装置
6日前
トヨタ自動車株式会社
車両制御装置
1日前
トヨタ自動車株式会社
計測システム
今日
トヨタ自動車株式会社
車両下部構造
1日前
トヨタ自動車株式会社
制御システム
5日前
トヨタ自動車株式会社
車載システム
5日前
トヨタ自動車株式会社
情報処理装置
5日前
トヨタ自動車株式会社
車両の判定装置
今日
トヨタ自動車株式会社
車両の制御装置
1日前
続きを見る
他の特許を見る