TOP
|
特許
|
意匠
|
商標
特許ウォッチ
Twitter
他の特許を見る
公開番号
2025033966
公報種別
公開特許公報(A)
公開日
2025-03-13
出願番号
2023140049
出願日
2023-08-30
発明の名称
硫黄成分検出方法
出願人
福井県
,
国立大学法人福井大学
代理人
弁理士法人大手門国際特許事務所
主分類
G01N
27/416 20060101AFI20250306BHJP(測定;試験)
要約
【課題】本発明は、電極センサを用いて検体中の硫黄化合物等の硫黄成分を簡単に短時間で検出することができる硫黄成分検出方法を提供することを目的とする。
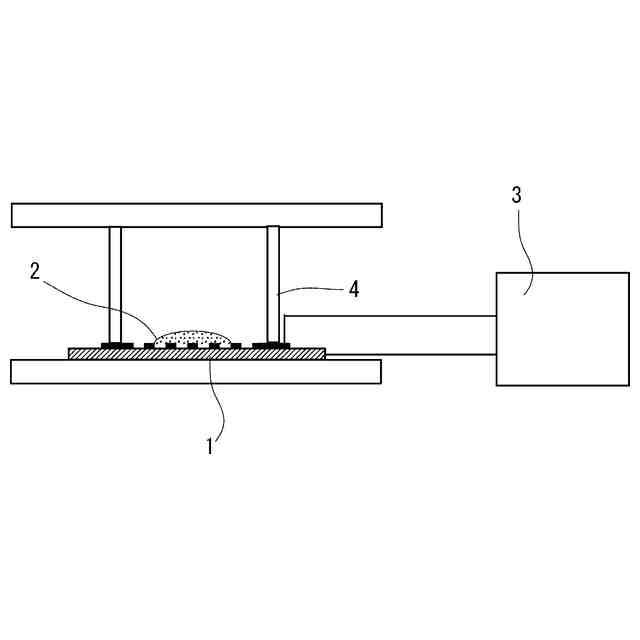
【解決手段】本発明に係る硫黄成分検出方法は、アノード電極体10及びカソード電極体12を絶縁体11を介して一体形成された電極センサ1を用いて検体2中の硫黄成分を検出する硫黄成分検出方法であって、検体2を両電極体に接触させた状態で、検体2中の硫黄成分とアノード電極体10との間で生じる電気化学反応により両電極体の間に流れるガルバニック電流を測定し、測定された電流値に基づいて検体2中の硫黄成分を検出する。
【選択図】図1
特許請求の範囲
【請求項1】
アノード電極体及びカソード電極体を絶縁体を介して一体形成された電極センサを用いて検体中の硫黄成分を検出する硫黄成分検出方法であって、前記検体を両電極体に接触させた状態で、前記検体中の硫黄成分と前記アノード電極体との間で生じる電気化学反応により両電極体の間に流れるガルバニック電流を測定し、測定された電流値に基づいて前記検体中の硫黄成分を検出する硫黄成分検出方法。
続きを表示(約 610 文字)
【請求項2】
前記検体は、生体組織由来の硫黄化合物を含んでいる請求項1に記載の硫黄成分検出方法。
【請求項3】
前記検体は、生物の代謝物由来の硫黄化合物を含んでいる請求項1又は2に記載の硫黄成分検出方法。
【請求項4】
前記アノード電極体は、少なくとも前記検体と接触する露出表面が銀で被覆されており、銀及び硫黄成分の間に生じる電気化学反応に伴って露出表面に硫黄化合物が生成する請求項1又は2に記載の硫黄成分検出方法。
【請求項5】
前記アノード電極体は、少なくとも前記露出表面に厚さ10μm以上の銀からなる層で被覆されている請求項4に記載の硫黄成分検出方法。
【請求項6】
請求項4に記載の硫黄成分検出方法において使用された前記電極センサの再生方法であって、前記アノード電極体の前記露出表面に生成した硫黄化合物を還元反応により除去する電極センサの再生方法。
【請求項7】
前記アノード電極体を電解液中で通電することで生じる還元反応により前記露出表面に生成した硫黄化合物を除去する請求項6に記載の電極センサの再生方法。
【請求項8】
前記アノード電極体の少なくとも前記露出表面に対してチオ尿素を含む硫酸溶液に接触させることで生じる還元反応により前記露出表面に生成した硫黄化合物を除去する請求項6に記載の電極センサの再生方法。
発明の詳細な説明
【技術分野】
【0001】
本発明は、電極センサを用いて検体中の微量の硫黄化合物を検出する硫黄成分検出方法に関する。
続きを表示(約 1,800 文字)
【背景技術】
【0002】
硫黄(元素記号;S)は、生命活動に必須の元素として知られており、生体組織内において様々な硫黄化合物が重要な生体機能を担っている。そして、生体組織内の幅広い酸化還元反応に硫黄が関与していることが知られており、硫黄成分を検出することで、生体組織内の酸化還元反応を分析することが試みられている。
【0003】
例えば、特許文献1では、蛍光X線分析装置を用いて、被検者が採取可能な被検者由来の生体液に含まれるメチニオン由来の硫黄の含有比率を測定する点が記載されている。また、特許文献2では、呼気中の硫黄代謝物に基づいて感染症診断を行うために、呼気から回収した呼気凝縮液に処理液を添加した溶液を用いて、質量分析装置により硫黄代謝物を定量的に分析する点が記載されている。また、特許文献3では、銀粒子が露出している検知層を有する硫黄化合物センサーを用いて、検知層に液状又はペースト状の検体を直接接触させ、分光測定器により透過又は反射スペクトルを測定して硫黄化合物を検出する点が記載されている。
【0004】
本発明者らは、特許文献4に示すように、アノード電極体及びカソード電極体を絶縁体を介して一体形成された電極センサを培地に接触させた状態で両電極体の間に流れるガルバニック電流を測定して培地中の微生物の代謝物による電流変化を検出する微生物検出装置を提案している。こうした電極センサを用いることで、培地中の微生物から生じる代謝物による微小な電流変化を検出して微生物を簡易に精度よく検出することが可能となった。
【先行技術文献】
【特許文献】
【0005】
特許第6734489号公報
特開2022-178150号公報
再表2019/167567
特許第6804063号公報
【発明の概要】
【発明が解決しようとする課題】
【0006】
特許文献1から3では、硫黄化合物を検出するために、蛍光X線分析装置等の分析機器が必要となり、特許文献2に記載されているように、処理液を添加するといった前処理を行わなければならず、簡単かつ迅速に検出処理を行うことが難しいといった課題がある。
【0007】
特に、生体組織内での酸化還元反応を分析するには、生体反応にできるだけ影響を与えないで分析することが望ましいが、従来の検出方法では、検体の抽出や前処理といった工程が必要となり、工程を行う際に生体反応に影響が及びやすいといった課題がある。
【0008】
そこで、本発明は、電極センサを用いて検体中の硫黄化合物等の硫黄成分を簡単に短時間で検出することができる硫黄成分検出方法を提供することを目的とする。
【課題を解決するための手段】
【0009】
本発明に係る硫黄成分検出方法は、アノード電極体及びカソード電極体を絶縁体を介して一体形成された電極センサを用いて検体中の硫黄成分を検出する硫黄成分検出方法であって、前記検体を両電極体に接触させた状態で、前記検体中の硫黄成分と前記アノード電極体との間で生じる電気化学反応により両電極体の間に流れるガルバニック電流を測定し、測定された電流値に基づいて前記検体中の硫黄成分を検出する。さらに、前記検体は、生体組織由来の硫黄化合物を含んでいる。さらに、前記検体は、生物の代謝物由来の硫黄化合物を含んでいる。さらに、前記アノード電極体は、少なくとも前記検体と接触する露出表面が銀で被覆されており、銀及び硫黄成分の間に生じる電気化学反応に伴って露出表面に硫黄化合物が生成する。さらに、前記アノード電極体は、少なくとも前記露出表面に厚さ10μm以上の銀からなる層で被覆されている。
【発明の効果】
【0010】
本発明によれば、検体中の硫黄成分とアノード電極体との間で生じる電気化学反応がアノード電極体及びカソード電極体の間に流れるガルバニック電流に反映されることから、測定されたガルバニック電流に基づいて検体中の微量の硫黄成分を検出することができる。そして、電極センサを検体に接触させた状態にするだけで検出でき、前処理等の工程を行う必要がないことから、簡単で短時間に検体中の硫黄成分を検出することが可能となる。
【図面の簡単な説明】
(【0011】以降は省略されています)
特許ウォッチbot のツイートを見る
この特許をJ-PlatPat(特許庁公式サイト)で参照する
関連特許
福井県
硫黄成分検出方法
6か月前
福井県
子宮止血用セット器具
5か月前
福井県
微生物量判定装置及び方法
6か月前
福井県
繊維束の開繊方法及び装置
9か月前
池田食研株式会社
抗疲労用組成物
3か月前
公立大学法人福井県立大学
ナチュラルチーズ及びその製造方法
6か月前
福井県
重ね合わせシート及び遮光カーテン、生地が横ズレする方法
5日前
福井県
レーザ光走査式発光織物、および光ファイバ織物の発光方法
7日前
フクビ化学工業株式会社
CNF含有樹脂成形体の製造方法
10か月前
福井県
セルロースナノファイバーの製造方法、アルコール系CNF分散液、及びCNF含有樹脂成形体の製造方法
28日前
伊澤タオル株式会社
糊剤付き繊維品、糊剤、糊剤付き繊維品を製造する方法、及び繊維品を製造する方法
1か月前
伊澤タオル株式会社
糊剤付き繊維品、糊剤、糊剤付き繊維品を製造する方法、及び繊維品を製造する方法
12か月前
個人
計量スプーン
27日前
個人
微小振動検出装置
1か月前
株式会社イシダ
X線検査装置
1か月前
日本精機株式会社
位置検出装置
5日前
日本精機株式会社
位置検出装置
5日前
日本精機株式会社
位置検出装置
5日前
大和製衡株式会社
組合せ秤
10日前
大和製衡株式会社
組合せ秤
10日前
アズビル株式会社
圧力センサ
4日前
ダイハツ工業株式会社
測定用具
1か月前
株式会社東芝
センサ
10日前
株式会社東芝
センサ
10日前
エイブリック株式会社
磁気センサ回路
4日前
株式会社ユーシン
操作検出装置
7日前
トヨタ自動車株式会社
表示装置
19日前
株式会社東芝
センサ
1か月前
アンリツ株式会社
分光器
1か月前
トヨタ自動車株式会社
検査装置
7日前
アンリツ株式会社
分光器
1か月前
個人
粘塑性を用いた有限要素法の定式化
19日前
株式会社精工技研
光電圧プローブ
1か月前
株式会社ヨコオ
コンタクタ
1か月前
東レエンジニアリング株式会社
計量装置
7日前
TDK株式会社
ガスセンサ
1か月前
続きを見る
他の特許を見る