TOP
|
特許
|
意匠
|
商標
特許ウォッチ
Twitter
他の特許を見る
公開番号
2025036927
公報種別
公開特許公報(A)
公開日
2025-03-17
出願番号
2023143591
出願日
2023-09-05
発明の名称
真空浸炭装置
出願人
中外炉工業株式会社
代理人
個人
,
個人
主分類
C23C
8/20 20060101AFI20250310BHJP(金属質材料への被覆;金属質材料による材料への被覆;化学的表面処理;金属質材料の拡散処理;真空蒸着,スパッタリング,イオン注入法,または化学蒸着による被覆一般;金属質材料の防食または鉱皮の抑制一般)
要約
【課題】浸炭ガスを過剰に供給することなく、上流側および下流側での浸炭ばらつきを低減する、真空浸炭装置を提供する。
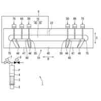
【解決手段】ワーク8を収納する炉体2と、炉体2の内部にガスを供給する複数の供給口41,42,43と、浸炭ガスG1の供給流量を制御する浸炭ガス流量コントローラ13と、浸炭ガス流量コントローラ13と供給口との間にそれぞれ配設されて、ガスの流路を開閉する複数の開閉弁31,32,33と、炉体2の内部のガスを排出する排出口51と、を備え、複数の開閉弁のうちの少なくとも1つの開閉弁を閉にすることによって、真空浸炭処理を行う。
【選択図】図1
特許請求の範囲
【請求項1】
ワークを収納する炉体と、
前記炉体の内部にガスを供給する複数の供給口と、
浸炭ガスの供給流量を制御する浸炭ガス流量コントローラと、
前記浸炭ガス流量コントローラと前記供給口との間にそれぞれ配設されて、ガスの流路を開閉する複数の開閉弁と、
前記炉体の内部のガスを排出する排出口と、を備え、
前記複数の開閉弁のうちの少なくとも1つの開閉弁を閉にすることによって、真空浸炭処理を行うことを特徴とする、真空浸炭装置。
続きを表示(約 500 文字)
【請求項2】
前記真空浸炭処理は、前記浸炭ガス流量コントローラによる前記浸炭ガスの供給流量が一定の下で、行うことを特徴とする、請求項1に記載の真空浸炭装置。
【請求項3】
前記複数の開閉弁のうちのいずれかの開閉弁の閉が、順次切り替えられることを特徴とする、請求項1に記載の真空浸炭装置。
【請求項4】
前記開閉弁の開閉を切り替える弁切替間隔は、1秒~15秒であることを特徴とする、請求項3に記載の真空浸炭装置。
【請求項5】
前記真空浸炭処理の際に用いられた前記浸炭ガスを追い出すパージ処理を行うためのパージガスの供給流量を制御するパージガス流量コントローラと、をさらに備え、
前記パージ処理は、前記パージガスの供給流量を少なくする少流量パージ期間を有することを特徴とする、請求項1に記載の真空浸炭装置。
【請求項6】
前記少流量パージ期間は、前記パージガスの供給開始を起点にして、前記炉体の内部における前記浸炭ガスの濃度が5%以下になるのに要する時間として規定されることを特徴とする、請求項5に記載の真空浸炭装置。
発明の詳細な説明
【技術分野】
【0001】
この発明は、真空浸炭装置に関する。
続きを表示(約 1,400 文字)
【背景技術】
【0002】
真空浸炭装置の従来技術として、例えば、特許文献1および特許文献2は、浸炭ガスを複数の供給口から一方向に噴射することを開示する。特許文献3は、多数個で設置された供給口を通じた浸炭ガスの供給を時間差で切換えることを開示する。特許文献4は、浸炭ガスの届きにくい場所を対象とする供給口を設けることを開示する。
【0003】
ところで、真空浸炭装置において、浸炭ガスは上流側(供給口側)から下流側(排出口側)に流れるために浸炭ガスが上流側のワークによって先に消費されるので、下流側の浸炭ガス濃度は、上流側の浸炭ガス濃度よりも低くなる。そのため、適切な浸炭ガス濃度が下流側でも得られるように、浸炭ガスは、ワークの総表面積から算出される適正量よりも過剰に供給されることが多い。
【先行技術文献】
【特許文献】
【0004】
特開平9-268365号公報
特開2005-206895号公報
特開2000-336469号公報
特開2019-85623号公報
【発明の概要】
【発明が解決しようとする課題】
【0005】
浸炭ガスを適正量よりも過剰に供給する場合、ランニングコストが増加するとともに、炉内や排気系において炭素系成分の付着量が多くなるために装置のメンテナンス頻度が高くなるという問題がある。他方、浸炭ガス量の供給量が不足する場合、浸炭ガスが届きにくい下流側において浸炭不良のワークが発生しやすくなる。
【0006】
浸炭ガスを過剰に供給することなく、上流側および下流側での浸炭ばらつきを低減する真空浸炭装置が望まれている。
【0007】
そこで、この発明の課題は、浸炭ガスを過剰に供給することなく、上流側および下流側での浸炭ばらつきを低減する真空浸炭装置を提供することである。
【課題を解決するための手段】
【0008】
上記課題を解決するため、この発明の一態様に係る真空浸炭装置は、
ワークを収納する炉体と、
前記炉体の内部にガスを供給する複数の供給口と、
浸炭ガスの供給流量を制御する浸炭ガス流量コントローラと、
前記浸炭ガス流量コントローラと前記供給口との間にそれぞれ配設されて、ガスの流路を開閉する複数の開閉弁と、
前記炉体の内部のガスを排出する排出口と、を備え、
前記複数の開閉弁のうちの少なくとも1つの開閉弁を閉にすることによって、真空浸炭処理を行うことを特徴とする。
【発明の効果】
【0009】
この発明によれば、浸炭ガスを過剰に供給することなく、適切な真空浸炭処理を可能とする高濃度の浸炭ガスが下流側にも届けられて、上流側および下流側での浸炭ばらつきを低減できる。
【図面の簡単な説明】
【0010】
実施の形態1に係る真空浸炭装置および真空浸炭処理を模式的に説明する図である。
図1に示した真空浸炭装置を用いた他の真空浸炭処理を説明する図である。
真空浸炭処理の後に行われるパージ処理を説明する図である。
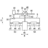
実施の形態2に係る真空浸炭装置を模式的に説明する図である。
図4に示した真空浸炭装置を用いたパージ処理を説明する図である。
【発明を実施するための形態】
(【0011】以降は省略されています)
この特許をJ-PlatPat(特許庁公式サイト)で参照する
関連特許
中外炉工業株式会社
熱処理炉
3日前
中外炉工業株式会社
ガス発生装置及び窒化装置
23日前
中外炉工業株式会社
ラダー回路生成支援プログラム及び装置
1か月前
個人
フッ素樹脂塗装鋼板の保管方法
2か月前
株式会社京都マテリアルズ
めっき部材
3日前
株式会社三愛工業所
アルミニウム材
4か月前
株式会社オプトラン
蒸着装置
5か月前
株式会社KSマテリアル
防錆組成物
2か月前
日本化学産業株式会社
複合めっき皮膜
1か月前
台灣晶技股ふん有限公司
無電解めっき法
29日前
日東電工株式会社
積層体の製造方法
4か月前
東京エレクトロン株式会社
成膜方法
21日前
JFEスチール株式会社
鋼部品
2か月前
住友重機械工業株式会社
成膜装置
2か月前
信越半導体株式会社
真空蒸着方法
4か月前
東京エレクトロン株式会社
基板処理装置
5か月前
東京エレクトロン株式会社
基板処理装置
5か月前
東京エレクトロン株式会社
基板処理装置
3か月前
株式会社内村
防食具、防食具の設置方法
23日前
住友重機械工業株式会社
成膜装置
3か月前
DOWAサーモテック株式会社
浸炭方法
4か月前
黒崎播磨株式会社
溶射装置
7日前
株式会社アルバック
基板ステージ装置
今日
国立大学法人千葉大学
成膜装置及び成膜方法
27日前
株式会社デンソー
接合体
13日前
フジタ技研株式会社
被覆部材、及び、表面被覆金型
1日前
株式会社アルバック
成膜装置、および搬送方法
1か月前
黒崎播磨株式会社
溶射用ランス
4か月前
ケニックス株式会社
蒸発源装置
1か月前
川崎重工業株式会社
水素遮蔽膜
1か月前
株式会社神戸製鋼所
成膜方法
2か月前
学校法人静岡理工科大学
放電被覆装置及び放電被覆方法
1か月前
株式会社アルバック
真空蒸着装置、真空蒸着方法
1か月前
株式会社カネカ
製膜装置
5か月前
東京エレクトロン株式会社
成膜方法及び成膜装置
21日前
東京エレクトロン株式会社
成膜方法及び成膜装置
4か月前
続きを見る
他の特許を見る