TOP
|
特許
|
意匠
|
商標
特許ウォッチ
Twitter
他の特許を見る
10個以上の画像は省略されています。
公開番号
2025062232
公報種別
公開特許公報(A)
公開日
2025-04-14
出願番号
2023171160
出願日
2023-10-02
発明の名称
金属板結合方法
出願人
太陽工業株式会社
代理人
主分類
F16B
5/04 20060101AFI20250407BHJP(機械要素または単位;機械または装置の効果的機能を生じ維持するための一般的手段)
要約
【課題】
本発明は、異種材料同士であっても高強度かつ高精度で結合することが可能な金属板結合方法を提供することを課題とする。
【解決手段】
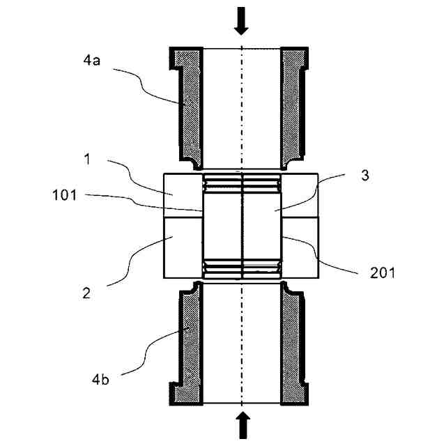
本発明による金属板結合方法は、上下に積層した複数の金属板の同一個所に貫通孔を形成し、前記貫通孔の断面形状とほぼ等しい断面形状を有し前記いずれの金属板よりも硬度の高いプラグを前記貫通孔に挿入し、前記積層した金属板のうち少なくとも最外側の2枚の金属板表面上における前記プラグの周囲を加圧してそれぞれの金属板を前記プラグの表面方向に塑性変形させてプラグに対する締め付け応力を与えることにより、前記プラグを通して前記複数の金属板を結合することを特徴とする。
【選択図】 図1
特許請求の範囲
【請求項1】
上下に積層した複数の金属板の同一個所に貫通孔を形成し、前記貫通孔の断面形状とほぼ等しい断面形状を有し前記いずれの金属板よりも硬度の高いプラグを前記貫通孔に挿入し、前記積層した金属板のうち少なくとも最外側の2枚の金属板表面上における前記プラグの周囲を加圧してそれぞれの金属板を前記プラグの表面方向に塑性変形させてプラグに対する締め付け応力を与えることにより、前記プラグを通して前記複数の金属板を結合することを特徴とする金属板結合方法。
続きを表示(約 1,100 文字)
【請求項2】
前記複数の金属板が第1及び第2の金属板であり、前記第1の金属板上の貫通孔に前記プラグを挿入し、前記第1の金属板上の前記プラグの周囲を加圧することにより、前記第1の金属板と前記プラグを結合させ、次に前記第2の金属板の貫通孔に前記第1の金属板と結合した前記プラグを嵌挿した後、前記第2の金属板上における前記プラグの周囲を加圧することにより、前記第2の金属板と前記プラグとを結合させることにより、結果として前記第1及び第2の金属板を結合することを特徴とする請求項1記載の金属板結合方法。
【請求項3】
前記複数の金属板が第1、第2及び第3の金属板であり、前記第1の金属板上の貫通孔に前記プラグを挿入し、前記第1の金属板上の前記プラグの周囲を加圧することにより、前記第1の金属板と前記プラグを結合させ、次に前記第2の金属板の貫通孔に前記第1の金属板と結合した前記プラグを嵌挿した後、前記第2の金属板上における前記プラグの周囲を加圧することにより、前記第2の金属板と前記プラグとを結合させ、さらに前記第3の金属板の貫通孔に前記第1及び第2の金属板と結合した前記プラグを嵌挿した後、前記第3の金属板上における前記プラグの周囲を加圧することにより、前記第3の金属板と前記プラグとを結合させることにより、結果として前記第1、第2及び第3の金属板を結合することを特徴とする請求項1記載の金属板結合方法。
【請求項4】
前記複数の金属板が第1及び第2の金属板であり、前記第1の金属板と前記第2の金属板を積層して積層体とし、それぞれの貫通孔の位置を合わせて前記プラグを挿入し、両側より前記積層体表面における前記プラグの周囲を同時に加圧することにより前記第1及び第2の金属板を結合することを特徴とする請求項1記載の金属板結合方法。
【請求項5】
前記複数の金属板が第1、第2及び第3の金属板であり、前記各々の金属板の貫通孔の位置を合わせて積層して積層体とし、前記貫通孔に前記プラグを挿入し、両側より前記積層体表面における前記プラグの周囲を同時に加圧することにより前記第1、第2及び第3の金属板を結合することを特徴とする請求項1記載の金属板結合方法。
【請求項6】
前記貫通孔の断面形状が円であり、前記プラグの断面形状も円であることを特徴とする請求項1乃至5のいずれかに記載の金属板結合方法。
【請求項7】
前記プラグの周囲に円周方向の複数の溝を設けたことを特徴とする請求項1乃至6のいずれかに記載の金属板結合方法。
【請求項8】
前記溝が前記各々の金属板の加圧側表面に近い方に形成されていることを特徴とする請求項7記載の金属板結合方法。
発明の詳細な説明
【技術分野】
【0001】
本発明は、異種材料であっても強固に結合することが可能な金属板結合方法に関する。
続きを表示(約 2,300 文字)
【背景技術】
【0002】
金属板は多くの分野で使用されており、その結合方法についても多くの種類が知られている。代表的な結合方法としては、ボルト及びナット、メカニカルクリンチング、リベット等がある。例えば特許文献1に開示されている。ボルト及びナットの場合は、結合材料が2種類必要であって結合に時間を要するという問題がある。一方メカニカルクリンチングやリベットの場合、硬質パンチやリベットを軟質材料に押し込んでアンカーを形成する方法であるが、アンカー量が少なく、また軟質材料とリベットとの間に隙間が生じたり、軟質材料とリベットとの間の締め付け力が弱いために強度が低い。
【0003】
特許文献2には、塑性流動結合を利用した金属部材の結合構造及び結合装置が開示されている。この技術は拘束リングを用いて環状部分を備える第1金属部材を、軸状部分を備える第2金属部材と結合する方法及び装置が記載されている。塑性流動結合を利用することにより高強度及び高精度な金属結合を行うことができるが、金属板状部材の結合にこの技術をそのまま適用することはできない。
【先行技術文献】
【特許文献】
【0004】
特開2013-130238号公報
再公表特許2011/118219号公報
【発明の概要】
【発明が解決しようとする課題】
【0005】
本発明は上述の問題点に鑑みて、異種材料同士であっても高強度かつ高精度で結合することが可能な金属板結合方法を提供することを課題とする。
【課題を解決するための手段】
【0006】
上述の課題を解決するため本発明による金属板結合方法は、上下に積層した複数の金属板の同一個所に貫通孔を形成し、前記貫通孔の断面形状とほぼ等しい断面形状を有し前記いずれの金属板よりも硬度の高いプラグを前記貫通孔に挿入し、前記積層した金属板のうち少なくとも最外側の2枚の金属板表面上における前記プラグの周囲を加圧してそれぞれの金属板を前記プラグの表面方向に塑性変形させてプラグに対する締め付け応力を与えることにより、前記プラグを通して前記複数の金属板を結合することを特徴とする。
【0007】
前記第1の金属板上の貫通孔に前記プラグを挿入し、前記第1の金属板上の前記プラグの周囲を加圧することにより、前記第1の金属板と前記プラグを結合させ、次に前記第2の金属板の貫通孔に前記第1の金属板と結合した前記プラグを嵌挿した後、前記第2の金属板上における前記プラグの周囲を加圧することにより、前記第2の金属板と前記プラグとを結合させることにより、結果として前記第1及び第2の金属板を結合することが好適である。また、前記複数の金属板が第1、第2及び第3の金属板であり、前記第1の金属板上の貫通孔に前記プラグを挿入し、前記第1の金属板上の前記プラグの周囲を加圧することにより、前記第1の金属板と前記プラグを結合させ、次に前記第2の金属板の貫通孔に前記第1の金属板と結合した前記プラグを嵌挿した後、前記第2の金属板上における前記プラグの周囲を加圧することにより、前記第2の金属板と前記プラグとを結合させ、さらに前記第3の金属板の貫通孔に前記第1及び第2の金属板と結合した前記プラグを嵌挿した後、前記第3の金属板上における前記プラグの周囲を加圧することにより、前記第3の金属板と前記プラグとを結合させることにより、結果として前記第1、第2及び第3の金属板を結合することも可能である。
【0008】
一方、前記第1の金属板と前記第2の金属板を積層して積層体とし、それぞれの貫通孔の位置を合わせて前記プラグを挿入し、両側より前記積層体表面における前記プラグの周囲を同時に加圧することにより前記第1及び第2の金属板を結合することもできる。また、前記複数の金属板が第1、第2及び第3の金属板であり、前記各々の金属板の貫通孔の位置を合わせて積層して積層体とし、前記貫通孔に前記プラグを挿入し、両側より前記積層体表面における前記プラグの周囲を同時に加圧することにより前記第1、第2及び第3の金属板を結合することも可能である。
【0009】
前記貫通孔の断面形状が円であり、前記プラグの断面形状も円であることが好適であり、前記プラグの周囲に円周方向の複数の溝を設けることはさらに好適である。前記溝は、前記各々の金属板の加圧側表面に近い方に形成することも好ましい。
【発明の効果】
【0010】
本発明による金属板結合方法は、パンチ刃先で軟質材料表面を加圧し、押し込むことによって、硬質材のプラグに設けられた溝に軟質板の材料を流動させ、その材料のせん断変形の抵抗力を利用して強固に結合することができる。また、プラグの平滑な部分にも軟質板材を高い圧力で押し付け、パンチの加圧力の除荷後もその締付けの圧力(残留応力)保持される特性があり、その締付けの摩擦抵抗力も利用できるものである。一方、板材料を流動させる溝の空間体積が小さいためにパンチストロークは通常1mm程度以下と小さく、板材とプラグ間の相対移動も無いために、結合品の精度が高い。さらに、結合部の塑性流動が圧縮応力下の変形であるために、板材にクラックなどの欠陥が生じる可能性が低い。そのために、軟質材料に延性の乏しい加工硬化材や調質材などを利用することも可能である。なお、機械的結合法に共通することではあるが、積層板の材料が異種材料であっても結合が可能である。
【図面の簡単な説明】
(【0011】以降は省略されています)
この特許をJ-PlatPat(特許庁公式サイト)で参照する
関連特許
太陽工業株式会社
構造物の止水シート構造及びその設置方法
3か月前
東洋建設株式会社
遮水構造体及び遮水構造体の製造方法
1か月前
個人
流路体
8か月前
個人
鍋虫ねじ
1か月前
個人
紛体用仕切弁
1か月前
個人
ホース保持具
5か月前
個人
クラッチ装置
8か月前
個人
回転伝達機構
1か月前
個人
差動歯車用歯形
3か月前
個人
トーションバー
6か月前
個人
ジョイント
12日前
個人
回転式配管用支持具
7か月前
株式会社不二工機
電磁弁
3か月前
個人
地震の揺れ回避装置
2か月前
個人
ボルトナットセット
6か月前
株式会社不二工機
電磁弁
4か月前
個人
ナット
13日前
個人
固着具と成形品部材
8か月前
株式会社アイシン
駆動装置
8か月前
株式会社オンダ製作所
継手
7か月前
個人
吐出量監視装置
29日前
カヤバ株式会社
ダンパ
3か月前
株式会社ミクニ
弁装置
7か月前
カヤバ株式会社
緩衝器
2か月前
株式会社ミクニ
弁装置
7か月前
カヤバ株式会社
ダンパ
3か月前
カヤバ株式会社
緩衝器
2か月前
カヤバ株式会社
緩衝器
6か月前
株式会社三協丸筒
枠体
6か月前
個人
ベルトテンショナ
7か月前
柿沼金属精機株式会社
分岐管
1か月前
アズビル株式会社
回転弁
6日前
株式会社ノーリツ
分配弁
4か月前
株式会社不二工機
電磁弁
1か月前
日東電工株式会社
断熱材
5か月前
株式会社奥村組
制振機構
2日前
続きを見る
他の特許を見る