TOP
|
特許
|
意匠
|
商標
特許ウォッチ
Twitter
他の特許を見る
公開番号
2025088373
公報種別
公開特許公報(A)
公開日
2025-06-11
出願番号
2023203042
出願日
2023-11-30
発明の名称
原子力電池
出願人
住友化学株式会社
,
国立大学法人 東京大学
代理人
弁理士法人秀和特許事務所
主分類
G21H
1/10 20060101AFI20250604BHJP(核物理;核工学)
要約
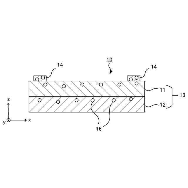
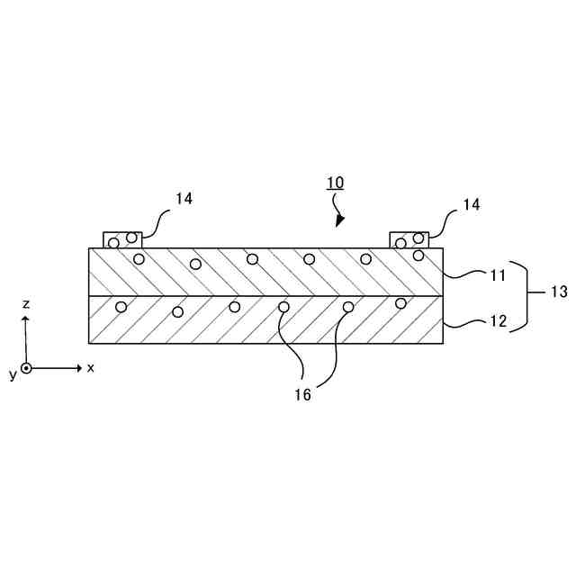
【課題】軽量且つ薄膜化を実現可能な原子力電池を提供する。
【解決手段】空間反転対称性の破れに基づく非相反伝導を示す熱電変換部と、
前記熱電変換部に互いに離間して設けられた、非相反熱電信号を取り出すための一対の電極と、
を備えた熱電変換素子を含有する原子力電池であって、
前記原子力電池を構成する少なくとも1つの構成部材は放射性同位体元素を含む、原子力電池により、上記課題を解決する。
【選択図】図1
特許請求の範囲
【請求項1】
空間反転対称性の破れに基づく非相反伝導を示す熱電変換部と、
前記熱電変換部に互いに離間して設けられた、非相反熱電信号を取り出すための一対の電極と、
を備えた熱電変換素子を含有する原子力電池であって、
前記原子力電池を構成する少なくとも1つの構成部材は放射性同位体元素を含む、原子力電池。
続きを表示(約 1,000 文字)
【請求項2】
前記熱電変換部が、互いに積層された強磁性金属層及び常磁性金属層を含む熱電変換層であり、
前記一対の電極が、前記熱電変換層に前記熱電変換層の面内方向に互いに離間して設けられている、請求項1に記載の原子力電池。
【請求項3】
前記一対の電極の離間距離が、0.1μm以上、1000μm以下である、請求項2に記載の原子力電池。
【請求項4】
前記常磁性金属層が単層又は積層された複数の層からなり、前記常磁性金属層の前記単層又は前記積層された複数の層のそれぞれが、Pt、Pd、W、AuW合金、Ta、CuIr合金、CuBi合金、BiSb合金、又はBiSe合金で構成される、請求項2に記載の原子力電池。
【請求項5】
前記強磁性金属層が単層又は積層された複数の層からなり、前記強磁性金属層の前記単層又は前記積層された複数の層のそれぞれが、Ni-Fe合金、Fe、Co、Ni、Gd、CoFeB合金、又は(Ga,Fe)Sb合金で構成されている、請求項2に記載の原
子力電池。
【請求項6】
前記放射性同位体元素が、ベリリウム-10、炭素-14、アルミニウム-26、ケイ素-32、塩素-36、アルゴン-39、カリウム-40、ニッケル-63、セレン-79、ルビジウム-87、ジルコニウム-93、インジウム-115、セシウム-137、ランタン-138、ニオブ-94、テクネチウム-98、ルテチウム-71、ネオジム-144、サマリウム-146、サマリウム-147、ガドリニウム-152、白金-190、ビスマス-210、ポロニウム-209、トリウム-232、ウラン-232、ウラン-233、ウラン-234、ウラン-235、ウラン-236、ウラン-238、プルトニウム-236、プルトニウム-238、プルトニウム-239、プルトニウム-244、アメリシウム-241、アメリシウム-243、キュリウム-244、キュリウム-246、キュリウム-247、キュリウム-248、カリホルニウム-249、及びカリホルニウム-251からなる群から選ばれる少なくとも1つの元素を含む、請求項1に記載の原子力電池。
【請求項7】
請求項1~6のいずれか1項に記載の原子力電池を複数備え、複数の前記原子力電池は、各原子力電池からの非相反熱電信号が同極性で重畳可能なように互いに電気的に接続されている、原子力電池モジュール。
発明の詳細な説明
【技術分野】
【0001】
本発明は、放射性同位体元素を含むことで崩壊熱から電気エネルギーを取り出せる原子力電池に関する。
続きを表示(約 1,600 文字)
【背景技術】
【0002】
原子力発電の燃料には使用後も放射性同位体が含まれ、原子核崩壊熱を恒常的に放出することからその長期管理が極めて重要な課題となる。その熱エネルギーを上手に転換し電気として利用する手立てがあれば、長期間動作する極めて安定な電源と見なすことができる。実際に、太陽光発電が使えない深宇宙探査機には、放射性同位体と熱電素子を組み合わせた同位体電池が搭載されており、数十年にわたる長期ミッションを支え今なお深宇宙の姿を地球に送信し続けている。
【0003】
従来技術としては放射性同位体熱電気転換器(RTG:Radioisotope thermoelectric generator)が使われている。放射性崩壊から電力を取り出せる。熱電対を用い、ゼーベ
ック効果によって放射性物質の崩壊熱を電気に変換している。
例えば、特許文献1には、放射線による劣化が小さく、小型化可能な原子力電池が開示されている。
【先行技術文献】
【特許文献】
【0004】
特開2021-85774号公報
【発明の概要】
【発明が解決しようとする課題】
【0005】
特許文献1に開示された原子力電池は、温度勾配を利用するため冷却が必要であり、装置が大掛かりなものになる。そのため、更なる軽量・薄膜化が求められていた。
本開示は、上記事情に鑑みて為されたものであり、その目的は軽量且つ薄膜化を実現可能な原子力電池を提供することにある。
【課題を解決するための手段】
【0006】
発明者らは鋭意検討の結果、空間反転対称性の破れに基づく非相反伝導を示す熱電変換部と、前記熱電変換部に互いに離間して設けられた、非相反熱電信号を取り出すための一対の電極と、を備えた熱電変換素子により、ミクロスケールでの温度揺らぎから熱電変換可能な熱電変換素子を提供できることを見出した。そして、該熱電変換素子を備えた原子力電池において、原子力電池を構成する少なくとも1つの構成部材が放射性同位体を含むことで、軽量且つ薄膜化が可能な原子力電池に想到した。
【0007】
即ち本開示の一形態は、空間反転対称性の破れに基づく非相反伝導を示す熱電変換部と、
前記熱電変換部に互いに離間して設けられた、非相反熱電信号を取り出すための一対の電極と、
を備えた熱電変換素子を含有する原子力電池であって、
前記原子力電池を構成する少なくとも1つの構成部材は放射性同位体元素を含む、原子力電池、に関する。
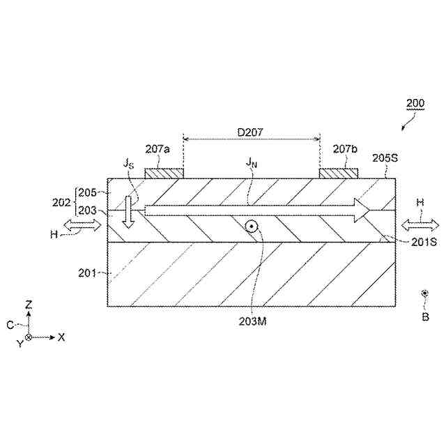
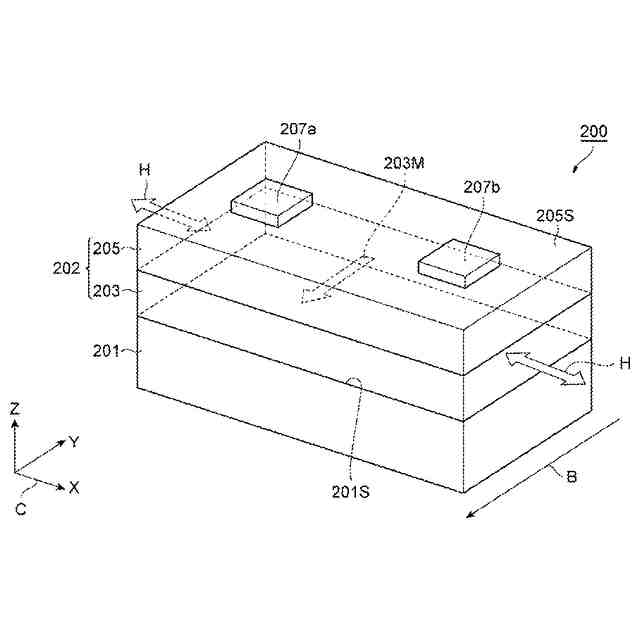
【0008】
本開示では、前記熱電変換部が、互いに積層された強磁性金属層及び常磁性金属層を含む熱電変換層であり、前記一対の電極が、前記熱電変換層に前記熱電変換層の面内方向に
互いに離間して設けられている形態が好ましい。これにより、熱電変換層の空間反転対称性の破れに基づく熱電変換の電圧が大きくなるため、原子力電池の発電効率が特に高くなる。
【0009】
本開示では、前記一対の電極の離間距離が、0.1μm以上、1000μm以下である形態が好ましい。このような範囲とすることで、熱電変換の電圧が大きくなるため、原子力電池の発電効率が高くなる。
【0010】
本開示では、前記常磁性金属層が単層又は積層された複数の層からなり、前記常磁性金属層の前記単層又は前記積層された複数の層のそれぞれが、Pt、Pd、W、AuW合金、Ta、CuIr合金、CuBi合金、BiSb合金、又はBiSe合金で構成される形態が好ましい。これにより、熱電変換層の空間反転対称性の破れに基づく伝導の非相反性が特に大きくなるため、原子力電池の発電効率が特に高くなる。
(【0011】以降は省略されています)
特許ウォッチbot のツイートを見る
この特許をJ-PlatPat(特許庁公式サイト)で参照する
関連特許
住友化学株式会社
着色剤
19日前
住友化学株式会社
化合物
19日前
住友化学株式会社
樹脂組成物
5日前
住友化学株式会社
芳香族ポリスルホン
19日前
住友化学株式会社
体液に由来する試料
9日前
住友化学株式会社
複合偏光板及び画像表示装置
7日前
住友化学株式会社
光学積層体及びその製造方法
21日前
住友化学株式会社
粘着剤付き偏光板及び表示装置
29日前
住友化学株式会社
着色剤及び着色硬化性樹脂組成物
6日前
住友化学株式会社
接着剤組成物及び偏光板の製造方法
29日前
住友化学株式会社
芳香族ポリスルホン及び耐熱フィルム
19日前
住友化学株式会社
液晶ポリエステル組成物及びフィルム
1日前
住友化学株式会社
非水電解液二次電池用積層セパレータ
9日前
住友化学株式会社
複素環化合物を用いる有害節足動物防除方法
5日前
住友化学株式会社
レジスト組成物及びレジストパターンの製造方法
5日前
住友化学株式会社
除草剤耐性作物の栽培地における雑草の防除方法
19日前
住友化学株式会社
着色硬化性樹脂組成物、カラーフィルタ及び表示装置
5日前
住友化学株式会社
ジホスファイト系化合物、その製造方法およびその用途
19日前
住友化学株式会社
レジスト組成物及びレジストパターンの製造方法並びに化合物
5日前
住友化学株式会社
レジスト組成物及びレジストパターンの製造方法並びに化合物
5日前
住友化学株式会社
レジスト組成物及びレジストパターンの製造方法並びに化合物
5日前
住友化学株式会社
レジスト組成物及びレジストパターンの製造方法並びに化合物
5日前
住友化学株式会社
酸発生剤、塩、レジスト組成物及びレジストパターンの製造方法
9日前
住友化学株式会社
酸発生剤、塩、レジスト組成物及びレジストパターンの製造方法
28日前
住友化学株式会社
化合物、組成物、カラーフィルタ、表示装置、及び固体撮像素子
7日前
住友化学株式会社
塩、酸発生剤、レジスト組成物及びレジストパターンの製造方法
9日前
住友化学株式会社
組成物及びその硬化物、成形物、表示装置、並びに固体撮像素子
5日前
住友化学株式会社
塩、酸発生剤、レジスト組成物及びレジストパターンの製造方法
9日前
住友化学株式会社
窒化物半導体基板
29日前
住友化学株式会社
酸発生剤、塩、樹脂、レジスト組成物及びレジストパターンの製造方法
9日前
住友化学株式会社
光学積層体、及び、これを備える有機エレクトロルミネッセンス表示装置
19日前
住友化学株式会社
光学積層体、及び、これを備える有機エレクトロルミネッセンス表示装置
19日前
住友化学株式会社
リチウム二次電池用正極活物質、リチウム二次電池用正極及びリチウム二次電池
27日前
住友化学株式会社
カルボン酸発生剤、カルボン酸塩、レジスト組成物及びレジストパターンの製造方法
9日前
住友化学株式会社
カルボン酸塩、カルボン酸発生剤、レジスト組成物及びレジストパターンの製造方法
9日前
住友化学株式会社
カルボン酸塩、カルボン酸発生剤、レジスト組成物及びレジストパターンの製造方法
9日前
続きを見る
他の特許を見る