TOP
|
特許
|
意匠
|
商標
特許ウォッチ
Twitter
他の特許を見る
10個以上の画像は省略されています。
公開番号
2025067511
公報種別
公開特許公報(A)
公開日
2025-04-24
出願番号
2023177555
出願日
2023-10-13
発明の名称
埋設管の埋設構造及び埋設管の埋設工法
出願人
国立大学法人神戸大学
,
前田工繊株式会社
代理人
個人
,
個人
,
個人
主分類
F16L
1/028 20060101AFI20250417BHJP(機械要素または単位;機械または装置の効果的機能を生じ維持するための一般的手段)
要約
【課題】埋戻材の重量を埋設管のアンカーウェイトとして活用有効する埋設管の埋設技術を提供すること。
【解決手段】現場で段積みしながら複数のセル構造体3に中詰材33を充填して構築した土塊構造物製の土塊錘構造体2を埋設管1に跨って載置し、土塊錘構造体2の総重量や埋戻材63の総重量を埋設管1のアンカーウェイトとして機能させるように構成した。
【選択図】図1
特許請求の範囲
【請求項1】
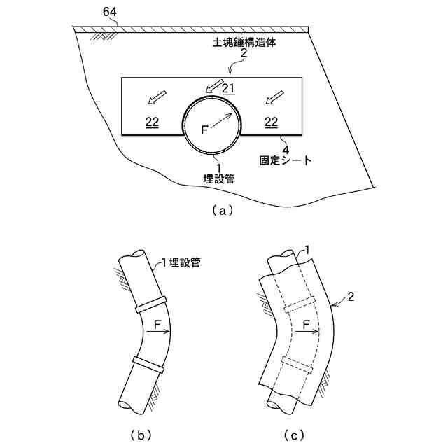
地中に埋設管を埋設する埋設管の埋設構造であって、
少なくとも前記埋設管の両側部に位置する一対の土塊構造物製の土塊錘構造体と、
一対の前記土塊錘構造体間に亘って配置するとともに、前記土塊錘構造体間において前記埋設管の周面に沿って配置する固定シートと、を有することを特徴とする、
埋設管の埋設構造。
続きを表示(約 1,000 文字)
【請求項2】
前記固定シートの両側を、前記土塊錘構造体の下面に沿って配置することを特徴とする、
請求項1に記載の埋設管の埋設構造。
【請求項3】
前記固定シートは、高さ方向に複数枚配置し、
前記複数枚の前記固定シートは、前記土塊錘構造体間において、前記埋設管の周面に沿って重合して配置し、
前記複数枚のうち最下層の前記固定シートは、両側を、前記土塊錘構造体の下面に沿って配置し、その他の前記固定シートは、両側を、前記土塊錘構造体上面又は前記土塊錘構造体内に配置することを特徴とする、
請求項1に記載の埋設管の埋設構造。
【請求項4】
前記土塊錘構造体を、
現場で一段又は複数段に段積みしたセル構造体と、
現場で前記セル構造体のセル空間内に充填して転圧した中詰材と、により構成することを特徴とする、
請求項1乃至3のいずれか一項に記載の埋設管の埋設構造。
【請求項5】
前記土塊錘構造体は、
前記埋設管の両側部に位置する一対の側脚部と、一対の前記側脚部間と前記埋設管の上部に横架する鞍部と、により断面形状が門形を呈し、前記埋設管に跨って配置することを特徴とする、
請求項4に記載の埋設管の埋設構造。
【請求項6】
前記土塊錘構造体の上面を埋戻材で覆土し、前記埋戻材の総重量を前記土塊錘構造体に支持させたことを特徴とする、
請求項5に記載の埋設管の埋設構造。
【請求項7】
前記埋設管の全長に亘って連続的又は間欠的に前記土塊錘構造体及び前記固定シートを配置したことを特徴とする、
請求項5に記載の埋設管の埋設構造。
【請求項8】
前記埋設管が屈曲部を有し、前記埋設管の前記屈曲部に跨って前記土塊錘構造体及び前記固定シートを配置したことを特徴とする、
請求項5に記載の埋設管の埋設構造。
【請求項9】
前記土塊錘構造体が前記埋設管に対して左右非対称であることを特徴とする、
請求項5に記載の埋設管の埋設構造。
【請求項10】
前記鞍部、前記側脚部及び前記固定シートとの間に縦向きに貫通させた連結体を介して、前記鞍部、前記側脚部及び前記固定シートとの間を荷重伝達可能に一体に連結したことを特徴とする、請求項5に記載の埋設管の埋設構造。
(【請求項11】以降は省略されています)
発明の詳細な説明
【技術分野】
【0001】
本発明は、セル構造体を用いて埋設管の浮上防止を図った埋設管の埋設構造及び埋設管の埋設工法に関する。
続きを表示(約 2,800 文字)
【背景技術】
【0002】
一般にパイプラインのような大口径の各種埋設管を地中に敷設する場合、地盤を大きく掘削して地中深くに埋設する必要がある。
特に、地下水位の高い地盤や埋戻土の液状化が想定される現場では、埋設管の埋設深さを深くして土被り荷重を大きくする必要がある。
【0003】
図12を参照して従来の埋設方法について説明すると、地盤Gに相対向して土留板71を打ち込み、土留板71の間に敷設溝72を掘削する。
敷設溝72の溝底に層状の支持基礎73を構築した後に、支持基礎73上に埋設管70を敷設する。
敷設溝72内の全域に埋戻材74を投入して締め固めを行い、最後に土留板71を撤去する。
【0004】
敷設溝72の掘削幅は埋設管70の径より大きく、敷設溝72の深さは埋設管70の径に所定の土被りを加えた深さが必要である。
敷設溝72の掘削断面寸法は、埋設管70の径に応じて大きくなる。
埋設管70が、例えばパイプラインのような大口径になると、敷設溝72の深さと溝幅が非常に大きくなる。
【先行技術文献】
【特許文献】
【0005】
特開平11-101369号公報
特開2007-120721号公報
特開2007-170678号公報
特開2008-267567号公報
【発明の概要】
【発明が解決しようとする課題】
【0006】
上述した従来の埋設管70の埋設方法は次の課題を内包している。
<1>図12(a)に示すように、すべての埋戻材74のうち、埋設管70の浮上防止重量として働くのは、埋設管70の真上に位置する埋戻材74の中央鉛直重量W
5
だけであって、埋設管70の左右両側に位置する埋戻材74の側方鉛直重量W
6
は埋設管70の浮上防止重量として十分に活用できていない。
<2>既述したように、埋設管70の浮上防止に機能する埋戻材74の重量は、中央鉛直重量W
5
だけである。
そのため、埋設管70が大口径管である場合や、地下水位の高い地盤では、埋戻材74の中央鉛直重量W
5
を増大させるために、敷設溝72の通常の掘削深さより深く掘削すると共に、大量の埋戻材74を使用する必要がある。
したがって、このような現場では、埋設管70の敷設工事が大規模となり、工費及び工期の負担が増大する。
<3>図12(b)に示すように、埋戻材74で覆土した後に土留板71を抜き取ると、近傍の埋戻材74が土留板71の抜け跡に拡張して緩む。
埋戻材74が緩むと埋設管70が横長に変形し、その変形量が許容歪を超えると埋設管70が破損する問題が起こるだけでなく、埋戻材74が緩むことで埋設管70に対して埋戻材74の本来の載荷重が伝わらず、埋設管70の浮上抑止力が低下するといった問題も誘発する。
【0007】
一方、図13に示すように特許文献には、埋設管70の左右両側に、ジオテキスタイル75で側方埋戻材74aを包み込み、側方埋戻材74aの重量を埋設管70の浮上防止の反力源として活用することが提案されている(特許文献1~4)。
【0008】
この埋設管70の浮上防止技術は次に示す課題を内包している。
<1>ジオテキスタイル75にテンションを与えた状態で側方埋戻材74aを包み込んで強固に締固めることができれば、理論的には成り立つ。
実際の施工では、ジオテキスタイル75にテンションを与えた状態で側方埋戻材74aを包み込むことや、側方埋戻材74aを強固に締め固めることが技術的に難しい。
ジオテキスタイル75に弛みが生じていたり、側方埋戻材74aの締め固めが不足したりしていると、埋設管70に対する埋戻材74aの浮上防止力が低減して、側方埋戻材74aの本来の重量を活用しきれていない。
<2>埋設管70の全長に亘って側方埋戻材74aを強固に締固めることは技術的に難しい。
側方埋戻材74aの締固めにバラツキを生じると、側方埋戻材74aの重量の活用効果が著しく低下する。
<3>側方埋戻材74aの重量を十分活用することができないことから、埋設管70の浮上を防止するためには、埋設管70の埋設深さを深くして大量の埋戻材74で埋め戻す必要がある。
【0009】
本発明は以上の点に鑑みてなされたものであり、その目的とするところは以上の問題点を解消できる、埋設管の埋設構造及び埋設管の埋設工法を提供することにある。
【課題を解決するための手段】
【0010】
本発明は、地中に埋設管を埋設する埋設管の埋設構造であって、少なくとも前記埋設管の両側部に位置する一対の土塊構造物製の土塊錘構造体と、一対の前記土塊錘構造体間に亘って配置するとともに、前記土塊錘構造体間において前記埋設管の周面に沿って配置する固定シートと、を有することを特徴とする。
前記固定シートの両側を、前記土塊錘構造体の下面に沿って配置してもよい。
前記固定シートは、高さ方向に複数枚配置し、前記複数枚の前記固定シートは、前記土塊錘構造体間において、前記埋設管の周面に沿って重合して配置し、前記複数枚のうち最下層の前記固定シートは、両側を、前記土塊錘構造体の下面に沿って配置し、その他の前記固定シートは、両側を、前記土塊錘構造体上面又は前記土塊錘構造体内に配置してもよい。
前記土塊錘構造体を、現場で一段又は複数段に段積みしたセル構造体と、現場で前記セル構造体のセル空間内に充填して転圧した中詰材と、により構成してもよい。
前記土塊錘構造体は、前記埋設管の両側部に位置する一対の側脚部と、一対の前記側脚部間と前記埋設管の上部に横架する鞍部と、により断面形状が門形を呈し、前記埋設管に跨って配置してもよい。
前記土塊錘構造体の上面を埋戻材で覆土し、前記埋戻材の総重量を前記土塊錘構造体に支持させてもよい。
前記埋設管の全長に亘って連続的又は間欠的に前記土塊錘構造体及び前記固定シートを配置してもよい。
前記埋設管が屈曲部を有し、前記埋設管の前記屈曲部に跨って前記土塊錘構造体及び前記固定シートを配置してもよい。
前記土塊錘構造体が前記埋設管に対して左右非対称であってもよい。
前記鞍部、前記側脚部及び前記固定シートとの間に縦向きに貫通させた連結体を介して、前記鞍部、前記側脚部及び前記固定シートとの間を荷重伝達可能に一体に連結してもよい。
(【0011】以降は省略されています)
特許ウォッチbot のツイートを見る
この特許をJ-PlatPat(特許庁公式サイト)で参照する
関連特許
国立大学法人神戸大学
コンバイン
6日前
国立大学法人神戸大学
細胞用の凍結保護剤
5か月前
国立大学法人神戸大学
糖鎖を有する重合体
4か月前
国立大学法人神戸大学
高効率な酵母遺伝子系
3か月前
国立大学法人神戸大学
フェノール類の製造方法
7か月前
国立大学法人神戸大学
抗アレルギー用経口組成物
28日前
国立大学法人神戸大学
空調システム、及び制御方法
1か月前
国立大学法人神戸大学
サーマルサーキットシステム
29日前
国立大学法人神戸大学
空調システム、及び制御方法
1か月前
国立大学法人神戸大学
イオン液体中の着色成分の除去
28日前
株式会社カネカ
結晶化促進剤
3か月前
株式会社カネカ
耐衝撃性改良剤
4か月前
国立大学法人神戸大学
空調装置、及び空調装置の制御方法
7か月前
国立大学法人神戸大学
有機性廃棄物のメタン発酵処理方法
6か月前
株式会社カネカ
海洋生分解促進剤
6か月前
国立大学法人神戸大学
中間バンドを用いた熱放射発電素子
5か月前
国立大学法人神戸大学
微細藻類培養方法及び油脂製造方法
1か月前
国立大学法人神戸大学
埋設管の埋設構造及び埋設管の埋設工法
5か月前
株式会社カネカ
溶血素産生能の評価方法
2か月前
国立大学法人神戸大学
イオン液体中のセルロース由来不純物の除去
28日前
国立大学法人神戸大学
カルボン酸誘導体およびポリマーの製造方法
1か月前
株式会社NTTドコモ
通信装置及び通信方法
6日前
花王株式会社
3-ヒドロキシ安息香酸類の製造方法
5か月前
国立大学法人神戸大学
抗SARS-CoV-2抗体、及びそれを含む検査キット
5か月前
国立大学法人神戸大学
単相ダイレクトAC-ACコンバータとその電力制御方法
4か月前
株式会社Preferred Networks
演算装置
1か月前
国立大学法人 東京大学
血糖制御能力の推定方法及び装置
6か月前
住友ベークライト株式会社
冷凍生肉用真空包装体の製造方法
4か月前
JFEスチール株式会社
検査装置、検査システム、及び検査方法
5か月前
JFEスチール株式会社
検査装置、検査システム、及び検査方法
5か月前
国立大学法人神戸大学
ダイレクトAC-ACコンバータの電力制御回路及び電力制御方法
2か月前
国立大学法人神戸大学
抗SIRPα抗体
6か月前
国立大学法人神戸大学
解析システム、コンピュータ実装方法、及びコンピュータプログラム
1か月前
イカリ消毒株式会社
害虫防除方法、害虫防除剤、及びその製造方法
2か月前
株式会社ファーマフーズ
SARS-CoV-2変異株特異的認識抗体
4か月前
国立大学法人神戸大学
二本鎖DNA合成方法
1か月前
続きを見る
他の特許を見る