TOP
|
特許
|
意匠
|
商標
特許ウォッチ
Twitter
他の特許を見る
10個以上の画像は省略されています。
公開番号
2025069865
公報種別
公開特許公報(A)
公開日
2025-05-01
出願番号
2023179850
出願日
2023-10-18
発明の名称
充填装置
出願人
澁谷工業株式会社
代理人
個人
,
個人
主分類
B67C
3/28 20060101AFI20250423BHJP(びん,広口びんまたは類似の容器の開封または密封;液体の取扱い)
要約
【課題】充填バルブに設けた第1昇降軸に対する第2昇降軸の追従性を向上させる。
【解決手段】
充填バルブ6は、バルブハウジング11内を昇降可能に設けられた第1昇降軸12と、ピストン13および弁体Bbを備えた第2昇降軸14と、上記第1昇降軸12を昇降させる電動駆動手段15と、ピストン13の上方に形成された圧力室R1にエアを供給するエア供給手段16とを備え、上記第1昇降軸と第2昇降軸とを磁着させる磁石26を備えている。
液体を吐出させる際、電動駆動手段15が上記第1昇降軸12を上昇させると、上記磁石26の磁力によって上記第2昇降軸14と上記第1昇降軸12とが一体的に上昇する。
液体の吐出を停止させる際、上記エア供給手段16が上記圧力室R1にエアを供給させると、上記磁石26の磁力に抗して上記第2昇降軸14が上記第1昇降軸12から離脱して下降する。
【選択図】図5
特許請求の範囲
【請求項1】
容器に充填液を充填する充填バルブを備えた充填装置であって、
上記充填バルブは、
内部に液通路および弁座が形成されるとともに下端部に吐出口が形成された筒状のバルブハウジングと、
上記バルブハウジング内を昇降可能に設けられた第1昇降軸と、
上記第1昇降軸の下方に上記バルブハウジング内を昇降可能に設けられ、ピストンを備えるとともに当該ピストンの下方に弁体を備えた第2昇降軸と、
上記第1昇降軸を昇降させる電動駆動手段と、
上記ピストンの上方に形成された圧力室にエアを供給するエア供給手段と、
上記第1昇降軸または上記第2昇降軸の少なくとも一方に設けられて、上記第1昇降軸と第2昇降軸とを磁着させる磁石とを備え、
さらに、上記充填バルブの電動駆動手段およびエア供給手段を制御する制御手段を備え、
上記制御手段は、上記吐出口から液体を吐出させる際には、上記電動駆動手段によって上記第1昇降軸を上昇させることで、上記磁石の磁力によって上記第2昇降軸を上記第1昇降軸に磁着させた状態で一体的に上昇させて上記弁体を上記弁座から離座させ、
上記吐出口から液体の吐出を停止させる際には、上記エア供給手段によって上記圧力室にエアを供給させて、上記磁石の磁力に抗して上記第2昇降軸を上記第1昇降軸から離脱させて下降させることにより、上記弁体を上記弁座に押し付けることを特徴とする充填装置。
続きを表示(約 65 文字)
【請求項2】
上記ピストンの下方に、外気と常時連通する逃がし室を設けたことを特徴とする請求項1に記載の充填装置。
発明の詳細な説明
【技術分野】
【0001】
本発明は充填装置に関し、より詳しくは、電動駆動手段によって充填バルブを開閉させて容器に充填液を充填する充填装置に関する。
続きを表示(約 4,000 文字)
【背景技術】
【0002】
従来、容器に充填液を充填する充填装置が知られ、内部に液通路が形成されるとともに下端部に吐出口および弁座が形成された筒状のバルブハウジングと、バルブハウジング内を昇降可能に設けられるとともに下端部に弁体が設けられた昇降軸と、上記昇降軸を昇降させる電動駆動手段とを備えたものが知られている。
上記充填装置によれば、上記電動駆動手段が昇降軸を昇降させることで、バルブハウジングの弁座に弁体を着座させることができ、吐出口を開閉して充填液の充填を行うようになっている。
このような充填装置として、電動駆動手段によって昇降可能に設けられた第1昇降軸の下方に、ピストンを備えた第2昇降軸を設けるとともに、上記ピストンの上方に形成された圧力室にエアを供給するエア供給手段を備えたものも知られている(特許文献1)。
上記特許文献1の充填装置によれば、上記弁体が上記弁座から離脱した状態で、上記エア供給手段が上記圧力室にエアを供給すると、上記第1昇降軸から上記第2昇降軸が離脱して下降し、上記弁体を上記弁座に着座させることが可能となっている。
これにより、吐出口を速やかに閉鎖することが可能となり、特に高粘度の液体を充填する際において、吐出口からの液垂れを防止することが可能となっている。
【先行技術文献】
【特許文献】
【0003】
特開2022-26852号公報
【発明の概要】
【発明が解決しようとする課題】
【0004】
ここで上記特許文献1の充填装置の場合、上記第2昇降軸の下方には第2圧力室が形成されており、当該第2圧力室に常時エアを供給することで、第2昇降軸を上方に付勢するようになっている。
このため、上記弁座に弁体が着座している状態から、吐出口を開放するために電動駆動手段が第1昇降軸を上昇させると、上記第2圧力室のエアによって第2昇降軸が第1昇降軸に追従して上昇するようになっている。
しかしながら、上記第2圧力室のエアの圧力が低い場合、電動駆動手段が上記第1昇降軸を上昇させても、第2昇降軸が追従できずに弁体が弁座から離座するタイミングが遅れてしまい、充填液の充填量にばらつきが生じる恐れがあった。
これに対し、上記第2圧力室に供給するエアの圧力を高く設定すると、第2昇降軸を第1昇降軸に追従させることができるものの、上記弁体を弁座に着座させるための電動駆動手段の駆動力や、ピストンの上部に形成された第1圧力室への圧力を大きくしなければならず、より大型の電動駆動手段やコンプレッサーを使用する必要が生じてしまう。
このような問題に鑑み、本発明は第1昇降軸の上昇に対する第2昇降軸の追従性を向上させることが可能な充填装置を提供するものである。
【課題を解決するための手段】
【0005】
すなわち請求項1の発明にかかる充填装置は、容器に充填液を充填する充填バルブを備えた充填装置であって、
上記充填バルブは、
内部に液通路および弁座が形成されるとともに下端部に吐出口が形成された筒状のバルブハウジングと、
上記バルブハウジング内を昇降可能に設けられた第1昇降軸と、
上記第1昇降軸の下方に上記バルブハウジング内を昇降可能に設けられ、ピストンを備えるとともに当該ピストンの下方に弁体を備えた第2昇降軸と、
上記第1昇降軸を昇降させる電動駆動手段と、
上記ピストンの上方に形成された圧力室にエアを供給するエア供給手段と、
上記第1昇降軸または上記第2昇降軸の少なくとも一方に設けられて、上記第1昇降軸と第2昇降軸とを磁着させる磁石とを備え、
さらに、上記充填バルブの電動駆動手段およびエア供給手段を制御する制御手段を備え、
上記制御手段は、上記吐出口から液体を吐出させる際には、上記電動駆動手段によって上記第1昇降軸を上昇させることで、上記磁石の磁力によって上記第2昇降軸を上記第1昇降軸に磁着させた状態で一体的に上昇させて上記弁体を上記弁座から離座させ、
上記吐出口から液体の吐出を停止させる際には、上記エア供給手段によって上記圧力室にエアを供給させて、上記磁石の磁力に抗して上記第2昇降軸を上記第1昇降軸から離脱させて下降させることにより、上記弁体を上記弁座に押し付けることを特徴としている。
【発明の効果】
【0006】
上記発明によれば、ピストンの上方に形成した圧力室にエアを供給すると、磁石の磁力に抗して第2昇降軸を第1昇降軸より離脱させて下降させることができるため、速やかに弁体を弁座に着座させて吐出口を閉鎖することができる。
一方、弁体を弁座から離脱させて吐出口を開放する際には、第1昇降軸を上昇させると、上記磁石によって磁着した第2昇降軸が一体的に上昇するため、速やかに吐出口を開放することができ、また大型の電動駆動手段やコンプレッサーが不要となる。
【図面の簡単な説明】
【0007】
本実施形態にかかる充填装置を備えた充填システムの平面図
充填バルブの断面図
充填バルブの閉鎖完了状態を示した要部断面図
充填バルブの小投状態を示した要部断面図
充填バルブの大投状態を示した要部断面図
第1モードでの充填バルブの閉鎖状態を示した要部断面図
第2モードでの充填バルブの閉鎖状態を示した要部断面図
充填バルブの動作を示したグラフ
充填バルブの緊急閉鎖状態を示した要部断面図
第2実施形態にかかる充填バルブの要部断面図
【発明を実施するための形態】
【0008】
以下、図示実施形態について本発明を説明すると、図1は容器V(図2参照)に充填液を充填する充填装置2を備えた充填システム1の平面図を示し、コンピューターなどからなる制御手段3(図2参照)によって制御されるようになっている。
上記充填システム1は第1~第5回転テーブル4A~4Eを備え、各回転テーブル4A~4Eの外周にはそれぞれ容器Vを把持するグリッパ5(図2参照)が設けられている。このうち第3回転テーブル4Cは本発明に係る充填装置2の回転テーブルを構成し、容器Vに充填液を充填する充填バルブ6(図2参照)が上記グリッパ5と同じ間隔で設けられている。
このような構成により、上流側に位置する第1、第2回転テーブル4A、4Bによって空の容器Vが搬送されると、第2回転テーブル4Bと第3回転テーブル4Cとの接近した位置において容器Vが受け渡されるようになっている。
そして第3回転テーブル4Cでは、当該第3回転テーブル4Cの回転に伴って充填バルブ6が所定量の充填液を容器Vに充填し、その後充填液が充填された各容器Vは、第3回転テーブル4Cの下流側に配置された第4、第5回転テーブル4D、4Eによって図示しない後工程へと受け渡されるようになっている。
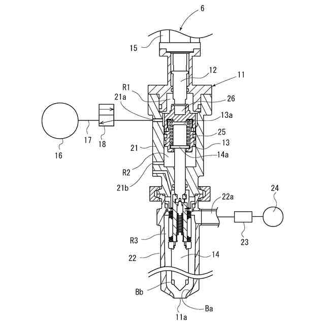
【0009】
図2は上記第3回転テーブル4Cに設けられた充填バルブ6の断面図を示している。ここで充填バルブ6の構成について、図2の他、図3~図5を用いて説明する。
各充填バルブ6は、内部に液通路が形成されるとともに下端部に吐出口11aおよび弁座Baが形成された筒状のバルブハウジング11と、バルブハウジング11内を昇降可能に設けられた第1昇降軸12と、上記バルブハウジング11の内部において上記第1昇降軸12の下方を昇降可能に設けられ、ピストン13を備えるとともに下端部に弁体Bbを備えた第2昇降軸14と、上記第1昇降軸12を昇降させる電動駆動手段15とを備えている。
また本実施形態の充填装置2は、各充填バルブ6にエアを供給するエア供給手段16を備えており、各充填バルブ6とエア供給手段16との間に配設された導管17には制御手段3によって制御される電磁弁18が設けられている。
上記構成を有する充填装置2によれば、上記制御手段3が上記電動駆動手段15および上記エア供給手段16の電磁弁18を制御することにより、上記充填バルブ6において吐出口11aの開閉を行い、吐出口11aの下方に位置した容器Vに充填液を充填するものとなっている。
【0010】
上記バルブハウジング11は、上記第1昇降軸12や上記ピストン13を収容する円筒状の本体部21と、上記第2昇降軸14を収容するとともに下端部に吐出口11aが形成されたノズル部22とを備えている。
上記本体部21は筒状を有しており、上記ピストン13を昇降可能に収容するシリンダを構成している。また本体部21の上部では上記第1昇降軸12が気密を維持した状態で貫通しており、下部では上記第2昇降軸14が気密を維持した状態で貫通している。
上記本体部21の内部には、上記ピストン13の上部に圧力室R1が形成されており、当該圧力室R1は本体部21の側面に形成されたエア通路21aを介して上記エア供給手段16に接続されている。
上記導管17に設けられた電磁弁18は制御手段3によって制御されることで、エア供給手段16と連通する給気位置と、エア供給手段16とは連通せずに上記圧力室R1からのエアを導管17の外部に排気する排気位置とに切り換えられるようになっている。
一方、上記ピストン13の下部には逃がし室R2が形成されており、当該逃がし室R2は本体部21の側面に形成された逃がし通路21bを介して外部に連通している。
(【0011】以降は省略されています)
この特許をJ-PlatPat(特許庁公式サイト)で参照する
関連特許
澁谷工業株式会社
透析装置
5日前
澁谷工業株式会社
透析装置
5日前
澁谷工業株式会社
容器搬送装置
1か月前
澁谷工業株式会社
容器搬送装置
1か月前
澁谷工業株式会社
容器処理システム
1か月前
澁谷工業株式会社
パウチ・ボトル兼用グリッパ
1か月前
澁谷工業株式会社
充填装置の洗浄・殺菌システム
1か月前
澁谷工業株式会社
充填装置の洗浄システムおよび洗浄方法
1か月前
澁谷工業株式会社
学習データの作成方法および学習データの作成システム
1か月前
個人
万能シリコン漏斗。
3か月前
株式会社タツノ
給油装置
1か月前
澁谷工業株式会社
キャッパ
8か月前
株式会社タツノ
給油認証システム
10日前
澁谷工業株式会社
充填装置
5か月前
有限会社ユウアイ
内容物充填装置
1か月前
株式会社サイレック
キャッパー装置
12か月前
靜甲株式会社
キャップの巻締め機構
3か月前
個人
ボトルキャップ用開栓具
10か月前
個人
開封具
4か月前
富士電機株式会社
液体供給装置
11か月前
株式会社青木製作所
タンクローリの配管装置
11か月前
澁谷工業株式会社
キャッピング装置
8か月前
澁谷工業株式会社
キャッピング装置
3か月前
ホシザキ株式会社
飲料供給装置
7か月前
ホシザキ株式会社
飲料供給装置
8か月前
個人
液体注出補助具
3か月前
ホシザキ株式会社
飲料供給装置
8か月前
キリンホールディングス株式会社
飲料注出装置
3か月前
日本クロージャー株式会社
ボトルケース
11か月前
AW・ウォーター株式会社
液体供給装置
12か月前
株式会社吉野工業所
高温充填方法
8か月前
キリンホールディングス株式会社
容器の保管装置
2か月前
靜甲株式会社
キャップ保持機構並びにキャッパー
3か月前
サッポロビール株式会社
カラン
9か月前
アサヒ飲料株式会社
炭酸飲料製造ラインの制御方法
8か月前
澁谷工業株式会社
充填装置の洗浄・殺菌システム
1か月前
続きを見る
他の特許を見る