TOP
|
特許
|
意匠
|
商標
特許ウォッチ
Twitter
他の特許を見る
公開番号
2025000243
公報種別
公開特許公報(A)
公開日
2025-01-07
出願番号
2023099996
出願日
2023-06-19
発明の名称
カラン
出願人
サッポロビール株式会社
代理人
個人
,
個人
,
個人
,
個人
主分類
B67D
1/14 20060101AFI20241224BHJP(びん,広口びんまたは類似の容器の開封または密封;液体の取扱い)
要約
【課題】経年使用をした場合でも、飲料の流れを正常に保つことができるカランを提供する。
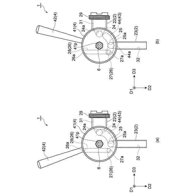
【解決手段】一実施形態に係るカラン1は、飲料が供給されるカラン本体2と、回転軸6周りにカラン本体2に対して回動可能に取り付けられたハンドル部4と、を備える。カラン本体2は、第1対向面21aと、第1対向面21aに形成された第1開口24aからカラン本体2の内部に向かって延びる第1流路24と、第1対向面21aに形成された第2開口25aからカラン本体2の内部に向かって延びる第2流路25と、を有する。ハンドル部4は、第2対向面41aと、第1流路24から飲料Dを第2開口25aまで流通させる流通部43と、を有する。注出状態において、流通部43は、第1流路24から第2流路25へ飲料Dを流通させる。閉止状態において、第1開口24a及び第2開口25aの少なくともいずれかは、第2対向面41aに対向して、飲料Dの注出が止められる。
【選択図】図3
特許請求の範囲
【請求項1】
飲料サーバーに収容された飲料を注出するカランであって、
前記飲料サーバーから前記飲料が供給されるカラン本体と、
前記カラン本体と対向し、前記カラン本体と対向する方向である対向方向に延びる回転軸周りに前記カラン本体に対して回動可能に取り付けられたハンドル部と、を備え、
前記ハンドル部が前記カラン本体に対して回動することで、前記飲料が注出される注出状態と、前記飲料の注出が止められる閉止状態と、を遷移可能であり、
前記カラン本体は、
前記ハンドル部に対向する第1対向面と、
前記飲料サーバーから供給された前記飲料を流通させ、前記第1対向面に形成された第1開口から前記カラン本体の内部に向かって延びる第1流路と、
前記第1流路を流通した前記飲料を流通させ、前記第1対向面に形成された第2開口から前記カラン本体の内部に向かって延びる第2流路と、を有し、
前記ハンドル部は、
前記第1対向面に対向する第2対向面と、
前記第1流路から前記第1開口を介して流入した前記飲料を前記第2開口まで流通させる流通部と、を有し、
前記注出状態において、前記流通部は、前記第1流路及び前記第2流路の双方に連通して前記第1流路から前記第2流路へ前記飲料を流通させ、
前記閉止状態において、前記第1開口及び前記第2開口の少なくともいずれかは、前記第2対向面に対向して、前記飲料の注出が止められる、
カラン。
続きを表示(約 680 文字)
【請求項2】
前記第1流路は、前記第1開口から前記対向方向に延びており、
前記第2流路は、前記第2開口から前記対向方向に延びている、
請求項1に記載のカラン。
【請求項3】
前記流通部は、前記第2対向面から窪んでいる溝部であり、
前記溝部は、前記注出状態において前記第1流路及び前記第2流路の双方に連通する、
請求項1又は2に記載のカラン。
【請求項4】
前記閉止状態において、前記対向方向から見たときにおける前記溝部の下端の位置は、前記第2開口に重なっている、
請求項3に記載のカラン。
【請求項5】
前記溝部は、前記対向方向から見たときに前記第2対向面の中央を中心とした円弧状に延びている、
請求項3に記載のカラン。
【請求項6】
前記カラン本体は、前記カラン本体の外部に露出する大気開放穴から前記カラン本体の内部に延びる空気流路を有し、
前記空気流路は、前記閉止状態において前記流通部を介して前記第2流路に連通する、
請求項1又は2に記載のカラン。
【請求項7】
前記第1対向面及び前記第2対向面の間に配置され、前記第1対向面及び前記第2対向面よりも摩擦係数が小さい材料により構成された低摩擦部材をさらに備え、
前記低摩擦部材は、
前記第1流路及び前記流通部に連通する第1貫通孔と、
前記第2流路及び前記流通部に連通する第2貫通孔と、を有する、
請求項1又は2に記載のカラン。
発明の詳細な説明
【技術分野】
【0001】
本開示は、カランに関する。
続きを表示(約 2,300 文字)
【背景技術】
【0002】
特表2018-502788号公報には、注出チューブを通る飲料(加圧液体)の流動を許容又は停止するためのストップコックが記載されている。このストップコックは、ハウジング周壁によって画定されるチャンバを有するハウジング部分と、ハウジング周壁に嵌合し、チャンバ内で回転可能なプラグと、を備える。ハウジング周壁は、ハウジング周壁の外表面から内表面まで貫通する入口開口部及び出口開口部を有する。プラグは、プラグの外周壁に設けられた上流開口部から下流開口部まで延在するスルーチャネルを有する。
【0003】
飲料の流動を許容された状態において、スルーチャネルの上流開口部がハウジング周壁の入口開口部に連通すると共に、スルーチャネルの下流開口部がハウジング周壁の出口開口部に連通する。また、飲料の流動を停止された状態において、スルーチャネルの上流開口部及び下流開口部がハウジング周壁に対向する。
【先行技術文献】
【特許文献】
【0004】
特表2018-502788号公報
【発明の概要】
【発明が解決しようとする課題】
【0005】
前述したストップコックでは、チャンバ内でプラグが回転することでハウジング周壁とプラグの外周壁とが互いに擦れるため、経年使用によりハウジング周壁とプラグの外周壁とが摩耗しうる。ハウジングの入口開口部及び出口開口部、又はプラグ(スルーチャネル)の上流開口部及び下流開口部の周辺が摩耗した場合、入口開口部と上流開口部との間、及び出口開口部と下流開口部との間において、飲料の流れに異変が生じうる。よって、経年使用をした場合でも、飲料の流れを正常に保つことが求められる。
【0006】
本開示は、経年使用をした場合でも、飲料の流れを正常に保つことができるカランを提供することを目的とする。
【課題を解決するための手段】
【0007】
本開示に係るカランは、(1)飲料サーバーに収容された飲料を注出するカランである。カランは、飲料サーバーから飲料が供給されるカラン本体と、カラン本体と対向し、カラン本体と対向する方向である対向方向に延びる回転軸周りにカラン本体に対して回動可能に取り付けられたハンドル部と、を備える。カランは、ハンドル部がカラン本体に対して回動することで、飲料が注出される注出状態と、飲料の注出が止められる閉止状態と、を遷移可能である。カラン本体は、ハンドル部に対向する第1対向面と、飲料サーバーから供給された飲料を流通させ、第1対向面に形成された第1開口からカラン本体の内部に向かって延びる第1流路と、第1流路を流通した飲料を流通させ、第1対向面に形成された第2開口からカラン本体の内部に向かって延びる第2流路と、を有する。ハンドル部は、第1対向面に対向する第2対向面と、第1流路から第1開口を介して流入した飲料を第2開口まで流通させる流通部と、を有する。注出状態において、流通部は、第1流路及び第2流路の双方に連通して第1流路から第2流路へ飲料を流通させる。閉止状態において、第1開口及び第2開口の少なくともいずれかは、第2対向面に対向して、飲料の注出が止められる。
【0008】
本開示に係るカランでは、ハンドル部が対向方向に延びる回転軸周りにカラン本体に対して回動する。第1開口及び第2開口は、ハンドル部に対向する第1対向面に形成されている。これにより、第1開口及び第2開口を、回転軸を中心として回動する方向である回動方向に延びるカラン本体の外周面に形成する場合と比較して、回転軸に近い位置に形成できる。第1開口及び第2開口のそれぞれから回転軸までの距離が短いことにより、ハンドル部が回動したときにおけるハンドル部に対する第1開口及び第2開口の相対移動の距離を短くすることができる。すなわち、ハンドル部の回動時における第1開口及び第2開口の相対移動量を低減できる。よって、経年使用をした場合でも、第1開口及び第2開口の周辺における摩耗を抑制できる。本開示に係るカランでは、第1対向面における第1開口及び第2開口の周辺が摩耗しにくいので、経年使用をした場合でも、飲料の流れを正常に保つことができる。
【0009】
(2)上記の(1)において、第1流路は、第1開口から対向方向に延びていてもよい。第2流路は、第2開口から対向方向に延びていてもよい。ハンドル部は、カラン本体と対向方向に対向しており、対向方向に延びる回転軸周りに回動する。よって、ハンドル部がカラン本体に対して回動したとき、第1対向面が回動方向に摩耗する結果、第1流路及び第2流路が対向方向に擦り減るということが生じうる。前述したように、第1流路が第1開口から対向方向に延びており、第2流路が第2開口から対向方向に延びている場合、第1流路及び第2流路が対向方向に擦り減った場合でも、対向方向から見たときにおける第1開口、第2開口及び流通部の形状及び位置関係が変動しにくい。これにより、第1開口と流通部との間、及び第2開口と流通部との間において穴ずれが生じにくいので、経年使用をした場合でも、飲料の流れを一層正常に保つことができる。
【0010】
(3)上記の(1)又は(2)において、流通部は、第2対向面から窪んでいる溝部であってもよい。溝部は、注出状態において第1流路及び第2流路の双方に連通してもよい。この場合、流通部が第2対向面から窪んだ溝部であることにより、流通部を容易に洗浄することができ、メンテナンス性を向上することができる。
(【0011】以降は省略されています)
この特許をJ-PlatPat(特許庁公式サイト)で参照する
関連特許
個人
万能シリコン漏斗。
3か月前
株式会社タツノ
給油装置
1か月前
澁谷工業株式会社
キャッパ
8か月前
株式会社タツノ
給油認証システム
10日前
澁谷工業株式会社
充填装置
5か月前
有限会社ユウアイ
内容物充填装置
1か月前
株式会社サイレック
キャッパー装置
12か月前
靜甲株式会社
キャップの巻締め機構
3か月前
個人
ボトルキャップ用開栓具
10か月前
個人
開封具
4か月前
富士電機株式会社
液体供給装置
11か月前
株式会社青木製作所
タンクローリの配管装置
11か月前
澁谷工業株式会社
キャッピング装置
8か月前
澁谷工業株式会社
キャッピング装置
3か月前
ホシザキ株式会社
飲料供給装置
7か月前
ホシザキ株式会社
飲料供給装置
8か月前
個人
液体注出補助具
3か月前
ホシザキ株式会社
飲料供給装置
8か月前
キリンホールディングス株式会社
飲料注出装置
3か月前
日本クロージャー株式会社
ボトルケース
11か月前
AW・ウォーター株式会社
液体供給装置
12か月前
株式会社吉野工業所
高温充填方法
8か月前
キリンホールディングス株式会社
容器の保管装置
2か月前
靜甲株式会社
キャップ保持機構並びにキャッパー
3か月前
サッポロビール株式会社
カラン
9か月前
アサヒ飲料株式会社
炭酸飲料製造ラインの制御方法
8か月前
澁谷工業株式会社
充填装置の洗浄・殺菌システム
1か月前
富士電機株式会社
飲料供給装置
8か月前
サッポロビール株式会社
飲料サーバー
8か月前
富士電機株式会社
飲料供給装置
3か月前
富士電機株式会社
飲料供給装置
8か月前
サッポロビール株式会社
飲料サーバー
3か月前
富士電機株式会社
飲料供給装置
8か月前
Kyopalab合同会社
詰替装置および詰替方法
1か月前
トキコシステムソリューションズ株式会社
給液装置
6か月前
富士電機株式会社
飲料提供装置
11か月前
続きを見る
他の特許を見る