TOP
|
特許
|
意匠
|
商標
特許ウォッチ
Twitter
他の特許を見る
10個以上の画像は省略されています。
公開番号
2025011839
公報種別
公開特許公報(A)
公開日
2025-01-24
出願番号
2023114197
出願日
2023-07-12
発明の名称
キャッピング装置
出願人
澁谷工業株式会社
代理人
個人
,
個人
主分類
B67B
1/04 20060101AFI20250117BHJP(びん,広口びんまたは類似の容器の開封または密封;液体の取扱い)
要約
【課題】 樹脂容器と脆性材料容器との型替えを効率的に行う。
【解決手段】 容器にキャップCを打栓するキャッピングヘッド5aと、容器を把持するグリッパGと、容器を支持する載置プレート12とを備えたキャッピング装置2に関する。
載置プレート12の高さを変更する間隔調整手段13を設け、上記グリッパGの把持部材は、上面が平坦な金属製のフランジ支持部41と、上記フランジ支持部41よりも内側に突出し、かつ上面よりも上方に突出しないように設けた弾性素材からなる当接部42とを備える。
樹脂容器1RにキャップCを打栓する際、上記フランジ支持部41が上記樹脂容器1Rのフランジ部1aに下方から当接し、ガラス容器1G(脆性材料容器)にキャップCを打栓する際には、上記間隔調整手段13が載置プレート12の高さを調整して、上記フランジ支持部41がガラス容器1Gに接触しないようにする。
【選択図】 図7
特許請求の範囲
【請求項1】
容器にキャップを打栓するキャッピングヘッドと、容器を把持するグリッパと、容器を下方から支持する載置プレートとを備え、
首部にフランジが形成された樹脂からなる容器にキャップを打栓する際には、上記グリッパによって上記フランジの下部を把持し、脆性材料からなる容器にキャップを打栓する際には、上記載置プレートによって当該容器を下方から支持するキャッピング装置において、
上記グリッパと上記載置プレートとの間隔を変更する間隔調整手段を設け、
上記グリッパは、開閉可能に設けられた一対の把持部材を有し、当該把持部材は、金属で形成されるとともに上面が平坦に形成されたフランジ支持部と、上記フランジ支持部の内縁よりも内側に突出するとともに、当該フランジ支持部の上面よりも上方に突出しないように設けた弾性素材からなる当接部とを備え、
上記樹脂容器にキャップを打栓する際には、上記把持部材の上記フランジ支持部によって上記樹脂容器を上記フランジの下方から支持した状態で把持し、
上記脆性材料容器にキャップを打栓する際には、上記間隔調整手段によってグリッパと上記載置プレートとの間隔を調整して、上記把持部材の当接部を容器に接触させた状態で把持するとともに、上記フランジ支持部は容器の表面に接触しないようにすることを特徴とするキャッピング装置。
発明の詳細な説明
【技術分野】
【0001】
本発明はキャッピング装置に関し、詳しくは容器にキャップを打栓するキャッピングヘッドと、容器を把持するグリッパと、容器を下方から支持する載置プレートとを備えたキャッピング装置に関する。
続きを表示(約 3,500 文字)
【背景技術】
【0002】
従来、容器にキャップを装着するキャッピング装置として、上記容器に対して上記キャップを上方から押圧して打栓するものが知られ、ペットボトルなどの樹脂容器や、ガラス容器などの脆性材料容器にキャップを装着可能としたものも知られている(特許文献1)。
上記特許文献1のキャッピング装置では、樹脂容器にキャップを装着する際には、上記容器の首部に形成されたフランジ部の下方をグリッパによって把持した状態でキャッピングを行い、上記脆性材料容器にキャップを装着する際には、上記グリッパを取り外すとともに、上記容器を載置プレートによって支持した状態でキャッピングを行っている。
具体的に説明すると、上記樹脂容器にキャップを打栓する際には、グリッパによって上記フランジの下方を把持することで、当該グリッパがキャッピングヘッドからの圧力を受けるようになっている。
これに対し、脆性材料容器にキャップを打栓する際には、載置プレートによって上記容器を支持することで、当該載置プレートがキャッピングヘッドからの圧力を受けるようになっている。
【先行技術文献】
【特許文献】
【0003】
特開2002-240890号公報
【発明の概要】
【発明が解決しようとする課題】
【0004】
上記特許文献1では、脆性材料容器にキャップを打栓するためにはグリッパを取り外す作業が必要となっており、型替えの作業が煩雑であり、またキャッピングの際にはキャッピングヘッドに保持されたキャップの中心と容器の中心を一致させるセンタリングを行わなければならない。
しかしながら、脆性材料容器を上記特許文献1に開示されたグリッパの把持部材が金属製であると、キャップを打栓する際に脆性材料容器における把持部材との接触部分が衝撃によって破損する恐れがあった。
このような問題に鑑み、本発明は樹脂容器と脆性材料容器との型替えを容易に行うことが可能なキャッピング装置を提供するものである。
【課題を解決するための手段】
【0005】
すなわち請求項1の発明にかかるキャッピング装置は、容器にキャップを打栓するキャッピングヘッドと、容器を把持するグリッパと、容器を下方から支持する載置プレートとを備え、
首部にフランジが形成された樹脂からなる容器にキャップを打栓する際には、上記グリッパによって上記フランジの下部を把持し、脆性材料からなる容器にキャップを打栓する際には、上記載置プレートによって当該容器を下方から支持するキャッピング装置において、
上記グリッパと上記載置プレートとの間隔を変更する間隔調整手段を設け、
上記グリッパは、開閉可能に設けられた一対の把持部材を有し、当該把持部材は、金属で形成されるとともに上面が平坦に形成されたフランジ支持部と、上記フランジ支持部の内縁よりも内側に突出するとともに、当該フランジ支持部の上面よりも上方に突出しないように設けた弾性素材からなる当接部とを備え、
上記樹脂容器にキャップを打栓する際には、上記把持部材の上記フランジ支持部によって上記樹脂容器を上記フランジの下方から支持した状態で把持し、
上記脆性材料容器にキャップを打栓する際には、上記間隔調整手段によってグリッパと上記載置プレートとの間隔を調整して、上記把持部材の当接部を容器に接触させた状態で把持するとともに、上記フランジ支持部は容器の表面に接触しないようにすることを特徴としている。
【発明の効果】
【0006】
上記発明によれば、間隔調整手段によって上記グリッパと上記載置プレートとの間隔を変更することにより、上記グリッパが容器を保持する位置を調整することができる。
上記樹脂容器にキャップを打栓する際には、金属製のフランジ支持部が樹脂容器のフランジを下方から支持することで、キャッピングヘッドからの圧力を受けながらキャップを打栓することができる。
一方、上記脆性材料容器にキャップを打栓する際には、弾性素材からなる当接部を容器の表面に接触させて把持することで、キャッピングヘッドとのセンタリングを行うことができ、キャッピングヘッドからの圧力は上記載置プレートによって受けることができる。一方、金属製のフランジ支持部は容器の表面に接触しないことから、脆性材料容器の破損を防止することができる。
【図面の簡単な説明】
【0007】
本実施形態にかかるキャッピング装置の平面図
図1におけるII-II部の断面図
グリッパの側面図
グリッパの平面図
グリッパを回転テーブルの中心側から見た図
樹脂容器を把持した状態を示す断面図
ガラス容器を把持した状態を示す断面図
図1におけるVIII-VIII部の断面図
グリッパを大径用開閉位置および小径用開閉位置に位置させる際の動作を説明する図
【発明を実施するための形態】
【0008】
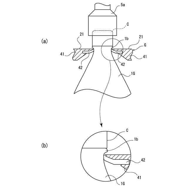
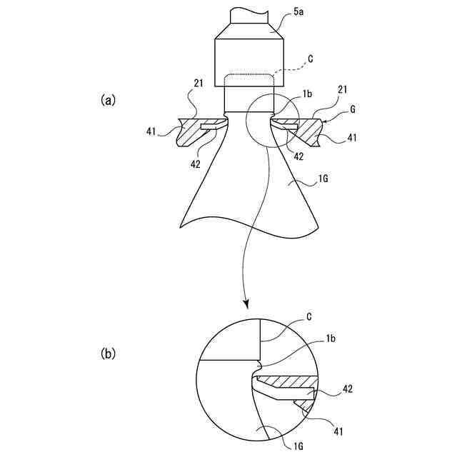
以下図示実施形態について説明すると、図1は容器1にキャップCを装着するキャッピング装置2を示しており、上記容器1として、樹脂容器1R(図6(a)参照)および脆性材料容器としてのガラス容器1G(図7(a)参照)にキャップCの装着をすることが可能となっている。
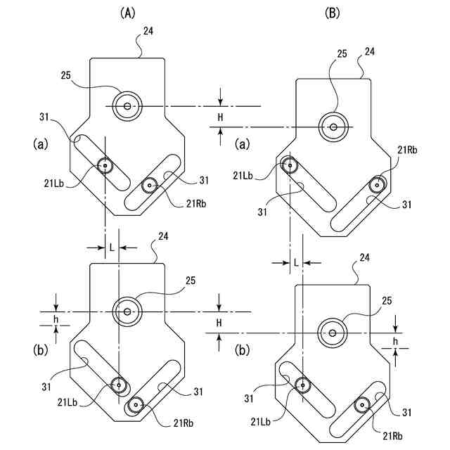
また本実施形態のキャッピング装置は、図4(a)(b)に示すように、小径の容器1Sおよび大径の容器1Lであっても、これらの容器1の中心をセンタリングしてキャップCを装着することが可能となっている。
上記樹脂容器1Rは例えばPETなどの樹脂からなり、図6(a)に示すように容器の首部にはフランジ部1aが形成され、樹脂容器1Rを搬送する際には当該フランジ部1aの下部をグリッパGによって把持するようになっている。
これに対し、脆性材料からなる上記ガラス容器1Gには、図7(a)に示すように開口部に厚肉部1bが形成されているものの、上記樹脂容器1Rのフランジ部1aに相当する構成は備えておらず、ガラス容器1Gを搬送する際には下記載置プレート12によって下方から支持するようになっている。なお、脆性材料としては上記ガラスの他、陶器などが考えられる。
【0009】
そして上記キャッピング装置2は、上記容器1を搬送方向上流側から順に設けられた供給コンベヤ3、供給ホイール4、キャッピングホイール5、排出ホイール6、排出コンベヤ7によって搬送しながら、上記キャッピングホイール5に設けられたキャッピングヘッド5a(図2参照)によって容器1にキャップCを装着するようになっている。
上記キャッピングホイール5の外周には容器1を把持するグリッパGが等間隔に設けられており、例えば供給ホイール4とキャッピングホイール5とが接近した位置で容器1の受け渡しを行うようになっている。
【0010】
図2は図1におけるII-II部の断面図を示し、上記キャッピングホイール5の断面図を示したものとなっている。
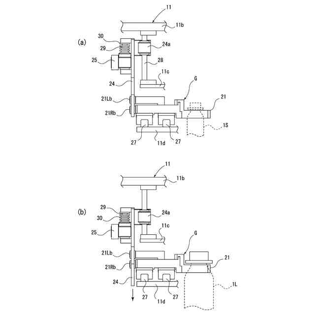
キャッピングホイール5は、回転軸11aを中心に回転する回転テーブル11と、当該回転テーブル11の外周に沿って等間隔に設けられたグリッパGと、当該グリッパGの下方に設けられた載置プレート12と、各グリッパGの上方に設けられたキャッピングヘッド5aとから構成されている。
また上記キャッピングホイール5は図示しない駆動手段によって駆動されるとともに、隣接して設けられた上記供給ホイール4および排出ホイール6と同期して回転するように構成されている。
上記グリッパGは、上記回転テーブル11の略中央の高さに設けられた支持プレート11bの下方に設けられ、後述する開閉機構22によって把持部材21を開閉させることにより容器1の首部の把持および解放を行うようになっている。
また本実施形態のグリッパGは間隔設定機構23を備え、把持部材21の間隔を、大径の容器1Lを把持可能な大径用開閉位置(図4(b))と、小径の容器1Sを把持可能な小径用開閉位置(図4(a))とに設定することが可能となっている。
(【0011】以降は省略されています)
この特許をJ-PlatPat(特許庁公式サイト)で参照する
関連特許
澁谷工業株式会社
透析装置
5日前
澁谷工業株式会社
透析装置
5日前
澁谷工業株式会社
容器搬送装置
1か月前
澁谷工業株式会社
容器搬送装置
1か月前
澁谷工業株式会社
容器整列装置
1か月前
澁谷工業株式会社
容器処理システム
1か月前
澁谷工業株式会社
パウチ・ボトル兼用グリッパ
1か月前
澁谷工業株式会社
充填装置の洗浄・殺菌システム
1か月前
澁谷工業株式会社
充填装置の洗浄システムおよび洗浄方法
1か月前
澁谷工業株式会社
アイソレータとアイソレータの除染方法
2か月前
澁谷工業株式会社
学習データの作成方法および学習データの作成システム
1か月前
個人
万能シリコン漏斗。
3か月前
株式会社タツノ
給油装置
1か月前
澁谷工業株式会社
キャッパ
8か月前
株式会社タツノ
給油認証システム
10日前
澁谷工業株式会社
充填装置
5か月前
有限会社ユウアイ
内容物充填装置
1か月前
株式会社サイレック
キャッパー装置
12か月前
靜甲株式会社
キャップの巻締め機構
3か月前
個人
ボトルキャップ用開栓具
10か月前
個人
開封具
4か月前
富士電機株式会社
液体供給装置
11か月前
株式会社青木製作所
タンクローリの配管装置
11か月前
澁谷工業株式会社
キャッピング装置
8か月前
澁谷工業株式会社
キャッピング装置
3か月前
ホシザキ株式会社
飲料供給装置
7か月前
ホシザキ株式会社
飲料供給装置
8か月前
個人
液体注出補助具
3か月前
ホシザキ株式会社
飲料供給装置
8か月前
キリンホールディングス株式会社
飲料注出装置
3か月前
日本クロージャー株式会社
ボトルケース
11か月前
AW・ウォーター株式会社
液体供給装置
12か月前
株式会社吉野工業所
高温充填方法
8か月前
キリンホールディングス株式会社
容器の保管装置
2か月前
靜甲株式会社
キャップ保持機構並びにキャッパー
3か月前
サッポロビール株式会社
カラン
9か月前
続きを見る
他の特許を見る