TOP
|
特許
|
意匠
|
商標
特許ウォッチ
Twitter
他の特許を見る
10個以上の画像は省略されています。
公開番号
2025073318
公報種別
公開特許公報(A)
公開日
2025-05-13
出願番号
2023183979
出願日
2023-10-26
発明の名称
消波ブロック把持装置及び消波ブロック移動方法
出願人
鈴健興業株式会社
代理人
個人
主分類
B66C
1/44 20060101AFI20250502BHJP(巻上装置;揚重装置;牽引装置)
要約
【課題】消波ブロックを把持して移動させることを、人力で危険なワイヤの玉掛け作業せずに安全でありながら、小型軽量でかつ様々な姿勢の消波ブロックを様々な姿勢で配置可能とする消波ブロック把持装置を提供する。
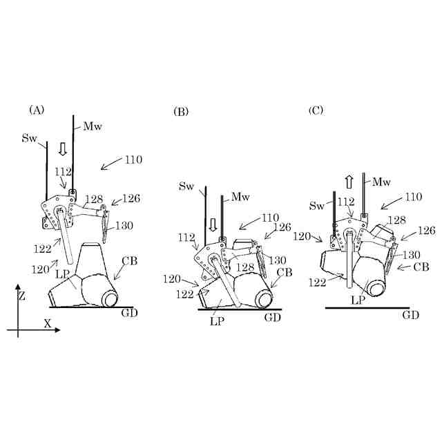
【解決手段】消波ブロック把持装置110であって、2つの脚部LPそれぞれの径方向を保持可能な保持機構120及び係合部材126と、作業機械100に回動可能に支持され、保持機構120及び係合部材126を支持するブラケット112と、を備え、保持機構120は、2つの脚部LPのうちの1方の脚部LPを把持可能な1対の保持部材122と、1対の保持部材122をそれぞれ回動駆動させる直動機構124と、を備え、係合部材126は、ブラケット112に両端部が取付られることで形成されるリングの内径が脚部LPの最小外径以上とされる湾曲部材128と、消波ブロックCBを支持可能な支持部材130と、を備える。
【選択図】図1
特許請求の範囲
【請求項1】
作業機械に支持され、互いに異なる方向に延びる複数の脚部を備える消波ブロックを把持可能とする消波ブロック把持装置であって、
前記複数の脚部のうちの2つの脚部それぞれの径方向を保持可能な保持機構及び係合部材と、
前記作業機械に回動可能に支持され、該保持機構及び係合部材を支持するブラケットと、
を備え、
該保持機構は、該ブラケットに回動可能に支持され、互いの先端部が接近することで、前記2つの脚部のうちの1方の脚部を把持可能な1対の保持部材と、該ブラケットを貫通し該1対の保持部材の上端部それぞれに端部が接続され、該1対の保持部材をそれぞれ回動駆動させる直動機構と、を備え、
前記係合部材は、該ブラケットに両端部が取付られることで形成されるリングの内径が前記脚部の最小外径以上とされる湾曲部材と、該湾曲部材に固定され前記1対の保持部材の先端部側に延在し、前記消波ブロックを支持可能な支持部材と、を備えることを特徴とする消波ブロック把持装置。
続きを表示(約 1,300 文字)
【請求項2】
請求項1において、
前記1対の保持部材の先端部側の方向と、前記支持部材の先端部側の方向とは、交差する構成とされていることを特徴とする消波ブロック把持装置。
【請求項3】
請求項1において、
前記消波ブロックを把持した際の前記1対の保持部材の内側形状の中心位置は、該1対の保持部材を平面視した際に、前記支持部材上にくることを特徴とする消波ブロック把持装置。
【請求項4】
請求項1において、
前記湾曲部材を含む第1平面は、前記1対の保持部材を含む第2平面と鋭角に交差し、かつ、前記支持部材の先端部側の方向とは直交することを特徴とする消波ブロック把持装置。
【請求項5】
請求項1において、
前記ブラケットは、前記1対の保持部材を含む第2平面に直交し、該1対の保持部材それぞれから等距離に存在する第3平面に対して、対称な形状とされ、且つ
該1対の保持部材及び前記係合部材は、該第3平面に対して、対称な形状とされていることを特徴とする消波ブロック把持装置。
【請求項6】
請求項1において、
前記ブラケットには、前記作業機械に回動可能に支持された際に、前記保持機構と前記係合部材との位置関係を変更させる変更部材が設けられていることを特徴とする消波ブロック把持装置。
【請求項7】
請求項1乃至6のいずれかにおいて、
前記ブラケットは、1対の取付板を備え、
前記1対の保持部材はそれぞれ、該1対の取付板の外側で回動可能に支持され、かつ、前記係合部材の端部は、前記1対の取付板それぞれに連結されていることを特徴とする消波ブロック把持装置。
【請求項8】
作業機械に支持され、互いに異なる方向に延びる複数の脚部を備える消波ブロックを把持可能とする消波ブロック把持装置であって、
前記複数の脚部のうちの2つの脚部それぞれの径方向を保持可能な保持機構及び係合部材と、前記作業機械に回動可能に支持され、該保持機構及び係合部材を支持するブラケットと、を備え、
該保持機構は、該ブラケットに回動可能に支持され、互いの先端部が接近することで、前記2つの脚部のうちの1方の脚部を把持可能な1対の保持部材と、該ブラケットを貫通し該1対の保持部材の上端部それぞれに端部が接続され、該1対の保持部材をそれぞれ回動駆動させる直動機構と、を備え、前記係合部材は、該ブラケットに両端部が取付られることで形成されるリングの内径が前記脚部の最小外径以上とされる湾曲部材と、該湾曲部材に固定され前記1対の保持部材の先端部側に延在し、前記消波ブロックを支持可能な支持部材と、を備え、
1つの前記脚部が上方を向いた状態で前記消波ブロックを配置する場合には、前記湾曲部材で該1つの脚部を保持し、前記1対の保持部材で他の1つの脚部を保持し、
1つの前記脚部が下方を向いた状態で前記消波ブロックを配置する場合には、前記1対の保持部材で該1つの脚部とは異なる脚部を保持し、該異なる脚部の下に配置した前記支持部材で前記消波ブロックを支持する
ことを特徴とする該消波ブロック把持装置。
発明の詳細な説明
【技術分野】
【0001】
本発明は、消波ブロック把持装置に関する。
続きを表示(約 2,200 文字)
【背景技術】
【0002】
従来、正四面体の重心位置から各頂点の方向に延びる、すなわち互いに異なる方向に延びる4つの脚部を備えるコンクリート製の消波ブロックは、その独特の形状から、複数を重ねて配置すると強い結合力が得られる。このため、消波ブロックは、川や海で発生する波のエネルギーを効果的に減衰・消散させることができるので、消波根固ブロック、波消しブロックなどとも呼ばれ、護岸や水利を目的に使用されている。
【0003】
しかしながら、この消波ブロックの独特な形状により、基本的に、クレーンなどの作業機械による吊り上げ・吊り下ろしの際には、複数のワイヤを使用せざるをえない状態である。そして、この消波ブロックの下部に回した複数のワイヤの結合・切り離し(ワイヤの玉掛け作業(台付け作業))のほとんどは人力で行われている状態である。ここで、この消波ブロックは大きな重量とされているので、使用するワイヤも重く、人力でワイヤの結合・切り離しを行うだけでも非常に多くの労力を必要とする。また、この消波ブロックが使用される現場は、足場の悪い状況であり、作業員にとっては多くの危険を伴う。特に、複数の消波ブロックを重ねて配置する際には、下にくる消波ブロックの近傍にある消波ブロック上で作業員が指示を出す必要があるが、消波ブロックの表面が滑りやすく不安定な作業環境となっている。それにより、作業員の滑落や転倒などが生じやすく多くの事故が発生している。
【0004】
このため、従来様々な把持装置が提案されている。例えば、特許文献1の把持装置では、人力で危険なワイヤの玉掛け作業を解決すべく、3つの保持部材を閉じることで、平面視で3方向に延在する脚部の結合部分を把持する構成を備えている。即ち、特許文献1では、消波ブロックを上から下まで3つの側面でカバーし、重心部分近傍を3つの保持部材で支持する構成となっているので、消波ブロックを安定して把持し移動することが可能となっている。
【先行技術文献】
【特許文献】
【0005】
特開2019-85179号公報
【発明の概要】
【発明が解決しようとする課題】
【0006】
しかしながら、特許文献1で示す把持装置では、1つの脚部が真下を向いている場合と真上を向いている状態を想定しているため、1つの脚部をすべて抱え込むための大きさが把持装置に必要とされている(例えば、重量約16トンで高さ約3mの消波ブロックに対して、把持装置は重量約12トンで高さ約6m)。このため、特許文献1の把持装置自体が消波ブロックに対して大きくかつ大重量となって、手軽に使用するのが困難なおそれがあった。
【0007】
そこで、本発明は、前記問題点を解決するべくなされたもので、消波ブロックを把持して移動させることを、人力で危険なワイヤの玉掛け作業せずに安全でありながら、小型軽量でかつ様々な姿勢の消波ブロックを様々な姿勢で配置可能とする消波ブロック把持装置を提供することを課題とする。
【課題を解決するための手段】
【0008】
本発明は、作業機械に支持され、互いに異なる方向に延びる複数の脚部を備える消波ブロックを把持可能とする消波ブロック把持装置であって、前記複数の脚部のうちの2つの脚部それぞれの径方向を保持可能な保持機構及び係合部材と、前記作業機械に回動可能に支持され、該保持機構及び係合部材を支持するブラケットと、を備え、該保持機構が、該ブラケットに回動可能に支持され、互いの先端部が接近することで、前記2つの脚部のうちの1方の脚部を把持可能な1対の保持部材と、該ブラケットを貫通し該1対の保持部材の上端部それぞれに端部が接続され、該1対の保持部材をそれぞれ回動駆動させる直動機構と、を備え、前記係合部材が、該ブラケットに両端部が取付られることで形成されるリングの内径が前記脚部の最小外径以上とされる湾曲部材と、該湾曲部材に固定され前記1対の保持部材の先端部側に延在し、前記消波ブロックを支持可能な支持部材と、を備えたことにより、前記課題を解決したものである。
【0009】
本発明では、互いに異なる方向に延びる複数の脚部を備える消波ブロックの複数の脚部のうちの2つの脚部それぞれの径方向を保持可能な保持機構及び係合部材を備える。即ち、保持機構及び係合部材は、2つの脚部それぞれの径方向を保持する構成でよいため、1つの脚部を丸ごと抱え込むような大きさの保持機構を必要としない構成とすることが可能である。更に、係合部材は、ブラケットに両端部が取付られることで形成されるリングの内径が脚部の最小外径以上とされる湾曲部材と、湾曲部材に固定され1対の保持部材の先端部側に延在し、消波ブロックを支持可能な支持部材と、を備える構成であることから、係合部材を軽く構成する事が可能となる。
【0010】
同時に、ブラケットを貫通し1対の保持部材の上端部それぞれに端部が接続され、1対の保持部材をそれぞれ回動駆動させる直動機構を備える構成である。このため、消波ブロック把持装置において、ブラケットの端部から、1対の保持部材の先端部までの距離、即ち消波ブロック把持装置の上下方向の長さを極めて短くでき、それに伴い更なる軽量化が可能となる。
(【0011】以降は省略されています)
この特許をJ-PlatPat(特許庁公式サイト)で参照する
関連特許
鈴健興業株式会社
敷板部材
5日前
鈴健興業株式会社
消波ブロック保持装置
2か月前
鈴健興業株式会社
流体放出ユニット及び作業機械
2か月前
鈴健興業株式会社
湿式選別システムおよび湿式選別方法
13日前
鈴健興業株式会社
消波ブロック把持装置及び消波ブロック移動方法
4か月前
個人
自走手摺
2か月前
ユニパルス株式会社
吊具
4か月前
個人
海上コンテナ昇降装置
10か月前
ユニパルス株式会社
吊具装置
10か月前
ユニパルス株式会社
荷役装置
9か月前
株式会社豊田自動織機
産業車両
10か月前
株式会社いうら
車椅子用昇降機
2か月前
株式会社豊田自動織機
産業車両
27日前
水戸工業株式会社
吊り具
6か月前
ユニパルス株式会社
リフト装置
4か月前
株式会社豊田自動織機
荷役車両
8か月前
株式会社豊田自動織機
荷役車両
9か月前
愛知製鋼株式会社
受け架台
1か月前
白山工業株式会社
バランサ
6か月前
株式会社伊藤
滑り止め装置
2か月前
株式会社大林組
安全支援システム
1か月前
個人
垂直自動搬送機
28日前
ユニパルス株式会社
荷役助力装置
5か月前
大栄産業株式会社
クランプ
4か月前
ユニパルス株式会社
荷役助力装置
3か月前
個人
エアバック式レスキュー用品
1日前
ユニパルス株式会社
荷役助力装置
4か月前
個人
建築部材の吊り上げ装置
11か月前
株式会社ユピテル
システム等
6か月前
株式会社キトー
タイヤ用吊具
5か月前
フジテック株式会社
エレベータ
8か月前
大和ハウス工業株式会社
吊上具
1か月前
株式会社五十鈴製作所
搬送装置
4か月前
株式会社豊田自動織機
フォークリフト
20日前
中国計量大学
電子安全クランプ
9日前
新英運輸株式会社
自動車用台車
5か月前
続きを見る
他の特許を見る