TOP
|
特許
|
意匠
|
商標
特許ウォッチ
Twitter
他の特許を見る
公開番号
2025074555
公報種別
公開特許公報(A)
公開日
2025-05-14
出願番号
2023185430
出願日
2023-10-30
発明の名称
油圧システム
出願人
株式会社不二越
代理人
個人
,
個人
主分類
F15B
11/028 20060101AFI20250507BHJP(流体圧アクチュエータ;水力学または空気力学一般)
要約
【課題】減圧弁の発熱に起因するエネルギー損失を抑制することができ、エネルギー効率およびコストの削減を図ることが可能な油圧ユニットを提供することを目的とする。
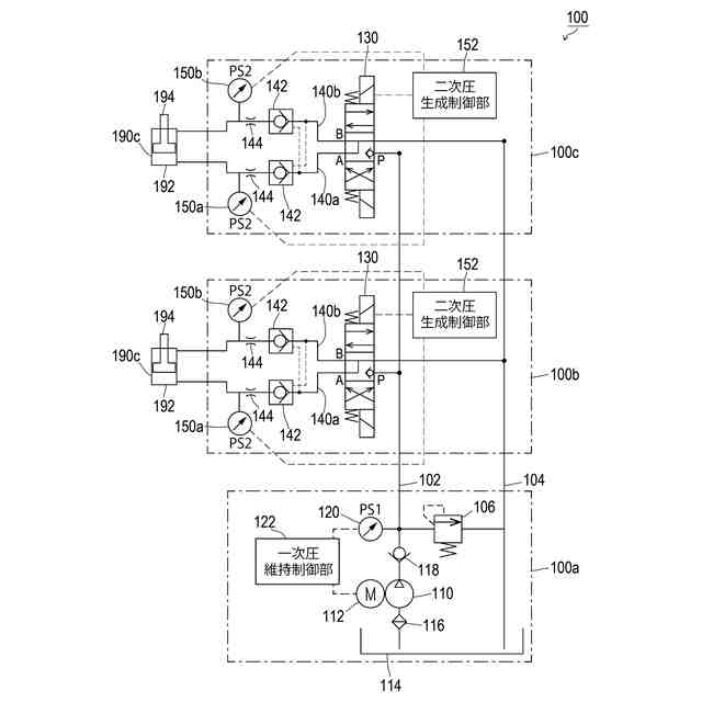
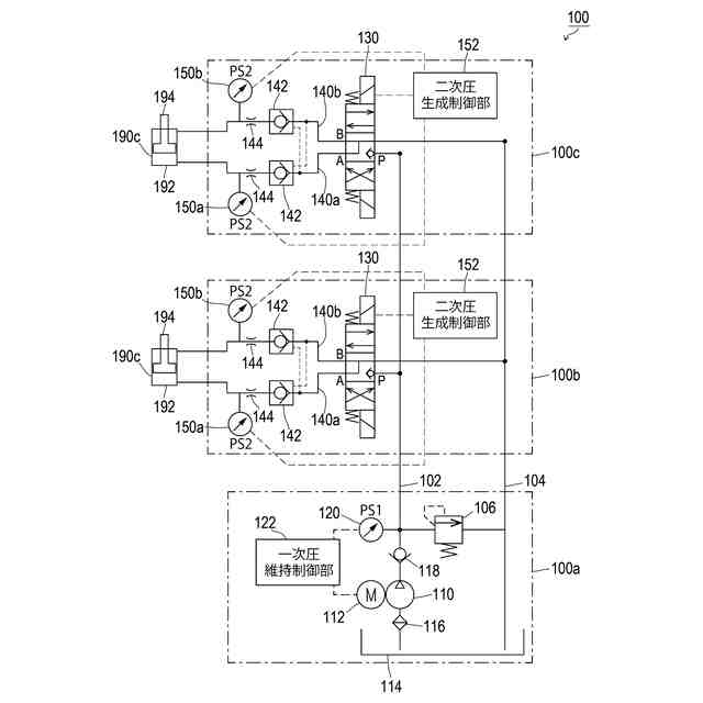
【解決手段】本発明にかかる油圧システムの構成は、油圧ポンプ110と、アクチュエータ(第1アクチュエータ190b、第2アクチュエータ190c)に油圧を供給する切換弁130と、切換弁130の一次側の圧力を検出する第1圧力センサ120と、切換弁130の二次側の圧力を検出する第2圧力センサ150a、150bと、を備え、油圧ポンプ110は、第1圧力センサ120が検出した圧力に基づいて一次側圧力を維持するように動作し、切換弁130は、第2圧力センサ150a、150bが検出した圧力に基づいて、一次側圧力より低圧である二次側圧力を維持するようにON・OFF制御を行うことを特徴とする。
【選択図】図1
特許請求の範囲
【請求項1】
油圧ポンプと、
アクチュエータに作動油を供給する切換弁と、
切換弁の一次側の圧力を検出する第1圧力センサと、
切換弁の二次側の圧力を検出する第2圧力センサと、
を備え、
前記油圧ポンプは、前記第1圧力センサが検出した圧力に基づいて一次側圧力を維持するように動作し、
前記切換弁は、前記第2圧力センサが検出した圧力に基づいて、前記一次側圧力より低圧である二次側圧力を維持するようにON・OFF制御を行うことを特徴とする油圧システム。
発明の詳細な説明
【技術分野】
【0001】
本発明は、油圧ポンプから吐出した作動油をアクチュエータに供給する油圧システムに関する。
続きを表示(約 1,500 文字)
【背景技術】
【0002】
従来から、油圧ポンプから吐出した作動油をアクチュエータに供給する油圧システムが知られている。特に、アキュムレータと減圧弁を用いて、アクチュエータの油圧シリンダが動作しても油圧を安定させ、かつ油圧ポンプの容量を抑えた油圧システムが知られている。
【0003】
例えば特許文献1には、「一次側管路に接続する油圧ポンプと、前記一次側管路に接続するとともに前記油圧ポンプから吐出される作動油を蓄えるアキュムレータと、前記アキュムレータからの作動油を導入する前記一次側管路及び導入した作動油をアクチュエータに向けて排出する二次側管路のそれぞれを接続するとともに、前記二次側管路における作動油の圧力を前記一次側管路よりも低い圧力に調整するノンリーク型減圧弁とを備え、前記二次側管路は、前記一次側管路に対して前記ノンリーク型減圧弁のみを介して接続されていて、前記油圧ポンプは、前記アクチュエータに対して前記二次側管路を介してのみ接続していること」を特徴とする油圧ユニットが開示されている。
【先行技術文献】
【特許文献】
【0004】
特許第5782483号公報
【発明の概要】
【発明が解決しようとする課題】
【0005】
特許文献1の油圧ユニットでは、一次側管路と二次側管路とをノンリーク型減圧弁のみによって接続し、ノンリーク型減圧弁(以下、単に減圧弁と称する)によって一次側管路の圧力よりも低い圧力に調整した作動油を二次側管路へ送給している。しかしながら、減圧弁は、発熱しやすい部品であるためエネルギー損失が大きい。このため、油圧ユニットのおけるエネルギー効率を向上するべく、更なる改善が求められていた。
【0006】
本発明は、このような課題に鑑み、減圧弁の発熱に起因するエネルギー損失を抑制することができ、エネルギー効率およびコストの削減を図ることが可能な油圧ユニットを提供することを目的としている。
【課題を解決するための手段】
【0007】
上記課題を鑑み、本発明にかかる油圧システムの代表的な構成は、油圧ポンプと、アクチュエータに油圧を供給する切換弁と、切換弁の一次側の圧力を検出する第1圧力センサと、切換弁の二次側の圧力を検出する第2圧力センサと、を備え、油圧ポンプは、第1圧力センサが検出した圧力に基づいて一次側圧力を維持するように動作し、切換弁は、第2圧力センサが検出した圧力に基づいて、一次側圧力より低圧である二次側圧力を維持するようにON・OFF制御を行うことを特徴とする。
【発明の効果】
【0008】
本発明によれば、減圧弁の発熱に起因するエネルギー損失を抑制することができ、エネルギー効率およびコストの削減を図ることが可能な油圧ユニットを提供することができる。
【図面の簡単な説明】
【0009】
本実施形態にかかる油圧システムを説明する油圧回路図である。
【発明を実施するための形態】
【0010】
以下に添付図面を参照しながら、本発明の好適な実施形態について詳細に説明する。かかる実施形態に示す寸法、材料、その他具体的な数値などは、発明の理解を容易とするための例示に過ぎず、特に断る場合を除き、本発明を限定するものではない。なお、本明細書及び図面において、実質的に同一の機能、構成を有する要素については、同一の符号を付することにより重複説明を省略し、また本発明に直接関係のない要素は図示を省略する。
(【0011】以降は省略されています)
この特許をJ-PlatPat(特許庁公式サイト)で参照する
関連特許
株式会社不二越
ドリル
1か月前
株式会社不二越
ロボット
今日
株式会社不二越
蓄圧装置
2か月前
株式会社不二越
硬質材料
13日前
株式会社不二越
電磁切替弁
1か月前
株式会社不二越
NC転造盤
2か月前
株式会社不二越
ブローチ盤
1か月前
株式会社不二越
転がり軸受
1か月前
株式会社不二越
射出成形機
1か月前
株式会社不二越
ブローチ盤
13日前
株式会社不二越
ベーンポンプ
2か月前
株式会社不二越
駆動伝達装置
1か月前
株式会社不二越
保持器付き軸受
2か月前
株式会社不二越
熱処理システム
23日前
株式会社不二越
アクチュエータ
23日前
株式会社不二越
保持器付き軸受
1か月前
株式会社不二越
ロボットシステム
1か月前
株式会社不二越
ロボットシステム
1か月前
株式会社不二越
エッジ仕上げ装置
13日前
株式会社不二越
ノンリーク三方弁
3日前
株式会社不二越
ロボット操作装置
29日前
株式会社不二越
ロボットシステム
24日前
株式会社不二越
ロボットシステム
21日前
株式会社不二越
油圧駆動システム
1か月前
株式会社不二越
スカイビング加工機
1か月前
株式会社不二越
スカイビング加工機
1か月前
株式会社不二越
垂直多関節ロボット
14日前
株式会社不二越
複合アクチュエータ
3日前
株式会社不二越
移動ロボットシステム
3日前
株式会社不二越
協働ロボットシステム
2か月前
株式会社不二越
製品選定装置及びプログラム
2か月前
株式会社不二越
可変容量制御ピストンポンプ
3日前
株式会社不二越
情報処理装置及びプログラム
2か月前
株式会社不二越
X線回折測定装置及びプログラム
1か月前
株式会社不二越
X線回折測定装置及びプログラム
3日前
株式会社不二越
合金鋼およびそれを用いた機械部品
2か月前
続きを見る
他の特許を見る