TOP
|
特許
|
意匠
|
商標
特許ウォッチ
Twitter
他の特許を見る
公開番号
2025011938
公報種別
公開特許公報(A)
公開日
2025-01-24
出願番号
2023114392
出願日
2023-07-12
発明の名称
流体漏れ検出装置
出願人
トヨタ自動車株式会社
代理人
個人
主分類
F15B
20/00 20060101AFI20250117BHJP(流体圧アクチュエータ;水力学または空気力学一般)
要約
【課題】流体漏れが発生した箇所を特定できる流体漏れ検出装置を提供する。
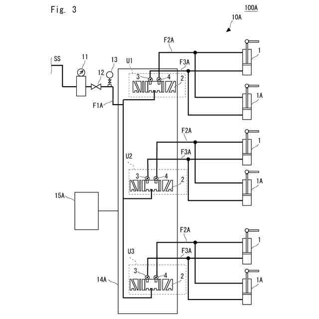
【解決手段】本開示に係る流体漏れ検出装置10は、流体供給源SSと、バルブ装置2,14と、駆動装置1とを備えた流体回路100における流体漏れを検出する。流体漏れ検出装置10は、流体供給源SSとバルブ装置2,14とを結ぶ第1の流路F1に設けられた第1の圧力センサ13と、バルブ装置2,14と駆動装置1とを結ぶ第2、及び第3の流路F2,F3に設けられた第2、及び第3の圧力センサ3,4と、制御部15とを備える。
【選択図】図1
特許請求の範囲
【請求項1】
流体供給源と、バルブ装置と、駆動装置とを備えた流体回路における流体漏れを検出する流体漏れ検出装置であって、
前記流体供給源と前記バルブ装置とを結ぶ第1の流路に設けられた第1の圧力センサと、
前記バルブ装置と前記駆動装置とを結ぶ第2、及び第3の流路にそれぞれ設けられた第2、及び第3の圧力センサと、制御部と、を備える、流体漏れ検出装置。
発明の詳細な説明
【技術分野】
【0001】
本開示は流体漏れ検出装置に関する。
続きを表示(約 1,200 文字)
【背景技術】
【0002】
特許文献1に開示の自動調理機は、流体漏れ検出装置が適用されている。特許文献1に開示の自動調理機は、エア駆動機構と、配管と、エア弁と、圧力センサと、表示部とを備える。エア駆動機構はエアシリンダを含み、配管はエアをエア駆動機構に供給する。エア弁は配管の途中に設けられ、圧力センサは、エア弁からエア駆動機構に至る配管内のエア圧力を検出する。表示部は、圧力センサにより検出されたエア圧力がしきい値以下となった時に、エア漏れによる圧力異常情報を表示する。
【先行技術文献】
【特許文献】
【0003】
特開平09-313143号公報
【発明の概要】
【発明が解決しようとする課題】
【0004】
本願発明者等は、以下の技術的な課題を発見した。
このような自動調理機では、エア圧力がしきい値以下となった時に、エア漏れを検出する。エア駆動機構のエアシリンダの内部又は外部においてエアが漏れると、エア圧力がしきい値以下となる。そのため、エアシリンダの内部、又は外部のいずれかにおいてエアが漏れているかを検知することができなかった。
【0005】
本開示は、上述した課題を鑑みてなされたものであり、流体漏れが発生した箇所を特定できる流体漏れ検出装置を提供するものである。
【課題を解決するための手段】
【0006】
本開示に係る流体漏れ検出装置は、流体供給源と、バルブ装置と、駆動装置とを備えた流体回路における流体漏れを検出する流体漏れ検出装置であって、前記流体供給源と前記バルブ装置とを結ぶ第1の流路に設けられた第1の圧力センサと、前記バルブ装置と前記駆動装置とを結ぶ第2、及び第3の流路にそれぞれ設けられた第2、及び第3の圧力センサと、制御部と、を備える。
【発明の効果】
【0007】
本開示によれば、流体漏れが発生した箇所を特定できる。
【図面の簡単な説明】
【0008】
実施の形態1に係る流体漏れ検出装置の一構成例を示す概略図及び拡大図である。
実施の形態1に係る流体漏れ検出装置の一構成例の一動作例を示す図である。
実施の形態1に係る流体漏れ検出装置の一変形例を示す図である。
【発明を実施するための形態】
【0009】
以下、本発明を適用した具体的な実施形態について、図面を参照しながら詳細に説明する。ただし、本発明が以下の実施形態に限定される訳ではない。また、説明を明確にするため、以下の記載及び図面は、適宜、簡略化されている。
【0010】
<実施の形態1>
図1を参照して実施の形態1について説明する。
(【0011】以降は省略されています)
この特許をJ-PlatPat(特許庁公式サイト)で参照する
関連特許
豊和工業株式会社
クランプ装置
5か月前
株式会社豊田自動織機
流体圧シリンダ
1か月前
株式会社コスメック
シリンダ装置
2か月前
株式会社不二越
電磁切替弁
1か月前
株式会社不二越
油圧システム
4か月前
個人
省エネ改良型油圧リバースブースター
1か月前
日立建機株式会社
作業機械
4日前
日立建機株式会社
作業機械
5日前
学校法人東海大学
流れ制御装置
5か月前
日立建機株式会社
作業機械
6か月前
コベルコ建機株式会社
建設機械
6か月前
株式会社不二越
油圧駆動システム
1か月前
日立建機株式会社
油圧駆動装置
6か月前
ナブテスコ株式会社
方向切換弁装置
4か月前
住友建機株式会社
ショベルの制御方法
2か月前
川崎重工業株式会社
マルチコントロールバルブ
7か月前
学校法人 中央大学
人工筋アクチュエータ装置
2か月前
川崎重工業株式会社
マルチコントロールバルブ
7か月前
川崎重工業株式会社
マルチコントロールバルブ
7か月前
株式会社LIXIL
脈動流生成装置及び建築設備
4か月前
アズビル株式会社
パイロットリレー及びポジショナ
1か月前
カヤバ株式会社
流体圧制御装置
6か月前
カヤバ株式会社
流体圧シリンダ
6か月前
カヤバ株式会社
流体圧制御装置
20日前
カヤバ株式会社
アクチュエータ
6か月前
コベルコ建機株式会社
建設機械の油圧駆動装置
6か月前
日立建機株式会社
油圧システム
8日前
ナブテスコ株式会社
ロータリーアクチュエータ
4か月前
CKD株式会社
アクチュエータの動作検出装置
4か月前
中本パックス株式会社
気体圧装置
2か月前
カヤバ株式会社
インレットハウジング
4か月前
株式会社コガネイ
圧縮空気供給装置
2か月前
カヤバ株式会社
流体圧シリンダユニット
4か月前
株式会社東和製作所
シリンダ伸縮反転用バルブユニット
1か月前
日立建機株式会社
分別回収システム
8日前
川崎重工業株式会社
液圧駆動システム、及びマルチコントロール弁
7か月前
続きを見る
他の特許を見る