TOP
|
特許
|
意匠
|
商標
特許ウォッチ
Twitter
他の特許を見る
公開番号
2025071925
公報種別
公開特許公報(A)
公開日
2025-05-09
出願番号
2023182354
出願日
2023-10-24
発明の名称
クランプ装置
出願人
豊和工業株式会社
代理人
主分類
F15B
15/22 20060101AFI20250430BHJP(流体圧アクチュエータ;水力学または空気力学一般)
要約
【課題】 簡単な構成でワークをクランプする際の衝撃を緩和させることが可能なクランプ装置を提供する。
【解決手段】 配管接続口12bから供給される圧流体によって移動するピストンロッド6がシリンダ本体2に係合すると、シリンダ本体2に備えたクッション機構17によりシリンダ室4aから排出される圧流体の流量が変わることで、ピストンロッド6の移動速度を減速させると共に、ピストンロッド6の運動エネルギーを減少させる。よって、ワークWをクランプする際の衝撃を緩和させることができる。
【選択図】 図2
特許請求の範囲
【請求項1】
シリンダ本体の下端部を塞いで内部に形成されたシリンダ室にピストンを収納し、そのピストンにはシリンダ本体の上端部から外方へ突出したピストンロッドが連結され、シリンダ本体に設けられた一対の配管接続口からシリンダ室に供給される圧流体によってピストンロッドに取り付けたクランパをワークに対してクランプ、アンクランプさせるように構成したクランプ装置において、シリンダ本体にはクッション機構が備えられ、ピストンロッドがシリンダ本体に係合すると、前記クッション機構によってピストンロッドの移動速度を減速させると共に、ピストンロッドの運動エネルギーを減少させるようにしたことを特徴とするクランプ装置。
続きを表示(約 580 文字)
【請求項2】
シリンダ本体の下端部を塞いで内部に形成されたシリンダ室にピストンを収納し、そのピストンにはシリンダ本体の上端部から外方へ突出したピストンロッドが連結され、シリンダ本体に設けられた一対の配管接続口からシリンダ室に供給される圧流体によってピストンロッドに取り付けたクランパをワークに対してクランプ、アンクランプさせるように構成したクランプ装置において、シリンダ本体に穿設された段付きの貫通孔にはシリンダ室に連通するクッション流路と配管接続口に連通する第1流路が夫々接続され、前記段付き孔の大径孔とクッション流路、第1流路から構成されるクッション機構によって前記大径孔にピストンロッドに設けた大径部が嵌合した後、シリンダ室の圧流体をクッション流路から大径孔、第1流路を通って配管接続口へ排出することで、ピストンロッドの移動速度を減速させると共に、ピストンロッドの運動エネルギーを減少させるようにしたことを特徴とするクランプ装置。
【請求項3】
前記クッション流路の途中にニードル弁を設置し、クッション流路を通る圧流体の流量を調整することを特徴とする請求項1または2記載のクランプ装置。
【請求項4】
前記クランプ装置は、樹脂材から成る部品で構成されることを特徴とする請求項1から3の何れか1項記載のクランプ装置。
発明の詳細な説明
【技術分野】
【0001】
本発明は、圧流体によって往復動するピストンロッドに取り付けたクランパをワークに対してクランプ、アンクランプさせるようにしたクランプ装置に関する。
続きを表示(約 2,400 文字)
【背景技術】
【0002】
従来、上記のクランプ装置は、シリンダ本体の下端部を塞いで内部に形成されたシリンダ室にピストンを収納し、そのピストンにはシリンダ本体の上端部から外方へ突出したピストンロッドが連結され、シリンダ本体に設けられた一対の配管接続口からシリンダ室に供給される圧流体によってピストンロッドに取り付けたクランパをワークに対してクランプ、アンクランプさせるものである。このようなクランプ装置では、特許文献1のように、ヘッド側端壁部材の外周側壁部の壁部内に加圧流体の流量を調整可能な流量調整弁機構を備え、出力部材(ピストンロッド)が進退方向の所定の動作領域にあるときに、出力部材と前記流量調整弁機構との協働により前記加圧流体の流量を絞ることで、クランプ対象物をクランプする際のピストン部材の速度を低速にしてクランプ対象物に対する衝撃を緩和させるものが知られている。また、特許文献2の圧流体シリンダのように、チューブの両端に取付けたカバーには、配管接続口とシリンダ室とを直接連通する連通路と、ピストンが嵌合可能なクッション室を介して前記配管接続口と連通する連通路が夫々形成され、ピストンがクッション室に嵌合した時に、クッション室を介して配管接続口と連通する連通路を塞ぐことでシリンダ室から排出される圧力流体の流量を絞るようにしたものであって、更に、開口調節装置によって前記流量を調節可能なものが知られている。
【先行技術文献】
【特許文献】
【0003】
特開2015-20263号公報
実開昭53―71198号公報
【発明の概要】
【発明が解決しようとする課題】
【0004】
上記特許文献1では、ヘッド側端壁部材10Bの外周側壁部の壁部内に弁体34等の複数の部品から構成される流量調整弁機構30が設けられ、主クランプ本体10Aに形成される通路21c、21dを通って前記流量調整弁機構30に加圧流体が流れるようになっている。よって、ヘッド側端壁部材10Bに複数の小さな部品から成る流量調整弁機構30を設けなければならず、小型のクランプ装置に用いることが難しい問題があった。更に、特許文献2のようなシリンダ室から排出される圧力流体の流量を調節する構成を上記のクランプ装置に用いることが考えられるが、2つの連通路と配管接続口との間に配置する開口調節装置は複雑な構成であって小型のクランプ装置に用いることが難しい問題があった。
そこで本発明の課題は、上記問題点に鑑み、簡単な構成でワークをクランプする際の衝撃を緩和させることが可能なクランプ装置を提供することを目的とする。
【課題を解決するための手段】
【0005】
本発明は、シリンダ本体にはクッション機構が備えられ、ピストンロッドがシリンダ本体に係合すると、前記クッション機構によってピストンロッドの移動速度を減速させると共に、ピストンロッドの運動エネルギーを減少させるようにしたことを特徴とする。
【0006】
また、シリンダ本体に穿設された段付きの貫通孔にはシリンダ室に連通するクッション流路と配管接続口に連通する第1流路が夫々接続され、前記段付き孔の大径孔とクッション流路、第1流路から構成されるクッション機構によって前記大径孔にピストンロッドに設けた大径部が嵌合した後、シリンダ室の圧流体がクッション流路から大径孔、第1流路を通って配管接続口へ排出されることで、ピストンロッドの移動速度を減速させると共に、ピストンロッドの運動エネルギーを減少させるようにしたことを特徴とする。
【0007】
また、前記クッション流路の途中にニードル弁を設置し、クッション流路を通る圧流体の流量を調整することを特徴とする。更に、前記クランプ装置は、樹脂材から成る部品で構成されることを特徴とする。
【発明の効果】
【0008】
本発明では、配管接続口から供給される圧流体によって移動するピストンロッドがシリンダ本体に係合すると、シリンダ本体に備えたクッション機構によってシリンダ室から排出される圧流体の流量が変わることで、ピストンロッドの移動速度を減速させると共に、ピストンロッドの運動エネルギーを減少させる。よって、ワークをクランプする際の衝撃を緩和させることが可能になる。また、シリンダ本体に穿設された段付きの貫通孔にはシリンダ室に連通するクッション流路と配管接続口に連通する第1流路が夫々接続され、前記段付き孔の大径孔とクッション流路、第1流路から構成されるクッション機構によって前記大径孔にピストンロッドに設けた大径部が嵌合した後、シリンダ室の圧流体がクッション流路から大径孔、第1流路を通って配管接続口へ排出されるようにしたことで、ピストンロッドの移動速度を減速させると共に、ピストンロッドの運動エネルギーを減少させる。よって、簡単な構成であって小型のクランプ装置でも容易に用いることが可能になる。
【0009】
更に、クッション流路の途中にニードル弁を設置し、クッション流路を通る圧流体の流量を調整することで、ニードル弁の操作のみでワークをクランプする際の衝撃力の調整が可能となる。また、部品を樹脂材で成型したもので構成すると、摺動部に熱処理や表面処理等が不要となり、クランプ装置全体が安価となると共に、クランプ装置全体の軽量化が図れるようになる。
【図面の簡単な説明】
【0010】
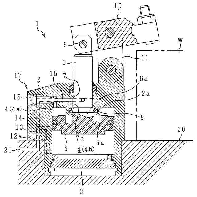
本発明のクランプ装置の平面図である。
図1のII―II線断面図である。
ピストンロッドの移動速度が低速となった状態を示す図である。
ワークのアンクランプ状態を示す図である。
【発明を実施するための形態】
(【0011】以降は省略されています)
この特許をJ-PlatPat(特許庁公式サイト)で参照する
関連特許
豊和工業株式会社
クランプ装置
5か月前
豊和工業株式会社
クランプ装置
5か月前
株式会社SUBARU
油圧回路
8か月前
株式会社豊田自動織機
流体圧シリンダ
1か月前
株式会社不二越
電磁切替弁
1か月前
川崎重工業株式会社
液圧駆動装置
7か月前
川崎重工業株式会社
液圧駆動装置
7か月前
株式会社コスメック
シリンダ装置
2か月前
株式会社不二越
油圧システム
4か月前
個人
省エネ改良型油圧リバースブースター
1か月前
日立建機株式会社
作業機械
3日前
コベルコ建機株式会社
建設機械
6か月前
日立建機株式会社
作業機械
6か月前
学校法人東海大学
流れ制御装置
5か月前
日立建機株式会社
作業機械
4日前
株式会社不二越
油圧駆動システム
1か月前
日立建機株式会社
油圧駆動装置
6か月前
ナブテスコ株式会社
方向切換弁装置
4か月前
住友建機株式会社
ショベルの制御方法
2か月前
川崎重工業株式会社
マルチコントロールバルブ
7か月前
学校法人 中央大学
人工筋アクチュエータ装置
2か月前
川崎重工業株式会社
マルチコントロールバルブ
7か月前
川崎重工業株式会社
マルチコントロールバルブ
7か月前
株式会社LIXIL
脈動流生成装置及び建築設備
4か月前
川崎重工業株式会社
弁装置
7か月前
アズビル株式会社
パイロットリレー及びポジショナ
1か月前
カヤバ株式会社
流体圧制御装置
19日前
CKD株式会社
アクチュエータの動作検出装置
4か月前
カヤバ株式会社
アクチュエータ
6か月前
コベルコ建機株式会社
建設機械の油圧駆動装置
5か月前
カヤバ株式会社
流体圧シリンダ
6か月前
カヤバ株式会社
流体圧制御装置
6か月前
日立建機株式会社
油圧システム
7日前
株式会社ジェイテクトフルードパワーシステム
サージタンク
8か月前
ナブテスコ株式会社
ロータリーアクチュエータ
4か月前
中本パックス株式会社
気体圧装置
2か月前
続きを見る
他の特許を見る