TOP
|
特許
|
意匠
|
商標
特許ウォッチ
Twitter
他の特許を見る
10個以上の画像は省略されています。
公開番号
2025077895
公報種別
公開特許公報(A)
公開日
2025-05-19
出願番号
2023190409
出願日
2023-11-07
発明の名称
上腕動作補助装置
出願人
学校法人早稲田大学
代理人
弁理士法人ドライト国際特許事務所
主分類
B25J
11/00 20060101AFI20250512BHJP(手工具;可搬型動力工具;手工具用の柄;作業場設備;マニプレータ)
要約
【課題】上腕の動きの自由度の低下を抑制し、かつ上腕の動作を補助する上腕動作補助装置を提供する。
【解決手段】上腕動作補助装置1は、使用者Hに装着されて使用者Hの上腕HAの動作を補助する。上腕動作補助装置1は、使用者Hの胴部HBに着脱自在に装着される胴部装着部2と、上腕HAに着脱自在に装着される上腕装着部3と、胴部装着部2と上腕装着部3との間に設けられた遠隔運動中心機構4とを備え、遠隔運動中心機構4は、使用者Hの肩関節の位置に配置された遠隔運動中心5を有し、遠隔運動中心5の周りで上腕HAの動作に追従して回動し、かつ、上腕装着部3を介して上腕HAを押圧する。
【選択図】図1
特許請求の範囲
【請求項1】
使用者に装着されて前記使用者の上腕の動作を補助する上腕動作補助装置であって、
前記使用者の胴部に着脱自在に装着される胴部装着部と、
前記上腕に着脱自在に装着される上腕装着部と、
前記胴部装着部と前記上腕装着部との間に設けられた遠隔運動中心機構と
を備え、
前記遠隔運動中心機構は、前記使用者の肩関節の位置に配置された遠隔運動中心を有し、前記遠隔運動中心の周りで前記上腕の動作に追従して回動し、かつ、前記上腕装着部を介して前記上腕を押圧する上腕動作補助装置。
続きを表示(約 1,200 文字)
【請求項2】
前記上腕装着部は、前記上腕が配置される半円筒状の本体を有し、
前記遠隔運動中心機構は、前記胴部装着部に固定される軸部を有し、
前記本体は、第1中心軸線を有し、
前記軸部は、第2中心軸線を有し、
前記第1中心軸線と前記第2中心軸線とが交差する点が、前記遠隔運動中心を構成する請求項1に記載の上腕動作補助装置。
【請求項3】
前記遠隔運動中心機構は、
前記軸部に対し、前記第2中心軸線を中心として回動可能に設けられた回動部と、
前記回動部に設けられた伸縮可能な平行リンク部と、
前記平行リンク部を伸長または収縮させる弾性部とを有する請求項2に記載の上腕動作補助装置。
【請求項4】
前記胴部装着部は、
前記使用者の腰に巻き付けて装着される腰ベルトと、
前記使用者の左右の肩のそれぞれに巻き付けて装着される一対の肩ベルトと、
前記使用者の背中に配置され、前記腰ベルトと前記一対の肩ベルトとを連結するフレームと、
前記フレームに固定され、前記フレームから左右方向へ突出している第1の筒体とを有し、
前記軸部は、前記第1の筒体に固定されている請求項3に記載の上腕動作補助装置。
【請求項5】
前記胴部装着部は、前記第1の筒体の下方で前記フレームに固定され、前記フレームから左右方向へ突出している第2の筒体を有し、
前記軸部は、前記第1の筒体および前記第2の筒体に固定されている請求項4に記載の上腕動作補助装置。
【請求項6】
前記平行リンク部は、
第1リンクと、
前記第1リンクと平行に配置された第2リンクと、
前記第1リンクと交差して配置された第3リンクと、
前記第3リンクと平行に配置された第4リンクと、
前記第1リンクの一端と前記回動部とを相対回転可能に連結する第1連結軸と、
前記第2リンクの一端と前記回動部とを相対回転可能に連結する第2連結軸と、
前記第3リンクの一端と前記本体とを相対回転可能に連結する第3連結軸と、
前記第4リンクの一端と前記本体とを相対回転可能に連結する第4連結軸と、
前記第2リンクの他端と前記第3リンクの他端とを相対回転可能に連結する第5連結軸と、
前記第1リンクの他端と前記第4リンクの他端とを相対回転可能に連結する第6連結軸と、
前記第1リンクの前記一端と前記他端との間の中間部と前記第3リンクの前記一端と前記他端との間の中間部とを相対回転可能に連結する第7連結軸とを有する請求項3に記載の上腕動作補助装置。
【請求項7】
前記弾性部は、ガススプリングで構成されている請求項3に記載の上腕動作補助装置。
発明の詳細な説明
【技術分野】
【0001】
本発明は、上腕動作補助装置に関する。
続きを表示(約 1,400 文字)
【背景技術】
【0002】
例えば重い物を持ち上げる作業や腕を上げたまま維持して作業を行う際に、作業者の腕を後方から押圧して腕の動作を補助する装置が知られている。例えば、特許文献1には、作業者が腕を上げて作業をする際に作業者の腕を支持する作業支援装置が開示されている。
【0003】
特許文献1の作業支援装置は、弾性を有する弾性支持アームと、弾性支持アームの先端に設けられ作業者の腕の一部を下側から支持する腕受部と、弾性支持アームを上下方向に回転させるアーム保持部と、アーム保持部を水平方向に回転させるアーム移動手段とを備えている。アーム保持部およびアーム移動手段は、作業者の腕の付け根より下方に位置している。
【先行技術文献】
【特許文献】
【0004】
特開2014-172129号公報
【発明の概要】
【発明が解決しようとする課題】
【0005】
しかしながら、特許文献1の作業支援装置は、弾性支持アームの回転中心が肩関節の位置と異なっているため、上腕の動きに弾性支持アームが追従せず、上腕の動きを補助する補助力の得られる範囲が限られ、結果として上腕の動きの自由度が低下することがある。
【0006】
本発明は、上腕の動きの自由度の低下を抑制し、かつ上腕の動作を補助する上腕動作補助装置を提供することを目的とする。
【課題を解決するための手段】
【0007】
本発明に係る上腕動作補助装置は、使用者に装着されて前記使用者の上腕の動作を補助する上腕動作補助装置であって、前記使用者の胴部に着脱自在に装着される胴部装着部と、前記上腕に着脱自在に装着される上腕装着部と、前記胴部装着部と前記上腕装着部との間に設けられた遠隔運動中心機構とを備え、前記遠隔運動中心機構は、前記使用者の肩関節の位置に配置された遠隔運動中心を有し、前記遠隔運動中心の周りで前記上腕の動作に追従して回動し、かつ、前記上腕装着部を介して前記上腕を押圧する。
【発明の効果】
【0008】
本発明によれば、上腕の動きの自由度の低下を抑制し、かつ上腕の動作を補助することができる。
【図面の簡単な説明】
【0009】
第1実施形態に係る上腕動作補助装置を使用者に装着した状態を示す後方斜視図である。
第1実施形態に係る上腕動作補助装置の後方斜視図である。
第1実施形態に係る上腕動作補助装置の前方斜視図である。
第1実施形態に係る上腕動作補助装置の側面図である。
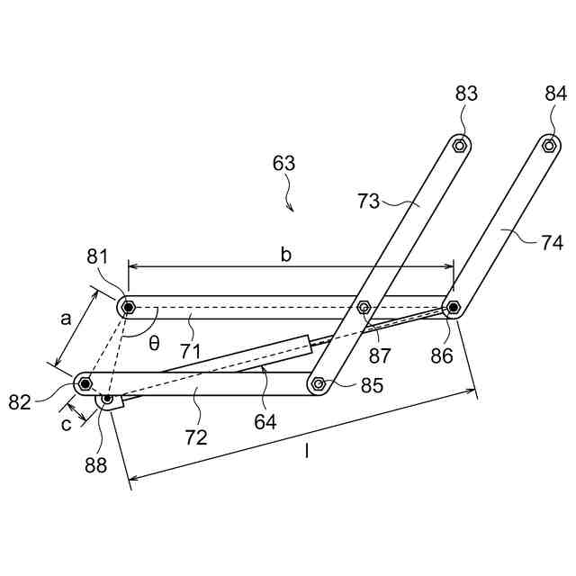
弾性部の長さを求める方法を説明する説明図である。
使用者が上腕を下しているときの上腕動作補助装置の状態を示す概略図である。
使用者が上腕を上げているときの上腕動作補助装置の状態を示す概略図である。
使用者が上腕をさらに上げているときの上腕動作補助装置の状態を示す概略図である。
使用者が上腕をさらに上げているときの上腕動作補助装置の状態を示す概略図である。
変形例に係る上腕動作補助装置の後方斜視図である。
【発明を実施するための形態】
【0010】
以下、図面を参照して、本発明を実施するための形態を説明する。以下の説明及び図面では、共通の構成については共通の符号を付している。共通の符号を付した構成については適宜説明を省略する。
(【0011】以降は省略されています)
この特許をJ-PlatPat(特許庁公式サイト)で参照する
関連特許
学校法人早稲田大学
蛍光分析装置
3か月前
学校法人早稲田大学
周波数フィルタ
4か月前
学校法人早稲田大学
上腕動作補助装置
5か月前
学校法人早稲田大学
太陽光発電モジュール
1か月前
学校法人早稲田大学
光変換装置及び光伝送システム
1か月前
学校法人早稲田大学
視触覚センサ及びその製造方法
23日前
学校法人早稲田大学
熱界面接合部材及びその製造方法
1か月前
学校法人早稲田大学
光学素子および空中映像投影装置
1か月前
学校法人早稲田大学
金属シリコンとガラスの溶融分離方法
14日前
学校法人早稲田大学
多重衝突パルス噴流圧縮方式のエンジン
5か月前
オルト株式会社
オートファジー活性化剤
4か月前
学校法人早稲田大学
気象観測装置、気象観測方法及びプログラム
2か月前
学校法人早稲田大学
情報処理方法、情報処理装置及びプログラム
1か月前
学校法人早稲田大学
体液からヒト骨格筋線維タイプを推定する方法
10日前
学校法人早稲田大学
カーボンナノチューブの製造装置および製造方法
1か月前
学校法人早稲田大学
知覚支援システム、評価装置及びそのプログラム
9日前
学校法人早稲田大学
金属又は合金薄膜付与アニオン交換膜の製造方法
7か月前
学校法人早稲田大学
量子計算方法、量子計算システム、及びプログラム
4か月前
学校法人早稲田大学
寿命評価装置、そのプログラム、及び寿命評価方法
1か月前
環境計測株式会社
光化学オキシダント予測システム
1か月前
学校法人早稲田大学
マップ更新装置、マップ更新方法、およびプログラム
5か月前
NTT株式会社
検索装置、検索方法及びプログラム
1か月前
学校法人早稲田大学
マップ更新装置、マップ更新方法、およびプログラム
5か月前
イスクラ産業株式会社
膀胱がん用抗がん剤の製造方法
29日前
ENEOS株式会社
メタノールの製造方法及び製造装置
5か月前
本田技研工業株式会社
環境表示装置及び環境表示システム
7か月前
積水化学工業株式会社
合成部材及び合成セグメントの施工方法
4か月前
NTT株式会社
配送計画装置、配送計画方法、及びプログラム
3か月前
積水化学工業株式会社
合成部材及び合成セグメントの施工方法
4か月前
国立大学法人 鹿児島大学
評価方法、評価装置及びプログラム
4か月前
公立大学法人横浜市立大学
データ収集システムおよびプログラム
2か月前
学校法人早稲田大学
情報処理方法、情報処理装置、プログラム及び言語能力診断システム
6か月前
学校法人早稲田大学
分離方法及びリチウムイオン二次電池用電極活物質のリサイクル方法
1日前
NTT株式会社
推定装置、復元装置、推定方法、およびプログラム
28日前
国立大学法人 熊本大学
パルス電流発生装置及びパルス電流発生方法
2か月前
積水化学工業株式会社
被切削部材、被切削群、及び立坑壁の施工方法
4か月前
続きを見る
他の特許を見る