TOP
|
特許
|
意匠
|
商標
特許ウォッチ
Twitter
他の特許を見る
公開番号
2025143777
公報種別
公開特許公報(A)
公開日
2025-10-02
出願番号
2024043207
出願日
2024-03-19
発明の名称
ロボットセル装置
出願人
ワールド技研株式会社
代理人
個人
,
個人
主分類
B25J
19/00 20060101AFI20250925BHJP(手工具;可搬型動力工具;手工具用の柄;作業場設備;マニプレータ)
要約
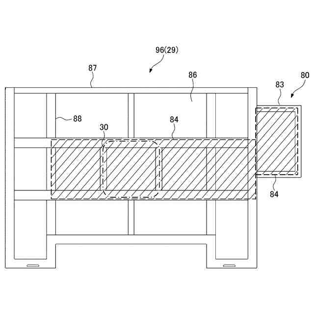
【課題】装置の内部に塗装ミストや粉塵等が入り込むことを防止する、ロボットセル装置を提供する。
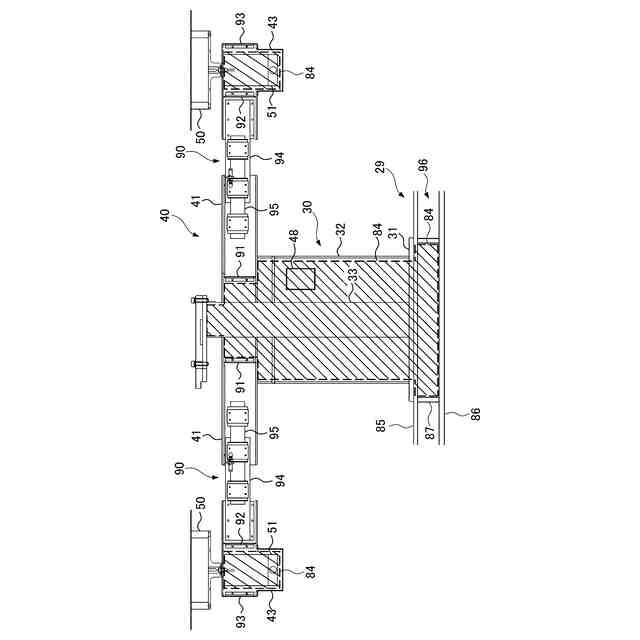
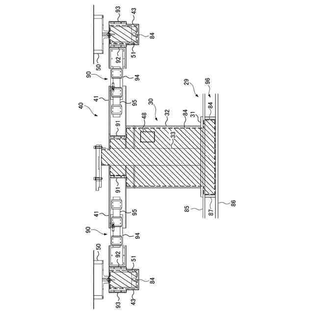
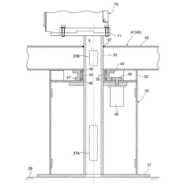
【解決手段】ロボットセル装置は、塗装ブース内の土台に設置される架台30と、架台30上で旋回可能かつ長手方向への伸縮機構90が設けられた旋回アーム41と、旋回アーム41の長手方向の両端部に設けられてワークを回転させる一対の副旋回部43と、副旋回部43に保持されたワークに対して塗装処理を行うロボットと、架台30の底面から旋回アーム41に挿通される中空構造であり、ロボットを支持する支持部材33と、各種制御を行うための制御機器が格納される制御盤と、を備える。ロボットセル装置は、制御盤の底部、土台29における架台30の設置領域、支持部材33の内部、及び架台の内部を含む領域が一つの密閉空間84とされ、密閉空間84内が大気圧以上に加圧された気体で満たされる。
【選択図】図5
特許請求の範囲
【請求項1】
塗装ブース内の土台に設置される架台と、
長手方向の中間に軸心が設けられて、前記架台上で前記軸心を中心として旋回可能、かつ長手方向への伸縮機構が設けられた旋回体と、
前記旋回体の長手方向の両端部に設けられて、テーブルに配置された処理対象物を回転させる一対の回転部と、
前記旋回体の旋回中心に設けられ、前記回転部に保持された処理対象物に対して塗装処理を行うロボットと、
前記架台の底面から前記旋回体に挿通される中空構造であり、前記ロボットを支持する支持部材と、
前記旋回体、前記回転部、及び前記ロボットの制御を行うための制御機器が格納される制御盤と、
を備え、
前記制御盤の底部、前記土台における前記架台の設置領域の底部、前記支持部材の内部、及び前記架台の内部を含む領域が一つの密閉空間とされ、前記密閉空間内が大気圧以上に加圧された気体で満たされる、
ロボットセル装置。
続きを表示(約 190 文字)
【請求項2】
前記旋回体の内部において、前記伸縮機構が設けられる領域よりも前記中間側に第1隔壁が設けられ、前記第1隔壁から前記中間に至る領域が前記気体で満たされた密閉空間とされる、
請求項1に記載のロボットセル装置。
【請求項3】
一対の前記回転体の内部は、前記気体で満たされた密閉空間とされる、
請求項1又は請求項2に記載のロボットセル装置。
発明の詳細な説明
【技術分野】
【0001】
本発明は、ロボットセル装置に関する。
続きを表示(約 1,400 文字)
【背景技術】
【0002】
近年、各種生産ラインへのロボットの導入が進んでおり、作業者の代わりにロボットを用いて種々の処理を自動的に行わせる自動装置が広く利用されている。このような自動装置として、特許文献1には、塗装ブース内の床面に架台が設置されて、塗装ブース内に旋回体及びロボットが収容され、旋回体の長手方向の両端部に設けられた一対の保持テーブルに保持された処理対象物をロボットによって塗装するロボットセル装置が記載されている。
【先行技術文献】
【特許文献】
【0003】
特開2017-7053号公報
【発明の概要】
【発明が解決しようとする課題】
【0004】
ここで、塗装ブース内で塗装処理を行うことにより、ロボットセル装置の構成部分に塗装ミストや溶剤等が入り込む可能性がある。また、塗装ブース内に人が出入りしたり、ロボットセル装置を組み立てたり、解体する際にロボットセル装置の構成部分に粉塵等が入り込む可能性がある。
【0005】
そこで本発明は、装置の内部に塗装ミストや粉塵等が入り込むことを防止する、ロボットセル装置を提供することを目的とする。
【課題を解決するための手段】
【0006】
本発明の第1態様のロボットセル装置は、塗装ブース内の土台に設置される架台と、長手方向の中間に軸心が設けられて、前記架台上で前記軸心を中心として旋回可能、かつ長手方向への伸縮機構が設けられた旋回体と、前記旋回体の長手方向の両端部に設けられて、テーブルに配置された処理対象物を回転させる一対の回転部と、前記旋回体の旋回中心に設けられ、前記回転部に保持された処理対象物に対して塗装処理を行うロボットと、前記架台の底面から前記旋回体に挿通される中空構造であり、前記ロボットを支持する支持部材と、前記旋回体、前記回転部、及び前記ロボットの制御を行うための制御機器が格納される制御盤と、を備え、前記制御盤の底部、前記土台における前記架台の設置領域の底部、前記支持部材の内部、及び前記架台の内部を含む領域が一つの密閉空間とされ、前記密閉空間内が大気圧以上に加圧された気体で満たされる。
【0007】
本構成によれば、制御盤の底部、土台における架台の設置領域の底部、及び架台の内部を含む領域が一つの密閉空間とされ、密閉空間内が大気圧以上に加圧された気体で満たされるので、ロボットセル装置の内部の主要部分に塗装ミストや粉塵等が入り込むことを防止できる。
【0008】
上記のロボットセル装置の前記旋回体の内部において、前記伸縮機構が設けられる領域よりも前記中間側に第1隔壁が設けられ、前記第1隔壁から前記中間に至る領域が前記気体で満たされた密閉空間とされてもよい。本構成によれば、旋回体における架台側の内部に、塗装ミストや粉塵等が入り込むことを防止できる。
【0009】
上記のロボットセル装置の一対の前記回転体の内部は、前記気体で満たされた密閉空間とされてもよい。本構成によれば、旋回体における回転部を回転させる回転機構が設けられる内部に、塗装ミストや粉塵等が入り込むことを防止できる。
【発明の効果】
【0010】
本発明は、装置の内部に塗装ミストや粉塵等が入り込むことを防止する、ロボットセル装置を提供することを目的とする。
【図面の簡単な説明】
(【0011】以降は省略されています)
この特許をJ-PlatPat(特許庁公式サイト)で参照する
関連特許
個人
固定補助具
1か月前
個人
折りたたみ工具
1か月前
株式会社三協システム
製函機
28日前
川崎重工業株式会社
ロボット
7日前
株式会社竹中工務店
補助セット
6日前
株式会社不二越
ロボット
6日前
株式会社三協システム
移載装置
27日前
CKD株式会社
把持装置
29日前
株式会社不二越
ロボット操作装置
1か月前
株式会社不二越
ロボットシステム
1か月前
太陽パーツ株式会社
アシストスーツ
1か月前
株式会社ミクロブ
把持装置
29日前
SMC株式会社
着脱装置
28日前
日本精工株式会社
締結用工具
1か月前
ARMA株式会社
ジョイントフレーム
1か月前
株式会社不二越
移動ロボットシステム
9日前
トヨタ自動車株式会社
ロボット
1日前
トヨタ自動車株式会社
カプラ接続治具
1か月前
株式会社不二越
ロボットシステム
1か月前
株式会社不二越
エッジ仕上げ装置
19日前
本田技研工業株式会社
装置
12日前
株式会社不二越
ロボットシステム
27日前
株式会社不二越
垂直多関節ロボット
20日前
トヨタ自動車株式会社
歩行ロボット
1か月前
トヨタ自動車株式会社
軌道生成装置
1日前
シンフォニアテクノロジー株式会社
搬送装置
9日前
ダイハツ工業株式会社
移載治具
1か月前
大和ハウス工業株式会社
ねじ回転工具
28日前
ライオン株式会社
移載システム
21日前
アネックスツール株式会社
ドライバービット
5日前
株式会社不二越
ロボットシステム
1か月前
ワールド技研株式会社
ロボットセル装置
6日前
株式会社マキタ
回転打撃工具
1日前
セイコーエプソン株式会社
ロボット
28日前
倉敷紡績株式会社
ハンドおよびコネクタ接続方法
19日前
シヤチハタ株式会社
マーキング装置
1か月前
続きを見る
他の特許を見る