TOP
|
特許
|
意匠
|
商標
特許ウォッチ
Twitter
他の特許を見る
公開番号
2025081304
公報種別
公開特許公報(A)
公開日
2025-05-27
出願番号
2025006366,2022199466
出願日
2025-01-16,2016-02-02
発明の名称
CD40L関連疾患または障害を治療するための抗CD40L抗体及び方法
出願人
エイエルエス・セラピー・デベロップメント・インスティテュート
,
ALS Therapy Development Institute
代理人
個人
,
個人
,
個人
主分類
C07K
16/28 20060101AFI20250520BHJP(有機化学)
要約
【課題】CD40L関連疾患を有する患者を治療するための、血小板を活性化させる能力を欠くように操作された抗ヒトCD-40L抗体、抗体を含む医薬組成物、およびCD40L関連疾患または障害の治療のための抗体および組成物の使用を提供する。
【解決手段】ヒトCD40Lに結合する単離抗体であって、軽鎖および重鎖が特定のアミノ酸配列からなる可変領域を含み、Fc領域が、特定のアミノ酸配列を含む単離抗体および使用方法を提供する。
【選択図】図3
特許請求の範囲
【請求項1】
CD40Lに結合しかつ軽鎖及び重鎖を含む単離抗体であって、
(i)前記軽鎖が、配列番号1と少なくとも95%の配列同一性を有するアミノ酸配列を含む軽鎖可変領域を含み、
(ii)前記重鎖が、可変重鎖領域とFc領域を含み、
a)前記重鎖可変領域が、配列番号2と少なくとも95%の配列同一性を有するアミノ酸配列を含み、
b)前記Fc領域が、配列番号3と少なくとも95%の配列同一性を有するアミノ酸配列を含み、前記Fc領域はC11S、C14S、及びP23Sからなる群から選択される1つの置換または置換の組合せを含む、
前記単離抗体。
続きを表示(約 690 文字)
【請求項2】
前記Fc領域がさらに、アミノ酸置換C5Sを含む、請求項1に記載の単離抗体。
【請求項3】
前記軽鎖可変領域が、配列番号1と少なくとも98%の配列同一性を有するアミノ酸配列を含む、請求項1または2に記載の単離抗体。
【請求項4】
前記軽鎖可変領域が、置換T33W、S26D、またはQ27Eを含まない、請求項1ないし3のいずれか1項に記載の単離抗体。
【請求項5】
前記軽鎖可変領域が、前記置換R28Kを含む、請求項1ないし4のいずれか1項に記載の単離抗体。
【請求項6】
前記軽鎖可変領域が、アミノ酸配列ISCRASQRVSSSTYSYMH(配列番号15)、YASNLES(配列番号16)、及びQHSWEIPPT(配列番号17)を含む、請求項1ないし3のいずれか1項に記載の単離抗体。
【請求項7】
前記軽鎖可変領域が、配列番号1のアミノ酸配列を含む、請求項1または2に記載の単離抗体。
【請求項8】
前記重鎖可変領域が、配列番号2と少なくとも98%の配列同一性を有するアミノ酸配列を含む、請求項1ないし7のいずれか1項に記載の単離抗体。
【請求項9】
前記重鎖可変領域が、置換T30H、Y33W、またはS54Nを含まない、請求項1ないし8のいずれか1項に記載の単離抗体。
【請求項10】
前記重鎖可変領域が、前記置換K74Rを含む、請求項1ないし9のいずれか1項に記載の単離抗体。
(【請求項11】以降は省略されています)
発明の詳細な説明
【技術分野】
【0001】
関連出願の相互参照
本PCT出願は、参照により本明細書に開示全体が組込まれている、2015年2月3日付けの米国仮特許出願第62,111,261号の利益を主張する。
続きを表示(約 5,000 文字)
【0002】
抗CD40L抗体、該抗体を含む組成物、及びCD40L関連疾患または障害の治療のためのこれらの使用方法。
【0003】
配列表
本出願は、電子式可読書式で提出される配列表を含んでいる。電子配列表は、2016年2月2日に新規作成されたものであり、「384897ST25.txt」と命名され、32.6KBのサイズを有する。電子「384897ST25.txt」ファイル内の配列表の内容全てが、本明細書中にこの参照番号で包含される。
【背景技術】
【0004】
CD40とそのリガンドCD40Lの相互作用は、免疫応答を調節する上で極めて重要な役割を果たす。CD40に対するCD40Lの結合は、CD80及びCD86などの共刺激分子をアップレギュレートするCD40経路の活性化をひき起こす。モノクローナル抗体によるCD40とCD40Lの間の相互作用の封鎖は、様々な前臨床モデル内の自己免疫及び移植片拒絶からの防御を結果としてもたらすことが示されてきた。近年、筋委縮性側索硬化症のマウスモデルにおいて、CD40Lに向けられた抗体が発病を遅延させ、発病後の余命を延長することが示された(参照により本明細書に組込まれている米国特許第8,435,514号)。初期の臨床研究において、ヒト化抗-CD40L抗体hu5c8は、紅斑性狼瘡患者及び免疫性血小板減少性紫斑病患者で効能を示した。しかしながら、hu5c8での治療を受けた患者における血栓栓塞症の発生が、さらなる試験を躊躇させた。さらなるインビトロ及び前臨床動物研究により、FcとFc受容体FcγRIIaとの相互作用が、血小板の活性化及び凝集をひき起こし、その結果血栓塞栓性事象がもたらされることが立証された。Fcエフェクタ機能が欠如した脱グリコシル化抗IC40LIgG1を作るためFc領域内に点突然変異を導入することを含め、免疫グロブリンFc領域とFcγRIIaとの相互作用を削減するかまたは除去することを目的として様々なアプローチが講じられてきた。他のアプローチでは、Fc領域が欠如した抗体またはFc領域内に多数のアミノ酸置換を含む抗体のフラグメントが使用される。抗CD40L抗体hu5c8はヒト患者において効能を示したものの、市場には抗CD40L抗体が全く存在しない。したがって、血小板の活性化または凝集をひき起こさず、しかも安定していてCD40Lに結合する、ヒトへの投与のための改良型抗-CD40Lに対するニーズが存在する。
【発明の概要】
【0005】
本発明は、血小板凝集及び付随する血栓栓塞症のリスクを削減または除去するように操作されたFcドメインを有するヒト及び非ヒト霊長類において使用するのに好適である抗CD40L抗体を提供する。本発明の一態様において、本発明は、マウス抗ヒトCD40L抗体5c8のヒト化バージョンである抗体を提供する。一実施形態において、本発明の抗体は、可変軽鎖及び可変重鎖が5c8のCDR配列を含むヒトIgGlコンセンサスフレームワークを含む。
【0006】
本発明の一態様は、CD40Lに結合しかつ軽鎖及び重鎖を含む単離抗体において、(i)軽鎖が、配列番号1と少なくとも95%の配列同一性を有するアミノ酸配列を含む軽鎖可変領域を含み、(ii)重鎖が、可変重鎖領域とFc領域を含み、a)重鎖可変領域が、配列番号2と少なくとも95%の配列同一性を有するアミノ酸配列を含み、b)Fc領域が、配列番号3と少なくとも95%の配列同一性を有するアミノ酸配列を含み、Fc領域はC11S、C14S、及びP23Sからなる群から選択される1つの置換または置換の組合せを含む、単離抗体である。任意には、Fc領域は、さらなるアミノ酸置換C5Sを含む。
【0007】
本発明の別の態様は、治療上有効な量の本発明に係る抗体を対象に投与することを含む、CD40L関連疾患または障害を有する患者を治療するための方法である。本発明の一実施形態は、治療上有効な量の本発明に係る抗体を対象に投与することを含む、神経変性もしくは神経筋疾患または障害;炎症性もしくは免疫性疾患または障害;あるいは自己免疫疾患を有する患者を治療するための方法である。別の実施形態は、CD28とCD86の間またはCD28とCD80の間の相互作用を遮断する化合物と組合せて投与される、治療上有効な量の本発明に係る抗体を対象に投与することを含む、CD40L関連疾患または障害を有する患者を治療するための方法である。
【図面の簡単な説明】
【0008】
hu5c8についての重鎖アミノ酸配列を示す。太字で示されているアミノ酸は、5c8についての重鎖配列及びJB5及びJB5-K74Rについての重鎖配列の間で異なるアミノ酸を表わす。
JB5についての重鎖アミノ酸配列を示す。太字で示されているアミノ酸は、5c8についての重鎖配列及びJB5及びJB5-K74Rについての重鎖配列の間で異なるアミノ酸を表わす。
JB5-K74Rについての重鎖アミノ酸配列を示す。太字で示されているアミノ酸は、5c8についての重鎖配列及びJB5及びJB5-K74Rについての重鎖配列の間で異なるアミノ酸を表わす。
JB5についての軽鎖アミノ酸配列を示す。太字で示されているアミノ酸は、5c8及びJB5-R28Kについての軽鎖配列間及びhu5c8及びJB5についてのFc領域間で異なるアミノ酸を表わす。
JB5-R28Kについての軽鎖アミノ酸配列を示す。太字で示されているアミノ酸は、5c8及びJB5-R28Kについての軽鎖配列間及びhu5c8及びJB5についてのFc領域間で異なるアミノ酸を表わす。
hu5c8についてのFc領域アミノ酸配列を示す。太字で示されているアミノ酸は、5c8及びJB5-R28Kについての軽鎖配列間及びhu5c8及びJB5についてのFc領域間で異なるアミノ酸を表わす。
JB5についてのFc領域アミノ酸配列を示す。太字で示されているアミノ酸は、5c8及びJB5-R28Kについての軽鎖配列間及びhu5c8及びJB5についてのFc領域間で異なるアミノ酸を表わす。
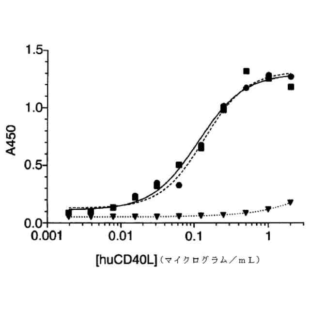
JB5抗体(円、破線)、hu5c8抗体(正方形-実線)、及び対照CTLA4-IgG1(三角形)の、ヒトCD40Lに対する相対的結合を示すグラフである。
ヒトFcガンマ受容体タンパク質のFCGR1A(円、実線)、FCGR2A(円、破線)、FcR3A及びFcR3Bイソ型に対するhu5c8抗体の結合を示すグラフである。
JB5抗体が、ヒトFcガンマ受容体タンパク質のFCGR1A、FCGR2A、FcR3AまたはFcR3Bイソ型に結合しないことを示すグラフである。
サイズ排除カラムから30℃で実施されたJB5抗体についての分析クロマトグラフィ溶出プロファイルを示す。
サイズ排除カラムから30℃で実施されたhu5c8抗体についての分析クロマトグラフィ溶出プロファイルを示す。
蛍光活性化細胞分類(FACS)によって査定される、未処置血小板試料(陰性対照)に対する血小板活性化マーカーPAC1抗体の結合を示すグラフである。
抗PAC1抗体の、FACSによって査定された結合を示すグラフである。
CD40Lを用いた血小板のインキュベーションの後の血小板に対する抗PAC1抗体の、FACSによって査定された結合を示すグラフである。
CD40L及びhu5c8抗体の免疫複合体を用いた血小板のインキュベーション後の、血小板に対する抗PAC1抗体の、FACSによって査定された結合を示すグラフである。
CD40L及びJB5抗体の免疫複合体を用いた血小板のインキュベーション後の、血小板に対する抗PAC1抗体の、FACSによって査定された結合を示すグラフである。
CD40L及びhu5c8F(ab’)
2
の免疫複合体を用いた血小板のインキュベーション後の、血小板に対する抗-PAC1抗体の、FACSによって査定された結合を示すグラフである。
20μMのADP、5μg/mlのCD40L、CD40Lとhu5c8の免疫複合体、CD40LとJB5抗体の免疫複合体、またはCD40Lとhu5c8F(ab’)
2
の免疫複合体を用いた血小板のインキュベーション後の、3人の血小板からのFACS結果を示す、散布図グラフである。
抗CD40L抗体JB5及びhu5c8の可変軽領域アミノ酸配列(配列番号1)、抗CD40L抗体JB5及びhu5c8の可変重領域アミノ酸配列(配列番号2)、抗CD40L抗体hu5c8のFc領域アミノ酸配列(配列番号3)、抗CD40L抗体JB5のFc領域アミノ酸配列(配列番号4)、抗CD40L抗体JB5-R28Kの可変軽領域アミノ酸配列(配列番号5)、抗CD40L抗体JB5-K74Rの可変重領域アミノ酸配列(配列番号6)、及び抗CD40L抗体JB5の軽鎖アミノ酸配列(配列番号7)を提供する。
抗CD40L抗体JB5をコードする軽鎖合成ヌクレオチド配列(配列番号8)を提供し、大文字はエクソンを表わし、小文字は合成遺伝子のイントロン配列を表わし、同様に抗CD40L抗体JB5の重鎖アミノ酸配列(配列番号9)も提供している。
抗CD40L抗体JB5の重鎖をコードする合成核酸配列(配列番号10)を提供し、大文字はエクソンを表わし、小文字は合成遺伝子のイントロン配列を表わす。
抗CD40L抗体JB5-R28Kのアミノ酸配列(配列番号11)、抗CD40L抗体JB5-R28Kの軽鎖をコードする合成核酸配列(配列番号12)を提供し、大文字はエクソンを表わし、小文字は合成遺伝子のイントロン配列を表わし、同様に、抗CD40L抗体JB5-K74Rの重鎖アミノ酸配列(配列番号13)をも提供している。
抗CD40L抗体JB5-K74Rの重鎖をコードする合成核酸配列(配列番号14)を提供し、大文字はエクソンを表わし、小文字は合成遺伝子のイントロン配列を表わす。
抗CD40L抗体JB5の重鎖及び軽鎖のCDRのアミノ酸配列(それぞれ配列番号15~20)、ならびにhu5c8重鎖のアミノ酸配列(配列番号21)を提供する。
【発明を実施するための形態】
【0009】
定義
「comprises」、「comprised」、「comprising」、「contains」、「containing」(~を含む)などの用語は、米国特許法で付与された意味を有する。これらの用語は、包括的または開放形式の表現であり、列挙されていない追加の要素または方法ステップを排除しない。「consisting essentially of」及び「consists essentially of」(本質的に~からなる、~で構成される)などの用語は、米国特許法においてこれらに付与された意味を有する。これらの用語は、特許請求されている発明の基本的な新規の特徴に著しく影響しない追加の成分またはステップの内含を許容する。「consists of」及び「consisting of」(~からなる、~から構成される)なる用語は、米国特許法中でこれらに与えられた意味を有し、これらの用語は、閉鎖形式の表現である。
【0010】
「treat(治療する)」、「treatment(治療)」などの用語は、治療的処置及び予防的処置を含む。治療的処置は、治療すべき疾患、身体条件または障害の症候または症候を有する対象の処置である。予防的処置は、疾患、身体条件及び障害の顕在的兆候を示さない、この疾患、身体条件及び障害の素因を有する対象の処置を意味する。したがって治療は、病気の兆候または症候の停止、部分的または完全な緩和または縮小を結果としてもたらす可能性があり、具体的には、限定的意味なく、延命を含む。
(【0011】以降は省略されています)
この特許をJ-PlatPat(特許庁公式サイト)で参照する
関連特許
東ソー株式会社
タンパク質の発現方法
19日前
東ソー株式会社
炭素-窒素結合形成方法
3か月前
株式会社トクヤマ
四塩化炭素の製造方法
3か月前
株式会社トクヤマ
シロキサン類の回収方法
3か月前
日産化学株式会社
ピリジン化合物の製造方法
4か月前
株式会社半導体エネルギー研究所
有機化合物
1か月前
株式会社トクヤマ
ビオチン誘導体の製造方法
2か月前
栗田工業株式会社
ギ酸の回収方法
1日前
株式会社コスモス
液状炭化水素の増産方法
2か月前
株式会社トクヤマ
ホルムアミド化合物の製造方法
1か月前
東ソー株式会社
イソシアネート化合物の製造方法
1か月前
株式会社トクヤマ
チオラクトン誘導体の製造方法
9日前
株式会社トクヤマ
ベンザゼピン化合物の製造方法
2か月前
株式会社コスモス
液状炭化水素の増産方法
2か月前
日本特殊陶業株式会社
メタン製造装置
3か月前
artience株式会社
四塩基酸無水物の製造方法
3か月前
ユニチカ株式会社
ビスマレイミドおよびその製造方法
4か月前
金剛化学株式会社
ボルチオキセチンの製造方法
4か月前
四国化成工業株式会社
エポキシ化合物およびその利用
4か月前
信越化学工業株式会社
新規化合物
3か月前
日産化学株式会社
ピラゾール化合物及び有害生物防除剤
3か月前
日産化学株式会社
ピラゾール化合物及び有害生物防除剤
2か月前
本田技研工業株式会社
CO2変換方法
5日前
四国化成工業株式会社
イソフタル酸化合物およびその利用
4か月前
国立大学法人東京農工大学
深共晶溶媒
1か月前
株式会社トクヤマ
サフィナミド若しくはその塩の製造方法
3か月前
四国化成工業株式会社
テレフタル酸化合物およびその利用
4か月前
三菱ケミカル株式会社
アルコールの製造方法
27日前
大阪瓦斯株式会社
メタン製造システム
5日前
株式会社トクヤマ
アシル化ベンゼン誘導体の酸塩の製造方法
1か月前
東ソー株式会社
免疫グロブリン結合性タンパク質の保存溶液
3か月前
旭化成株式会社
トリオキサンの製造方法
3か月前
JNC株式会社
有機ケイ素化合物およびこれを用いた重合体
1か月前
株式会社カネカ
プロピレンオキサイド(PO)製造システム
4か月前
キヤノン株式会社
有機化合物及び有機発光素子
9日前
東ソー株式会社
免疫グロブリン結合性タンパク質の製造方法
19日前
続きを見る
他の特許を見る