TOP
|
特許
|
意匠
|
商標
特許ウォッチ
Twitter
他の特許を見る
10個以上の画像は省略されています。
公開番号
2025082608
公報種別
公開特許公報(A)
公開日
2025-05-29
出願番号
2023196049
出願日
2023-11-17
発明の名称
分別装置及び分別方法
出願人
キヤノン株式会社
代理人
個人
,
個人
,
個人
,
個人
主分類
B07C
5/36 20060101AFI20250522BHJP(固体相互の分離;仕分け)
要約
【課題】物体の回収率の低下や誤分別を抑制しながら当該物体を分別することができる分別装置及び分別方法を提供する。
【解決手段】本発明に係る分別装置は、物体を搬送する第1の搬送部と、第1の搬送部によって搬送されている物体の状態を検出する検出部と、第1の搬送部によって搬送されている物体の種類を決定する決定部と、第1の搬送部によって搬送されている物体を複数の分別領域のいずれかに分別する分別部と、第1の搬送部によって搬送されている物体を複数の分別領域以外の所定の領域に分離する分離部と、制御部であって、物体に対して検出部によって検出された状態に基づいて決定部による決定を行うか判定し、決定を行わないと判定された物体に対して分離部によって分離を行わせ、決定を行うと判定された物体に対して決定部によって決定された種類に基づいて分別部によって分別を行わせる制御部とを備えることを特徴とする。
【選択図】図3
特許請求の範囲
【請求項1】
物体を搬送する第1の搬送部と、
前記第1の搬送部によって搬送されている前記物体の状態を検出する検出部と、
前記第1の搬送部によって搬送されている前記物体の種類を決定する決定部と、
前記第1の搬送部によって搬送されている前記物体を複数の分別領域のいずれかに分別する分別部と、
前記第1の搬送部によって搬送されている前記物体を前記複数の分別領域以外の所定の領域に分離する分離部と、
制御部であって、
前記物体に対して前記検出部によって検出された前記状態に基づいて前記決定部による前記決定を行うか判定し、
前記決定を行わないと判定された前記物体に対して前記分離部によって前記分離を行わせ、
前記決定を行うと判定された前記物体に対して前記決定部によって決定された前記種類に基づいて前記分別部によって前記分別を行わせる制御部と、
を備えることを特徴とする分別装置。
続きを表示(約 1,200 文字)
【請求項2】
前記検出部は、前記物体の前記第1の搬送部における位置を検出するように構成されており、
前記制御部は、前記判定において、前記第1の搬送部の所定の範囲内に含まれる物体群において隣接する前記物体の間隔の平均値が所定の閾値未満である場合に該物体群に含まれる前記物体に対して前記決定部による前記決定を行わないと判定することを特徴とする請求項1に記載の分別装置。
【請求項3】
前記検出部は、前記物体の前記第1の搬送部における位置を検出するように構成されており、
前記制御部は、前記判定において、互いの少なくとも一部が重なっている複数の前記物体に対して前記決定部による前記決定を行わないと判定することを特徴とする請求項1に記載の分別装置。
【請求項4】
前記検出部は、前記物体の形状及び色の少なくとも一方を検出するように構成されており、
前記制御部は、前記判定において、前記検出部によって検出された前記物体の前記形状及び前記色の少なくとも一方に基づいて前記判定を行うことを特徴とする請求項1に記載の分別装置。
【請求項5】
前記分離部は、噴射する気体の速度を調整可能な、前記物体に向けて前記気体を噴射する噴射部を含むことを特徴とする請求項1乃至4のいずれか一項に記載の分別装置。
【請求項6】
前記制御部は、前記分離において、前記物体が所定の箱に収納されるように前記噴射部を制御することを特徴とする請求項5に記載の分別装置。
【請求項7】
前記第1の搬送部に前記物体を供給する供給部を備え、
前記分離部は、該供給部まで前記物体を搬送する第2の搬送部を含み、
前記制御部は、前記分離において、前記物体が該第2の搬送部によって搬送されるように前記噴射部を制御することを特徴とする請求項5に記載の分別装置。
【請求項8】
前記制御部は、前記分離において、前記第1の搬送部での前記検出部の検出領域より搬送方向上流側に前記物体が戻るように前記噴射部を制御することを特徴とする請求項5に記載の分別装置。
【請求項9】
前記検出部は、前記物体の画像を撮像する撮像部を含み、該撮像部によって撮像された前記物体の前記画像に基づいて前記物体の前記状態を検出するように構成されていることを特徴とする請求項1乃至4のいずれか一項に記載の分別装置。
【請求項10】
前記決定部は、前記物体に所定の波長を有する照射光を照射する照射部と、前記物体からの光を受光する受光部とを含み、前記受光部によって受光された前記物体からの前記光に対して分光処理を行うことで前記物体の前記種類を決定するように構成されていることを特徴とする請求項1乃至4のいずれか一項に記載の分別装置。
(【請求項11】以降は省略されています)
発明の詳細な説明
【技術分野】
【0001】
本発明は、分別装置及び分別方法に関する。
続きを表示(約 1,700 文字)
【背景技術】
【0002】
従来、様々な物体が混在している物体群から所定の物体を分別する分別装置が用いられている。
特許文献1は、ベルトコンベア上において搬送されている物体に対してレーザー光を照射した後、当該物体からのラマン散乱光を受光し分析することによって当該物体の種類を識別することで当該物体を分別する分別装置を開示している。
【先行技術文献】
【特許文献】
【0003】
特開2013‐36971号公報
【発明の概要】
【発明が解決しようとする課題】
【0004】
特許文献1に開示されている分別装置では、ベルトコンベア上において搬送されている各物体からのラマン散乱光が受光され分析された後、当該分析の結果によって識別された種類に基づいて各物体に対して圧縮空気を噴出することによって各物体が分別されている。
一方、そのようなベルトコンベア上には互いに非常に近接している、すなわち高密度の複数の物体や、互いに重なっている複数の物体が供給されることが考えられる。
【0005】
ベルトコンベア上にそのように供給された複数の物体にレーザー光を照射すると、当該複数の物体それぞれからのラマン散乱光が混合することで、各物体の種類を誤って識別する虞がある。
また、当該複数の物体それぞれの種類を正しく識別できたとしても、当該複数の物体それぞれを分離するように気体を噴射することは非常に困難である。
【0006】
このように分別装置において物体の種類の識別精度や当該物体の分離精度が低下してしまうと、当該分別装置において投入された物体の量に対する回収された物体の量の割合、すなわち回収率が低下してしまう。
また、当該回収された物体に誤って分別された物体が含まれる可能性がある。
【0007】
そこで本発明は、物体の回収率の低下や誤分別を抑制しながら当該物体を分別することができる分別装置及び分別方法を提供することを目的とする。
【課題を解決するための手段】
【0008】
本発明に係る分別装置は、物体を搬送する第1の搬送部と、第1の搬送部によって搬送されている物体の状態を検出する検出部と、第1の搬送部によって搬送されている物体の種類を決定する決定部と、第1の搬送部によって搬送されている物体を複数の分別領域のいずれかに分別する分別部と、第1の搬送部によって搬送されている物体を複数の分別領域以外の所定の領域に分離する分離部と、制御部であって、物体に対して検出部によって検出された状態に基づいて決定部による決定を行うか判定し、決定を行わないと判定された物体に対して分離部によって分離を行わせ、決定を行うと判定された物体に対して決定部によって決定された種類に基づいて分別部によって分別を行わせる制御部とを備えることを特徴とする。
【発明の効果】
【0009】
本発明によれば、物体の回収率の低下や誤分別を抑制しながら当該物体を分別することができる分別装置及び分別方法を提供することができる。
【図面の簡単な説明】
【0010】
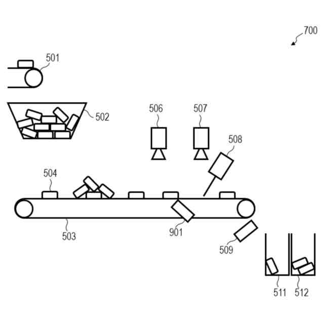
第一実施形態に係る分別システムの模式的側面図。
第一実施形態に係る分別システムのハードウェア構成及び機能構成を示すブロック図。
第一実施形態に係る分別システムにおける動作のフローチャート及び当該動作の一部工程のサブフローチャート。
第一実施形態に係る分別システムの模式的一部上面図。
第二実施形態に係る分別システムの模式的側面図。
第二実施形態に係る分別システムにおける動作の一部工程のサブフローチャート。
第三実施形態に係る分別システムの模式的側面図。
第三実施形態に係る分別システムにおける動作の一部工程のサブフローチャート。
【発明を実施するための形態】
(【0011】以降は省略されています)
この特許をJ-PlatPat(特許庁公式サイト)で参照する
関連特許
キヤノン株式会社
トナー
1日前
キヤノン株式会社
トナー
6日前
キヤノン株式会社
トナー
1日前
キヤノン株式会社
トナー
1日前
キヤノン株式会社
記録装置
6日前
キヤノン株式会社
電子機器
8日前
キヤノン株式会社
定着装置
今日
キヤノン株式会社
撮像装置
6日前
キヤノン株式会社
撮像装置
2日前
キヤノン株式会社
現像剤容器
7日前
キヤノン株式会社
モジュール
1日前
キヤノン株式会社
光学センサ
1日前
キヤノン株式会社
半導体装置
8日前
キヤノン株式会社
画像形成装置
2日前
キヤノン株式会社
画像形成装置
2日前
キヤノン株式会社
画像形成装置
2日前
キヤノン株式会社
画像形成装置
6日前
キヤノン株式会社
画像形成装置
2日前
キヤノン株式会社
画像形成装置
2日前
キヤノン株式会社
画像形成装置
2日前
キヤノン株式会社
画像形成装置
2日前
キヤノン株式会社
映像表示装置
10日前
キヤノン株式会社
画像形成装置
6日前
キヤノン株式会社
画像形成装置
6日前
キヤノン株式会社
映像表示装置
1日前
キヤノン株式会社
吐出素子基板
6日前
キヤノン株式会社
情報処理装置
6日前
キヤノン株式会社
画像表示装置
6日前
キヤノン株式会社
画像形成装置
7日前
キヤノン株式会社
画像形成装置
今日
キヤノン株式会社
画像形成装置
7日前
キヤノン株式会社
画像形成装置
7日前
キヤノン株式会社
画像形成装置
今日
キヤノン株式会社
画像形成装置
8日前
キヤノン株式会社
画像形成装置
今日
キヤノン株式会社
画像処理装置
7日前
続きを見る
他の特許を見る