TOP
|
特許
|
意匠
|
商標
特許ウォッチ
Twitter
他の特許を見る
公開番号
2025146334
公報種別
公開特許公報(A)
公開日
2025-10-03
出願番号
2024047054
出願日
2024-03-22
発明の名称
画像形成装置
出願人
キヤノン株式会社
代理人
個人
,
個人
,
個人
,
個人
,
個人
主分類
H10K
59/60 20230101AFI20250926BHJP()
要約
【課題】 高い画像品質を実現できる画像形成装置を提供する
【解決手段】 有機発光素子を有する露光光源と、有機発光素子から発せられた光を受光する感光体とを有する画像形成装置であって、有機発光素子への電流の供給終了時における有機発光素子からの発光強度をL
0
、有機発光素子への電流の供給終了時から有機発光素子が消光するまでの期間をT1、有機発光素子への電流の供給開始時から前記有機発光素子への電流の供給終了時までの期間をT2としたとき、T2がT1より大きいことを特徴とする。
【選択図】 図1
特許請求の範囲
【請求項1】
有機発光素子を有する露光光源と、前記有機発光素子から発せられた光を受光する感光体とを有し、
前記有機発光素子への電流の供給終了時における有機発光素子からの発光強度をL
0
、前記有機発光素子への電流の供給終了時から前記有機発光素子が消光するまでの期間をT1、前記有機発光素子への電流の供給開始時から前記有機発光素子への電流の供給終了時までの期間をT2としたとき、
前記T1と、前記T2とが、式(a)の関係を満たすことを特徴とする画像形成装置。
(a) T1<T2
続きを表示(約 950 文字)
【請求項2】
前記T1と、前記T2とが、式(b)の関係を満たすことを特徴とする請求項1に記載の画像形成装置。
(b) T2/T1>1.0
【請求項3】
前記有機発光素子への電流の供給終了時から前記有機発光素子への電流の供給開始時までの期間をT3としたとき、
前記T1と前記T3とが、式(c)の関係を満たすことを特徴とする請求項1または2に記載の画像形成装置。
(c) T1<T3
【請求項4】
有機発光素子を有する露光光源と、前記有機発光素子から発せられた光を受光する感光体とを有し、
前記有機発光素子への電流の供給終了時における有機発光素子からの発光強度をL
0
、前記有機発光素子への電流の供給終了時から前記有機発光素子が消光するまでの期間をT1、前記有機発光素子への電流の供給終了時から前記有機発光素子への電流の供給開始時までの期間をT3としたとき、
前記T1と、前記T3とが、式(c)の関係を満たすことを特徴とする画像形成装置。
(c) T1<T3
【請求項5】
前記有機発光素子がトップエミッション構成であることを特徴とする請求項1または4に記載の画像形成装置。
【請求項6】
前記有機発光素子は、発光材料を含有する発光層を有し、前記発光材料は、蛍光を発光することを特徴とする請求項1または4に記載の画像形成装置。
【請求項7】
前記有機発光素子は、発光材料を含有する発光層を有し、前記発光材料は、燐光を発光することを特徴とする請求項1または4に記載の画像形成装置。
【請求項8】
前記発光材料は、縮合多環炭化水素骨格を有することを特徴とする請求項6に記載の画像形成装置。
【請求項9】
前記発光材料は、炭化水素化合物であることを特徴とする請求項8に記載の画像形成装置。
【請求項10】
前記発光層は、前記発光材料とは異なる化合物を有し、前記化合物は、縮合多環炭化水素骨格を有することを特徴とする請求項6または7に記載の画像形成装置。
(【請求項11】以降は省略されています)
発明の詳細な説明
【技術分野】
【0001】
本発明は、画像形成装置に関する。
続きを表示(約 1,500 文字)
【背景技術】
【0002】
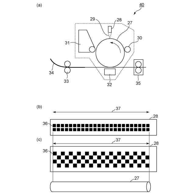
電子写真方式を利用した画像形成装置は、複写機、ファクシミリ装置、プリンタとして広く一般に利用されている。このような画像形成装置は、発光部を有する露光光源を備えた画像形成装置である。発光素子としては、LED(Light Emitting Diode)を用いたものや、有機発光素子(OLED:Organic Light Emitting Diode)を用いたものがある。これら発光素子から照射される光によって、有機電子写真感光体(OPC:Organic Photoconductor)を用いた感光体ドラム(以降、「感光体」と称する場合がある)を露光し、感光体ドラムに形成された潜像に対応する画像を記録紙にプリントする。
【0003】
特許文献1には、有機発光素子(以降、「有機エレクトロルミネッセンス素子」や「有機EL素子」と称する場合がある)を用いた露光光源を備える画像形成装置が記載されている。
【先行技術文献】
【特許文献】
【0004】
特開2007-128040号公報
【発明の概要】
【発明が解決しようとする課題】
【0005】
有機発光素子は、電流供給が終了した後であっても発光し続け、時間の経過に伴い発光強度が減衰する特性を有する。そのため、有機発光素子を露光光源に用いる場合、電流供給が終了した後に有機発光素子から発せられる光(以下、「残光」と称する場合がある)を考慮する必要がある。
【0006】
しかし、特許文献1には、感光体に対する有機発光素子(以降、「有機エレクトロルミネッセンス素子」や「有機EL素子」と称する場合がある)の露光時間と、有機発光素子への電流の供給が終了してから消光するまでの時間の関係について示唆されておらず、画像品質に課題がある。
【0007】
本発明は上記課題に鑑みてなされるものであり、その目的は、高い画像品質を実現できる画像形成装置を提供することである。
【課題を解決するための手段】
【0008】
本発明に係る画像形成装置の1つの側面は、有機発光素子を有する露光光源と、有機発光素子から発せられた光を受光する感光体とを有し、有機発光素子への電流の供給終了時における有機発光素子からの発光強度をL
0
、有機発光素子への電流の供給終了時から有機発光素子が消光するまでの期間をT1、有機発光素子への電流の供給開始時から前記有機発光素子への電流の供給終了時までの期間をT2としたとき、T1と、T2とが、式(a)の関係を満たすことを特徴とする。
(a) T1<T2
【0009】
また、本発明に係る画像形成装置のもう1つの側面は、有機発光素子を有する露光光源と、有機発光素子から発せられた光を受光する感光体と、を有し、有機発光素子への電流の供給終了時における有機発光素子からの発光強度をL
0
、有機発光素子への電流の供給終了時から有機発光素子が消光するまでの期間をT1、有機発光素子への電流の供給終了時から有機発光素子への電流の供給開始時までの期間をT3としたとき、T1と、T3とが、式(c)の関係を満たすことを特徴とする。
(c) T1<T3
【発明の効果】
【0010】
本発明によれば、高い画像品質を実現できる画像形成装置を提供することができる。
【図面の簡単な説明】
(【0011】以降は省略されています)
この特許をJ-PlatPat(特許庁公式サイト)で参照する
関連特許
キヤノン株式会社
トナー
今日
キヤノン株式会社
トナー
今日
キヤノン株式会社
トナー
今日
キヤノン株式会社
トナー
1か月前
キヤノン株式会社
トナー
5日前
キヤノン株式会社
表示装置
12日前
キヤノン株式会社
撮像装置
5日前
キヤノン株式会社
定着装置
28日前
キヤノン株式会社
定着装置
28日前
キヤノン株式会社
定着装置
28日前
キヤノン株式会社
電子機器
9日前
キヤノン株式会社
撮像装置
21日前
キヤノン株式会社
電子機器
21日前
キヤノン株式会社
発光装置
12日前
キヤノン株式会社
撮像装置
1日前
キヤノン株式会社
記録装置
21日前
キヤノン株式会社
撮像装置
1か月前
キヤノン株式会社
撮像装置
20日前
キヤノン株式会社
記録装置
20日前
キヤノン株式会社
撮像装置
19日前
キヤノン株式会社
収容装置
13日前
キヤノン株式会社
定着装置
13日前
キヤノン株式会社
定着装置
19日前
キヤノン株式会社
撮像装置
13日前
キヤノン株式会社
電子機器
13日前
キヤノン株式会社
電子機器
13日前
キヤノン株式会社
電子機器
28日前
キヤノン株式会社
現像装置
1か月前
キヤノン株式会社
電子機器
1か月前
キヤノン株式会社
光学装置
1か月前
キヤノン株式会社
電子機器
7日前
キヤノン株式会社
電子機器
1か月前
キヤノン株式会社
電子機器
1か月前
キヤノン株式会社
撮像装置
1か月前
キヤノン株式会社
記録装置
5日前
キヤノン株式会社
光学センサ
今日
続きを見る
他の特許を見る