TOP
|
特許
|
意匠
|
商標
特許ウォッチ
Twitter
他の特許を見る
10個以上の画像は省略されています。
公開番号
2025146532
公報種別
公開特許公報(A)
公開日
2025-10-03
出願番号
2024047365
出願日
2024-03-22
発明の名称
画像形成装置
出願人
キヤノン株式会社
代理人
弁理士法人近島国際特許事務所
主分類
B41J
29/38 20060101AFI20250926BHJP(印刷;線画機;タイプライター;スタンプ)
要約
【課題】生産性を向上可能な画像形成装置を提供する。
【解決手段】画像形成装置は、筐体と、画像形成部と、扉部と、筐体の外部に露出するように配置される第1積載部と、筐体の内部に配置される第2積載部と、搬送部と、画像形成動作を継続可能な第1のエラーと、画像形成動作を継続不能な第2のエラーと、を検知可能なエラー検知部と、制御部と、を備える。制御部は、第1のエラーが検知された場合に、第1積載部にシートを排出し、第2積載部にシートを排出しないように搬送部を制御する第1のリカバリ動作と、第2のエラーが検知された場合に、第1積載部及び第2積載部の少なくともいずれか一方にシートを排出するように搬送部を制御する第2のリカバリ動作と、を実行可能である。
【選択図】図13
特許請求の範囲
【請求項1】
筐体と、
シートに画像を形成する画像形成動作を実行可能な画像形成部と、
前記筐体に開閉可能に支持される扉部と、
前記筐体の外部に露出するように配置され、シートを積載可能な第1積載部と、
前記筐体の内部に配置されると共に、前記扉部が前記筐体に対して閉じられた状態では前記筐体の外部に露出しないように配置された第2積載部であって、シートを積載可能な第2積載部と、
シートを搬送する搬送部と、
前記画像形成動作を継続可能な第1のエラーと、前記画像形成動作を継続不能な第2のエラーと、を検知可能なエラー検知部と、
前記搬送部を制御する制御部と、を備え、
前記制御部は、
前記エラー検知部によって前記第1のエラーが検知された場合に、前記第1のエラーから復帰するために実行される第1のリカバリ動作であって、前記第1積載部にシートを排出し、前記第2積載部にシートを排出しないように前記搬送部を制御する第1のリカバリ動作と、
前記エラー検知部によって前記第2のエラーが検知された場合に、前記第2のエラーから復帰するために実行される第2のリカバリ動作であって、前記第1積載部及び前記第2積載部の少なくともいずれか一方にシートを排出するように前記搬送部を制御する第2のリカバリ動作と、を実行可能である、
ことを特徴とする画像形成装置。
続きを表示(約 1,300 文字)
【請求項2】
前記制御部は、前記エラー検知部によって第1のシートに対して前記第1のエラーが検知された場合に、前記第1のリカバリ動作において、前記第1のシート並びに前記第1のシートに後続する第2のシートを前記第1積載部にシートを排出し、前記第2積載部に前記第1のシート及び前記第2のシートを排出しないように前記搬送部を制御する、
ことを特徴とする請求項1に記載の画像形成装置。
【請求項3】
前記エラー検知部によって前記第1のシートに対して前記第1のエラーが検知されたときに、前記第1のリカバリ動作において、シート搬送方向において、前記第2のシート、前記第2積載部、前記第1積載部の順で並んでいる場合、前記第2のシートは、前記第2積載部に排出されず、前記第1積載部に排出される、
ことを特徴とする請求項2に記載の画像形成装置。
【請求項4】
前記エラー検知部は、シート搬送方向において前記画像形成部がシートに画像を形成する画像形成位置の上流に配置され、シートの浮きを検知する浮き検知部を含み、
前記制御部は、前記浮き検知部によって前記第1のエラーとしてのシートの浮きが検知された場合に、前記第1のリカバリ動作を実行する、
ことを特徴とする請求項1に記載の画像形成装置。
【請求項5】
前記エラー検知部は、シート搬送方向において前記画像形成部がシートに画像を形成する画像形成位置の上流に配置され、シートのサイズを検知するサイズ検知部を含み、
前記制御部は、前記画像形成部によって形成される画像サイズと前記サイズ検知部によって検知されるシートのサイズが一致しない前記第1のエラーとしてのサイズ不一致が検知された場合に、前記第1のリカバリ動作を実行する、
ことを特徴とする請求項1に記載の画像形成装置。
【請求項6】
前記エラー検知部は、前記筐体内に設けられた搬送パスにおいてシートを検知するシートセンサを含み、
前記制御部は、前記シートセンサによって前記第2のエラーとしてのジャムが検知された場合に、前記第2のリカバリ動作を実行する、
ことを特徴とする請求項1に記載の画像形成装置。
【請求項7】
前記画像形成動作が行われている際に、前記扉部を前記筐体に対して閉じられた状態でロックするロック機構を更に備える、
ことを特徴とする請求項1乃至5のいずれか1項に記載の画像形成装置。
【請求項8】
前記第1積載部に積載可能なシートの枚数は、前記第2積載部に積載可能なシートの枚数よりも多い、
ことを特徴とする請求項1乃至5のいずれか1項に記載の画像形成装置。
【請求項9】
前記画像形成部において第1面に画像が形成されたシートを、再び前記画像形成部に搬送するための両面搬送パスを更に備え、
前記第2積載部は、前記両面搬送パスから分岐するように配置されている、
ことを特徴とする請求項1乃至5のいずれか1項に記載の画像形成装置。
発明の詳細な説明
【技術分野】
【0001】
本発明は、シートに画像を形成する画像形成装置に関する。
続きを表示(約 2,400 文字)
【背景技術】
【0002】
従来、上流装置、自装置及び下流装置から構成される画像形成システムが提案されている(特許文献1参照)。これら上流装置、自装置及び下流装置は、それぞれシートが搬送される搬送パスを有し、各装置の搬送パスが連続するように設けられている。自装置には、搬送パスに接続するエスケープトレイが設けられている。エスケープトレイよりもシート搬送方向における下流でジャムが発生した場合、エスケープトレイよりもシート搬送方向における上流に位置するシートは、エスケープトレイへ排出される。これにより、ジャムが発生した場合に、搬送パスに残存するシートの枚数を減らし、ジャム処理性を向上することができる。
【先行技術文献】
【特許文献】
【0003】
特開2007-69440号公報
【発明の概要】
【発明が解決しようとする課題】
【0004】
ところで、画像形成システムでは、ジャムが発生した際に画像形成システム内に残留するシートを減らすために、画像形成システムの複数の箇所にエスケープトレイを設けることが望まれる。また、一般に、ジャム以外にも、画像形成動作を停止せずに復帰可能なエラーが知られている。
【0005】
画像形成動作中にアクセスできない位置にエスケープトレイが設けられた場合、上述したエラーの復帰動作のために該エスケープトレイにシートが満載状態となると、画像形成動作を停止しなければならず、生産性低下の要因となる。
【0006】
本発明は、生産性を向上可能な画像形成装置を提供することを目的とする。
【課題を解決するための手段】
【0007】
本発明は、画像形成装置において、筐体と、シートに画像を形成する画像形成動作を実行可能な画像形成部と、前記筐体に開閉可能に支持される扉部と、前記筐体の外部に露出するように配置され、シートを積載可能な第1積載部と、前記筐体の内部に配置されると共に、前記扉部が前記筐体に対して閉じられた状態では前記筐体の外部に露出しないように配置された第2積載部であって、シートを積載可能な第2積載部と、シートを搬送する搬送部と、前記画像形成動作を継続可能な第1のエラーと、前記画像形成動作を継続不能な第2のエラーと、を検知可能なエラー検知部と、前記搬送部を制御する制御部と、を備え、前記制御部は、前記エラー検知部によって前記第1のエラーが検知された場合に、前記第1のエラーから復帰するために実行される第1のリカバリ動作であって、前記第1積載部にシートを排出し、前記第2積載部にシートを排出しないように前記搬送部を制御する第1のリカバリ動作と、前記エラー検知部によって前記第2のエラーが検知された場合に、前記第2のエラーから復帰するために実行される第2のリカバリ動作であって、前記第1積載部及び前記第2積載部の少なくともいずれか一方にシートを排出するように前記搬送部を制御する第2のリカバリ動作と、を実行可能である、ことを特徴とする。
【発明の効果】
【0008】
本発明によると、生産性を向上できる。
【図面の簡単な説明】
【0009】
画像形成装置のハードウェアブロック図。
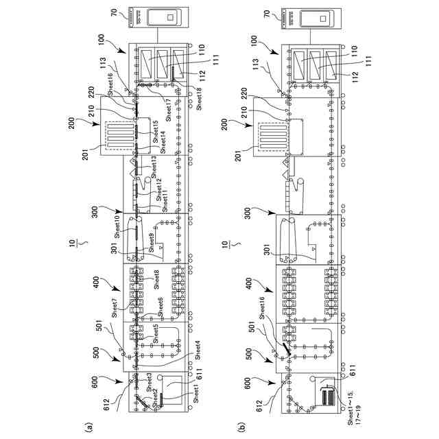
画像形成装置を示す断面図。
(a)は浮き検知部を示す平面図、(b)は正常なシートが搬送されたときの浮き検知部を示す側面図、(c)は浮きシートが搬送されたときの浮き検知部を示す側面図。
(a)はサイズ検知部を示す平面図、(b)はシートサイズと画像サイズとを示す平面図。
(a)は片面18枚ジョブを実行中のシート搬送状態を示す断面図、(b)は片面18枚ジョブが終了した状態を示す断面図。
(a)は図5(a)に示すタイミングでのジョブ管理部が管理するシート情報を示す図、(b)は図5(b)に示すタイミングでのジョブ管理部が管理するシート情報を示す図。
(a)は両面26枚ジョブを実行中のシート搬送状態を示す断面図、(b)は両面26枚ジョブが終了した状態を示す断面図。
(a)は図7(a)に示すタイミングでのジョブ管理部が管理するシート情報を示す図、(b)は図7(b)に示すタイミングでのジョブ管理部が管理するシート情報を示す図。
(a)は両面26枚ジョブを実行中のシート搬送状態を示す断面図、(b)はジャム検知後にエスケープ排出処理が完了した状態を示す断面図。
(a)は図9(a)に示すタイミングでのジョブ管理部が管理するシート情報を示す図、(b)は図9(b)に示すタイミングでのジョブ管理部が管理するシート情報を示す図。
画像形成装置を示す正面図。
(a)は第1のエラーから復帰するためのエスケープ排出処理における、シートの位置とエスケープ排出トレイとの関係性を示す説明図。(b)は第2のエラーから復帰するためのエスケープ排出処理における、シートの位置とエスケープ排出トレイとの関係性を示す説明図。
エスケープ排出処理を示すフローチャート。
【発明を実施するための形態】
【0010】
[画像形成装置のハードウェア構成]
図1は、本実施形態に係る画像形成装置10のハードウェアブロック図である。画像形成装置10は、コントローラユニット1000を有し、制御部としてのコントローラユニット1000は、センサ信号やデバイス情報の入出力を制御する。コントローラユニット1000は、CPU(Central Processing Unit)1001、RAM(Randum Access Memory)1002、ROM(Read Only Memory)1003及びHDD1004を有する。
(【0011】以降は省略されています)
この特許をJ-PlatPat(特許庁公式サイト)で参照する
関連特許
キヤノン株式会社
トナー
12日前
キヤノン株式会社
トナー
7日前
キヤノン株式会社
トナー
7日前
キヤノン株式会社
トナー
7日前
キヤノン株式会社
収容装置
20日前
キヤノン株式会社
測距装置
今日
キヤノン株式会社
現像装置
5日前
キヤノン株式会社
現像容器
5日前
キヤノン株式会社
現像装置
5日前
キヤノン株式会社
定着装置
6日前
キヤノン株式会社
電子機器
20日前
キヤノン株式会社
現像容器
5日前
キヤノン株式会社
電子機器
14日前
キヤノン株式会社
電子機器
20日前
キヤノン株式会社
撮像装置
20日前
キヤノン株式会社
記録装置
5日前
キヤノン株式会社
撮像装置
12日前
キヤノン株式会社
定着装置
26日前
キヤノン株式会社
電子機器
16日前
キヤノン株式会社
撮像装置
8日前
キヤノン株式会社
発光装置
19日前
キヤノン株式会社
撮影装置
5日前
キヤノン株式会社
記録装置
12日前
キヤノン株式会社
定着装置
20日前
キヤノン株式会社
表示装置
19日前
キヤノン株式会社
光学センサ
7日前
キヤノン株式会社
現像剤容器
13日前
キヤノン株式会社
半導体装置
14日前
キヤノン株式会社
モジュール
7日前
キヤノン株式会社
画像形成装置
19日前
キヤノン株式会社
画像形成装置
12日前
キヤノン株式会社
情報処理装置
5日前
キヤノン株式会社
画像形成装置
5日前
キヤノン株式会社
画像形成装置
13日前
キヤノン株式会社
画像形成装置
13日前
キヤノン株式会社
画像形成装置
19日前
続きを見る
他の特許を見る