TOP
|
特許
|
意匠
|
商標
特許ウォッチ
Twitter
他の特許を見る
公開番号
2025090449
公報種別
公開特許公報(A)
公開日
2025-06-17
出願番号
2023205671
出願日
2023-12-05
発明の名称
什器
出願人
株式会社オカムラ
代理人
個人
主分類
A47B
13/02 20060101AFI20250610BHJP(家具;家庭用品または家庭用設備;コーヒーひき;香辛料ひき;真空掃除機一般)
要約
【課題】支持脚の内部空間に対するメンテナンス性を維持した上で、予期せず内部空間が開放されてしまうことを抑制できる什器を提供する。
【解決手段】本発明の一態様に係る什器は、一対の支持脚と、一対の支持脚に下方から支持される上部構造体と、を備えている。一対の支持脚は、第1方向の両側に開口する内部空間が形成されるとともに、床面から上方に延びる脚本体と、内部空間のうち第1方向の外側開口部を遮蔽するとともに、少なくとも脚本体の外部から取り外し不能に脚本体に連結された第1遮蔽部材と、内部空間のうち第1方向の内側開口部を、脚本体の外部から開閉可能に脚本体に連結された第2遮蔽部材と、を備えている。
【選択図】図5
特許請求の範囲
【請求項1】
床面から上方に延びるとともに、上下方向に交差する第1方向に間隔をあけて配置された一対の支持脚と、
一対の前記支持脚間に架け渡された状態で、一対の前記支持脚に下方から支持される上部構造体と、を備え、
前記第1方向のうち、一方の前記支持脚が他方の前記支持脚に接近する向きを内側とし、一方の前記支持脚が他方の前記支持脚から離れる向きを外側とすると、
一対の前記支持脚は、
前記第1方向の両側に開口する内部空間が形成されるとともに、床面から上方に延びる脚本体と、
前記内部空間のうち前記第1方向の外側を向く外側開口部を遮蔽するとともに、少なくとも前記脚本体の外部から取り外し不能に前記脚本体に連結された第1遮蔽部材と、
前記内部空間のうち前記第1方向の内側を向く内側開口部を、前記脚本体の外部から開閉可能に前記脚本体に連結された第2遮蔽部材と、を備えている什器。
続きを表示(約 500 文字)
【請求項2】
前記脚本体は、上下方向から見て前記第1方向に交差する第2方向に離間して配置されるとともに、前記内部空間を区画する一対の起立部を備え、
前記第1遮蔽部材は、一対の前記起立部間に架け渡されている請求項1に記載の什器。
【請求項3】
前記脚本体は、一対の起立部間に前記第2方向に架け渡された連結部を備えている請求項2に記載の什器。
【請求項4】
前記第1遮蔽部材は、前記第1遮蔽部材に対して前記第1方向の内側から前記脚本体を前記第1方向に貫通するとともに、前記第1遮蔽部材に締め付けられた締結部材によって前記脚本体に連結されている請求項1から請求項3の何れか1項に記載の什器。
【請求項5】
前記脚本体は、前記第1遮蔽部材に向かい合って配置されるとともに、前記締結部材が貫通する支持板部を備え、
前記支持板部は、前記第1方向の内側に向けて前記内部空間で露呈している請求項4に記載の什器。
【請求項6】
前記第2遮蔽部材は、前記脚本体に磁石を介して連結されている請求項1から請求項3の何れか1項に記載の什器。
発明の詳細な説明
【技術分野】
【0001】
本発明は、什器に関する。
続きを表示(約 1,900 文字)
【背景技術】
【0002】
天板付什器の支持脚として、左右方向の両側に開口する枠状のコア部と、コア部の開口部を左右方向の両側からそれぞれ覆う一対のカバー部と、を備える構成が知られている(例えば、下記特許文献1参照)。支持脚において、コア部の内部空間には、配線等が収容される。カバー部は、コア部に対して外側から引っ掛けられること等により、コア部に着脱可能に取り付けられている。この種の天板付什器において、配線のメンテナンス等を行う際には、カバー部をコア部から取り外すことで、コア部の内部空間にアクセスが可能になる。
【先行技術文献】
【特許文献】
【0003】
特開2019-072374号公報
【発明の概要】
【発明が解決しようとする課題】
【0004】
しかしながら、上述した従来技術にあっては、一対のカバー部それぞれが、コア部に対して外部から取り外し可能に取り付けられている。そのため、下肢や物品等がカバー部に接触した際の衝撃等により、カバー部が脱落し、内部空間が開放されてしまう可能性があった。
【0005】
本発明は、支持脚の内部空間に対するメンテナンス性を維持した上で、予期せず内部空間が開放されてしまうことを抑制できる什器を提供する。
【課題を解決するための手段】
【0006】
上記課題を解決するために、本発明は以下の態様を採用した。
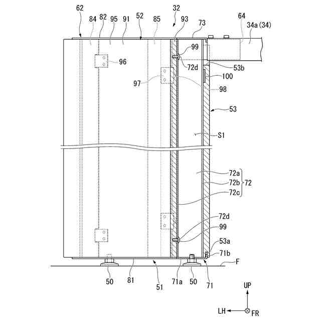
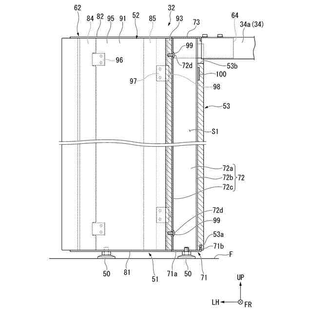
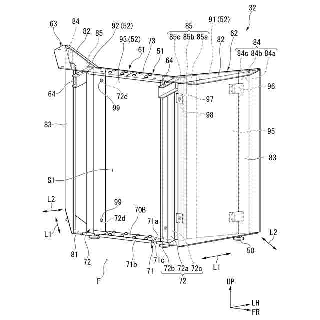
(1)本発明の一態様に係る什器は、床面から上方に延びるとともに、上下方向に交差する第1方向に間隔をあけて配置された一対の支持脚と、一対の前記支持脚間に架け渡された状態で、一対の前記支持脚に下方から支持される上部構造体と、を備え、前記第1方向のうち、一方の前記支持脚が他方の前記支持脚に接近する向きを内側とし、一方の前記支持脚が他方の前記支持脚から離れる向きを外側とすると、一対の前記支持脚は、前記第1方向の両側に開口する内部空間が形成されるとともに、床面から上方に延びる脚本体と、前記内部空間のうち前記第1方向の外側を向く外側開口部を遮蔽するとともに、少なくとも前記脚本体の外部から取り外し不能に前記脚本体に連結された第1遮蔽部材と、前記内部空間のうち前記第1方向の内側を向く内側開口部を、前記脚本体の外部から開閉可能に前記脚本体に連結された第2遮蔽部材と、を備えている。
【0007】
本態様によれば、第1遮蔽部材が脚本体の外部から取り外し不能に構成されているため、第1遮蔽部材を比較的強固な連結手段で脚本体に連結することができる。これにより、使用者の下肢や物品等が第1遮蔽部材に接触したとしても、第1遮蔽部材が脚本体から脱落し難い。一方、第2遮蔽部材については、脚本体の外部からを着脱操作が可能であることから、配線等のメンテナンス時に内側空間を容易に開閉できる。その結果、支持脚の内部空間に対するメンテナンス性を維持した上で、予期せず内部空間が開放されてしまうことを抑制できる。
【0008】
(2)上記(1)の態様に係る什器において、前記脚本体は、上下方向から見て前記第1方向に交差する第2方向に離間して配置されるとともに、前記内部空間を区画する一対の起立部を備え、前記第1遮蔽部材は、一対の前記起立部間に架け渡されていることが好ましい。
本態様によれば、第1遮蔽部材が脚本体の外部から取り外し不能に起立部に取り付けられるため、支持脚の強度を確保し易い。また、起立部によって内側空間の第2方向が区画されることで、内側空間を有効活用できる。
【0009】
(3)上記(2)の態様に係る什器において、前記脚本体は、一対の起立部間に前記第2方向に架け渡された連結部を備えていることが好ましい。
本態様によれば、起立部及び連結部によって脚本体に枠状の部分を形成することができる。これにより、支持脚の強度を確保し易い。
【0010】
(4)上記(1)から(3)の何れかの態様に係る什器において、前記第1遮蔽部材は、前記第1遮蔽部材に対して前記第1方向の内側から前記脚本体を前記第1方向に貫通するとともに、前記第1遮蔽部材に締め付けられた締結部材によって前記脚本体に連結されていることが好ましい。
本態様によれば、締結部材を第1遮蔽部材に締め付けることで、第1遮蔽部材に対して第1方向の外側に締結部材を突出させずに、第1遮蔽部材を簡単に脚本体に固定することができる。これにより、支持脚の外観の体裁を向上させた上で、脚本体の外部から取り外し不能に第1遮蔽部材を取り付けることができる。
(【0011】以降は省略されています)
この特許をJ-PlatPat(特許庁公式サイト)で参照する
関連特許
株式会社オカムラ
椅子
2か月前
株式会社オカムラ
椅子
2か月前
株式会社オカムラ
台車
1か月前
株式会社オカムラ
台車
1か月前
株式会社オカムラ
台車
1か月前
株式会社オカムラ
収納装置
13日前
株式会社オカムラ
収納装置
13日前
株式会社オカムラ
収納装置
13日前
株式会社オカムラ
収納装置
13日前
株式会社オカムラ
天板付什器
1か月前
株式会社オカムラ
天板付什器
1か月前
株式会社オカムラ
天板付什器
3日前
株式会社オカムラ
天板付什器
3日前
株式会社オカムラ
防水板装置
14日前
株式会社オカムラ
什器システム
13日前
株式会社オカムラ
ショーケース
1か月前
株式会社オカムラ
管理システム
1か月前
株式会社オカムラ
収納ボックス
13日前
株式会社オカムラ
天板昇降式什器
13日前
株式会社オカムラ
天板昇降式什器
29日前
株式会社オカムラ
空間形成用什器
15日前
株式会社オカムラ
天板昇降式什器
13日前
株式会社オカムラ
移動間仕切装置
6日前
株式会社オカムラ
移動間仕切装置
6日前
株式会社オカムラ
オフィス収納装置
13日前
株式会社オカムラ
間仕切パネル装置
7日前
株式会社オカムラ
故障予知システム
7日前
株式会社オカムラ
モバイルバッテリ
3日前
株式会社オカムラ
ショッピングカート
1か月前
株式会社オカムラ
ショッピングカート
1か月前
株式会社オカムラ
ショッピングカート
1か月前
株式会社オカムラ
ショッピングカート
1か月前
株式会社オカムラ
天板付什器、什器システム
3日前
株式会社オカムラ
天板付什器、什器システム
3日前
株式会社オカムラ
パネル体および間仕切り装置
2か月前
株式会社オカムラ
什器ユニットおよび天板付什器
3日前
続きを見る
他の特許を見る