TOP
|
特許
|
意匠
|
商標
特許ウォッチ
Twitter
他の特許を見る
公開番号
2025102007
公報種別
公開特許公報(A)
公開日
2025-07-08
出願番号
2023219151
出願日
2023-12-26
発明の名称
摂食嚥下障害改善支援システムおよび摂食嚥下障害改善支援方法
出願人
学校法人日本大学
代理人
個人
,
個人
,
個人
主分類
G16H
50/00 20180101AFI20250701BHJP(特定の用途分野に特に適合した情報通信技術)
要約
【課題】摂食嚥下障害の改善を支援できる摂食嚥下障害改善支援システムおよび摂食嚥下障害改善支援方法を提供すること。
【解決手段】摂食嚥下障害改善支援システムは、嚥下機能を評価するための嚥下機能評価情報を受け付け、誤嚥性肺炎リスクを評価するための誤嚥性肺炎リスク評価情報を受け付け、サルコペニアを評価するためのサルコペニア評価情報を受け付け、嚥下機能評価情報に基づいて嚥下障害があるか否かを判定し、誤嚥性肺炎リスク評価情報に基づいて誤嚥性肺炎リスクがあるか否かを判定し、サルコペニア評価情報に基づいてサルコペニアの可能性があるか否かを判定し、嚥下障害があるか否かの判定結果、誤嚥性肺炎リスクがあるか否かの判定結果およびサルコペニアの可能性があるか否かの判定結果に基づいて、摂食嚥下障害を改善する対応を導出する。
【選択図】図2
特許請求の範囲
【請求項1】
嚥下機能を評価するための嚥下機能評価情報を受け付ける嚥下機能評価情報受付部と、
誤嚥性肺炎リスクを評価するための誤嚥性肺炎リスク評価情報を受け付ける誤嚥性肺炎リスク評価情報受付部と、
サルコペニアを評価するためのサルコペニア評価情報を受け付けるサルコペニア評価情報受付部と、
前記嚥下機能評価情報に基づいて嚥下障害があるか否かを判定する嚥下障害判定部と、
前記誤嚥性肺炎リスク評価情報に基づいて誤嚥性肺炎リスクがあるか否かを判定する誤嚥性肺炎リスク判定部と、
前記サルコペニア評価情報に基づいてサルコペニアの可能性があるか否かを判定するサルコペニア可能性判定部と、
前記嚥下障害判定部による嚥下障害があるか否かの判定結果、誤嚥性肺炎リスク判定部による誤嚥性肺炎リスクがあるか否かの判定結果および前記サルコペニア可能性判定部によるサルコペニアの可能性があるか否かの判定結果に基づいて、摂食嚥下障害を改善する対応を導出する導出部と
を備える、摂食嚥下障害改善支援システム。
続きを表示(約 930 文字)
【請求項2】
前記導出部は、リハビリテーションメニューを導出する、請求項1に記載のシステム。
【請求項3】
前記嚥下障害判定部による嚥下障害があるか否かの判定結果および誤嚥性肺炎リスク判定部による誤嚥性肺炎リスクがあるか否かの判定結果に基づいて、食事指導を選択する選択部
をさらに備える、請求項1に記載の摂食嚥下障害改善支援システム。
【請求項4】
前記嚥下障害判定部は、前記嚥下機能評価情報に含まれるフィオスのレベル、反復唾液嚥下検査結果および改定水飲み検査結果に基づいて嚥下障害があるか否かを判定する、請求項1に記載の摂食嚥下障害改善支援システム。
【請求項5】
前記誤嚥性肺炎リスク判定部は、誤嚥性肺炎リスク評価表に含まれる局所所見、全身所見、反復唾液嚥下検査結果および改定水飲み検査結果に基づいて誤嚥性肺炎リスクがあるか否かを判定する、請求項1に記載の摂食嚥下障害改善支援システム。
【請求項6】
前記サルコペニア可能性判定部は、下腿周囲長を示す情報および筋力を示す情報に基づいてサルコペニアの可能性があるか否かを判定する、請求項1に記載の摂食嚥下障害改善支援システム。
【請求項7】
嚥下機能を評価するための嚥下機能評価情報を受け付けるステップと、
誤嚥性肺炎リスクを評価するための誤嚥性肺炎リスク評価情報を受け付けるステップと、
サルコペニアを評価するためのサルコペニア評価情報を受け付けるステップと、
前記嚥下機能評価情報に基づいて嚥下障害があるか否かを判定するステップと、
前記誤嚥性肺炎リスク評価情報に基づいて誤嚥性肺炎リスクがあるか否かを判定するステップと、
前記サルコペニア評価情報に基づいてサルコペニアの可能性があるか否かを判定するステップと、
嚥下障害があるか否かの判定結果、誤嚥性肺炎リスクがあるか否かの判定結果およびサルコペニアの可能性があるか否かの判定結果に基づいて、摂食嚥下障害を改善する対応を導出するステップと
を有する、コンピュータが実行する摂食嚥下障害改善支援方法。
発明の詳細な説明
【技術分野】
【0001】
本発明は、摂食嚥下障害改善支援システムおよび摂食嚥下障害改善支援方法に関する。
続きを表示(約 5,100 文字)
【背景技術】
【0002】
高齢者の摂食嚥下障害に対しては、急性期病院や回復期リハビリテーション病院で総合的な治療と言語聴覚士による摂食機能訓練や多職種が介入した集中的なリハビリテーションが行われている。
また、情報通信技術を用いた在宅心臓リハビリテーションも行われている(例えば非特許文献1参照)。
【先行技術文献】
【非特許文献】
【0003】
Yuta Nagatomi, Tomomi Ide, Tae Higuchi, Tomoyuki Nezu, Takeo Fujino, Takeshi Tohyama, Takuya Nagata, Taiki Higo, Toru Hashimoto, Shouji Matsushima, Keisuke Shinohara, Tomiko Yokoyama, Aika Eguchi, Ayumi Ogusu, Masataka Ikeda, Yusuke Ishikawa, Fumika Yamashita, Shintaro Kinugawa and Hiroyuki Tsutsui, “Home-based cardiac rehabilitation using information and communication technology for heart failure patients with frailty”, ESC HEART FAILURE 2022; 9: 2407-2418
【発明の概要】
【発明が解決しようとする課題】
【0004】
急性期や回復期での治療後の在宅生活において、スタッフ不足・技術不足などの理由で、十分な摂食嚥下リハビリテーションや適切な食事形態の提供が行われず、機能低下の進行から誤嚥性肺炎や栄養障害を繰り返し、生命予後にかかわる病態となることが少なくない。またコロナ感染症に罹患した患者においては、介人するスタッフが限られるため、十分なリハビリテーションが提供されず、さらなる機能低下を引き起こすリスクがある。
【0005】
本発明の目的は、摂食嚥下障害の改善を支援できる摂食嚥下障害改善支援システムおよび摂食嚥下障害改善支援方法を提供することを目的とする。
【課題を解決するための手段】
【0006】
本発明は、上記課題を解決するため、以下の手段を提供する。
(1)第1の態様に係る摂食嚥下障害改善支援システムは、嚥下機能を評価するための嚥下機能評価情報を受け付ける嚥下機能評価情報受付部と、誤嚥性肺炎リスクを評価するための誤嚥性肺炎リスク評価情報を受け付ける誤嚥性肺炎リスク評価情報受付部と、サルコペニアを評価するためのサルコペニア評価情報を受け付けるサルコペニア評価情報受付部と、前記嚥下機能評価情報に基づいて嚥下障害があるか否かを判定する嚥下障害判定部と、前記誤嚥性肺炎リスク評価情報に基づいて誤嚥性肺炎リスクがあるか否かを判定する誤嚥性肺炎リスク判定部と、前記サルコペニア評価情報に基づいてサルコペニアの可能性があるか否かを判定するサルコペニア可能性判定部と、前記嚥下障害判定部による嚥下障害があるか否かの判定結果、誤嚥性肺炎リスク判定部による誤嚥性肺炎リスクがあるか否かの判定結果および前記サルコペニア可能性判定部によるサルコペニアの可能性があるか否かの判定結果に基づいて、摂食嚥下障害を改善する対応を導出する導出部とを備える、摂食嚥下障害改善支援システムである。
(2)上記態様にかかる摂食嚥下障害改善支援システムにおいて、前記導出部は、リハビリテーションメニューを導出するようにしてもよい。
(3)上記態様にかかる摂食嚥下障害改善支援システムにおいて、前記嚥下障害判定部による嚥下障害があるか否かの判定結果および誤嚥性肺炎リスク判定部による誤嚥性肺炎リスクがあるか否かの判定結果に基づいて、食事指導を選択する選択部をさらに備えるようにしてもよい。
(4)上記態様にかかる摂食嚥下障害改善支援システムにおいて、前記嚥下障害判定部は、前記嚥下機能評価情報に含まれるフィオスのレベル、反復唾液嚥下検査結果および改定水飲み検査結果に基づいて嚥下障害があるか否かを判定するようにしてもよい。
(5)上記態様にかかる摂食嚥下障害改善支援システムにおいて、前記誤嚥性肺炎リスク判定部は、誤嚥性肺炎リスク評価表に含まれる局所所見、全身所見、反復唾液嚥下検査結果および改定水飲み検査結果に基づいて誤嚥性肺炎リスクがあるか否かを判定するようにしてもよい。
(6)上記態様にかかる摂食嚥下障害改善支援システムにおいて、前記サルコペニア可能性判定部は、下腿周囲長を示す情報および筋力を示す情報に基づいてサルコペニアの可能性があるか否かを判定するようにしてもよい。
【0007】
(7)第1の態様に係る摂食嚥下障害改善支援方法は、嚥下機能を評価するための嚥下機能評価情報を受け付けるステップと、誤嚥性肺炎リスクを評価するための誤嚥性肺炎リスク評価情報を受け付けるステップと、サルコペニアを評価するためのサルコペニア評価情報を受け付けるステップと、前記嚥下機能評価情報に基づいて嚥下障害があるか否かを判定するステップと、前記誤嚥性肺炎リスク評価情報に基づいて誤嚥性肺炎リスクがあるか否かを判定するステップと、前記サルコペニア評価情報に基づいてサルコペニアの可能性があるか否かを判定するステップと、嚥下障害があるか否かの判定結果、誤嚥性肺炎リスクがあるか否かの判定結果およびサルコペニアの可能性があるか否かの判定結果に基づいて、摂食嚥下障害を改善する対応を導出するステップとを有する、コンピュータが実行する摂食嚥下障害改善支援方法である。
【発明の効果】
【0008】
本発明の実施形態によれば、摂食嚥下障害の改善を支援できる摂食嚥下障害改善支援システムおよび摂食嚥下障害改善支援方法を提供することができる。
【図面の簡単な説明】
【0009】
本実施形態に係る摂食嚥下障害改善支援システム1の一例を示す図である。
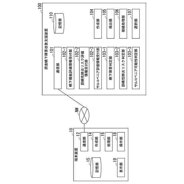
本実施形態に係る摂食嚥下障害改善支援装置100および端末装置10の一例を示すブロック図である。
初期画面の一例を示す図である。
ログイン認証画面の一例を示す図である。
ログイン画面の一例を示す図である。
評価診断画面の一例を示す図である。
嚥下機能評価画面の一例を示す図である。
誤嚥性肺炎リスク評価画面の一例を示す図である。
サルコペニア評価画面の一例を示す図である。
評価結果画面の一例を示す図である。
個人変化グラフ画面の一例を示す図である。
リハビリテーション画面の一例を示す図である。
嚥下訓練画面の一例を示す図である。
嚥下訓練選択画面の一例を示す図である。
嚥下訓練選択画面の一例を示す図である。
リハビリテーション画面の一例を示す図である。
嚥下訓練画面の一例を示す図である。
嚥下訓練選択画面の一例を示す図である。
嚥下訓練情報画面の一例を示す図である。
嚥下訓練情報画面の一例を示す図である。
嚥下訓練情報画面の一例を示す図である。
嚥下訓練情報画面の一例を示す図である。
嚥下訓練情報画面の一例を示す図である。
嚥下訓練情報画面の一例を示す図である。
嚥下訓練情報画面の一例を示す図である。
嚥下訓練情報画面の一例を示す図である。
嚥下訓練情報画面の一例を示す図である。
嚥下訓練情報画面の一例を示す図である。
嚥下訓練情報画面の一例を示す図である。
嚥下訓練情報画面の一例を示す図である。
嚥下訓練情報画面の一例を示す図である。
呼吸リハビリテーション画面の一例を示す図である。
呼吸リハビリテーション運動画面の一例を示す図である。
呼吸リハビリテーション運動画面の一例を示す図である。
呼吸リハビリテーション運動画面の一例を示す図である。
呼吸リハビリテーション運動画面の一例を示す図である。
呼吸リハビリテーション運動画面の一例を示す図である。
呼吸リハビリテーション運動画面の一例を示す図である。
呼吸リハビリテーション運動画面の一例を示す図である。
呼吸リハビリテーション運動画面の一例を示す図である。
呼吸リハビリテーション運動画面の一例を示す図である。
呼吸リハビリテーション運動画面の一例を示す図である。
呼吸リハビリテーション運動画面の一例を示す図である。
呼吸リハビリテーション運動画面の一例を示す図である。
呼吸リハビリテーション運動画面の一例を示す図である。
サルコペニアリハビリテーション画面の一例を示す図である。
サルコペニアリハビリテーション運動画面の一例を示す図である。
サルコペニアリハビリテーション運動画面の一例を示す図である。
サルコペニアリハビリテーション運動画面の一例を示す図である。
サルコペニアリハビリテーション運動画面の一例を示す図である。
サルコペニアリハビリテーション運動画面の一例を示す図である。
サルコペニアリハビリテーション運動画面の一例を示す図である。
サルコペニアリハビリテーション運動画面の一例を示す図である。
サルコペニアリハビリテーション運動画面の一例を示す図である。
サルコペニアリハビリテーション運動画面の一例を示す図である。
サルコペニアリハビリテーション運動画面の一例を示す図である。
サルコペニアリハビリテーション運動画面の一例を示す図である。
予防リハビリテーション画面の一例を示す図である。
予防リハビリテーション運動画面の一例を示す図である。
予防リハビリテーション運動画面の一例を示す図である。
予防リハビリテーション運動画面の一例を示す図である。
予防リハビリテーション運動画面の一例を示す図である。
予防リハビリテーション運動画面の一例を示す図である。
食事指導情報画面の一例を示す図である。
食形態画面の一例を示す図である。
食形態画面の一例を示す図である。
食形態画面の一例を示す図である。
本実施形態に係る摂食嚥下障害改善支援システム1の動作の一例を示す図である。
本実施形態に係る摂食嚥下障害改善支援システム1の動作の一例を示す図である。
本実施形態に係る摂食嚥下障害改善支援システム1の動作の一例を示す図である。
本実施形態に係る摂食嚥下障害改善支援システム1の動作の一例を示す図である。
本実施形態に係る摂食嚥下障害改善支援システム1の動作の一例を示す図である。
検診者登録画面の一例を示す図である。
ユーザ情報一覧画面の一例を示す図である。
ユーザ登録画面の一例を示す図である。
食事内容設定画面の一例を示す図である。
食事内容設定画面の一例を示す図である。
【発明を実施するための形態】
【0010】
次に、本実施形態の摂食嚥下障害改善支援システムおよび摂食嚥下障害改善支援方法を、図面を参照しつつ説明する。以下で説明する実施形態は一例に過ぎず、本発明が適用される実施形態は、以下の実施形態に限られない。
なお、実施形態を説明するための全図において、同一の機能を有するものは同一符号を用い、繰り返しの説明は省略する。
以下、本実施形態について、図を適宜参照しながら詳細に説明する。
(【0011】以降は省略されています)
この特許をJ-PlatPat(特許庁公式サイト)で参照する
関連特許
学校法人日本大学
超音波投射装置
4か月前
学校法人日本大学
骨固定プレート
17日前
株式会社ホタルクス
履物
26日前
学校法人日本大学
階層毎震度情報算出装置およびプログラム
5か月前
株式会社山本工作所
粒子凝集促進装置及び集塵機
4か月前
学校法人日本大学
ファン装置、空調用室外機及び給湯ヒートポンプ用室外機
15日前
学校法人日本大学
摂食嚥下障害改善支援システムおよび摂食嚥下障害改善支援方法
2か月前
日鉄エンジニアリング株式会社
床版劣化検出方法、及び床版劣化検出装置
5か月前
国立大学法人広島大学
AIによる事象クラスの判別方法及び判別システム
3か月前
個人
支援システム
4か月前
個人
医療のAI化
23日前
個人
管理装置
4か月前
個人
対話システム
4か月前
個人
通知ぬいぐるみAIシステム
1か月前
個人
情報システムおよび方法
6か月前
株式会社タカゾノ
薬剤秤量装置
3か月前
株式会社タカゾノ
薬剤秤量装置
2か月前
株式会社タカゾノ
薬剤秤量装置
2か月前
株式会社タカゾノ
薬剤秤量装置
2か月前
株式会社タカゾノ
薬剤秤量装置
2か月前
エムスリー株式会社
媒体
7か月前
株式会社タカゾノ
薬剤秤量装置
2か月前
株式会社リコー
投薬管理システム
24日前
個人
診療の管理装置及び診療システム
2か月前
株式会社M-INT
情報処理システム
5か月前
ゾーン株式会社
コンピュータシステム
5か月前
富士電機株式会社
食事管理システム
6か月前
株式会社サンクスネット
情報提供システム
4か月前
大王製紙株式会社
作業管理システム
6か月前
株式会社CureApp
プログラム
2か月前
医療法人社団梅華会
医療の支援装置
8か月前
個人
透析医療に関する回答方法及びその装置
8か月前
株式会社サンクスネット
リスク判定システム
8か月前
株式会社 137
健康観察管理システム
4か月前
株式会社ミラボ
情報処理装置、及びプログラム
2か月前
アルケア株式会社
コミュニケーションシステム
8か月前
続きを見る
他の特許を見る