TOP
|
特許
|
意匠
|
商標
特許ウォッチ
Twitter
他の特許を見る
公開番号
2025105777
公報種別
公開特許公報(A)
公開日
2025-07-10
出願番号
2025071058,2024070250
出願日
2025-04-23,2020-02-05
発明の名称
被覆材の厚さ計測方法および被覆材の施工方法
出願人
倉敷紡績株式会社
代理人
個人
主分類
G01B
11/06 20060101AFI20250703BHJP(測定;試験)
要約
【課題】建築物の壁等に設けられる被覆材の厚さ計測方法、被覆材の厚さ計測システムおよび被覆材の施工方法を提供する。
【解決手段】基準マーカーを設置する工程(工程1)と、被覆材の表面の三次元座標および3点以上の基準三次元座標を含む施工形状を取得する工程(工程2)と、仮想平面を施工形状内に算出する工程(工程3)と、被覆材の厚さを算出する工程(工程4)と、被覆材画像を表示する工程(工程5)とを有する被覆材の厚さ計測方法。
【選択図】図1
特許請求の範囲
【請求項1】
対象面に施工した被覆材の厚さを計測する方法であって、
前記被覆材の表面の三次元座標、前記対象面からの距離が等しい3点以上の等距離点の三次元座標及び前記対象面からの距離が既知である1点以上の基準点の基準三次元座標を含む施工形状を取得する工程と、
前記被覆材の表面の三次元座標、前記等距離点の三次元座標及び前記基準三次元座標に基づいて前記被覆材の厚さを算出する工程とを有する、
被覆材の厚さ計測方法。
続きを表示(約 980 文字)
【請求項2】
前記等距離点の前記対象面からの距離が既知であって、前記等距離点が前記基準点でもある、
請求項1に記載の被覆材の厚さ計測方法。
【請求項3】
取得した前記等距離点の三次元座標に基づいて仮想平面を算出する工程をさらに有し、
前記被覆材の表面の三次元座標と前記仮想平面に基づいて前記被覆材の厚さを算出する、
請求項2に記載の被覆材の厚さ計測方法。
【請求項4】
前記等距離点の前記対象面からの距離が未知であって、前記基準点が前記等距離点と異なる点である、
請求項1に記載の被覆材の厚さ計測方法。
【請求項5】
取得した前記等距離点の三次元座標と前記基準三次元座標に基づいて仮想平面を算出する工程をさらに有し、
前記被覆材の表面の三次元座標と前記仮想平面に基づいて前記被覆材の厚さを算出する、
請求項4に記載の被覆材の厚さ計測方法。
【請求項6】
前記施工形状を取得する工程の前に、前記被覆材上または前記被覆材の近傍に基準マーカーを設置する工程を有し、
前記基準三次元座標は、前記基準マーカー上の三次元座標である、
請求項1から5のいずれか一項に記載の被覆材の厚さ計測方法。
【請求項7】
前記基準マーカーが一方向に延びるピンを有しており、
前記基準マーカーを設置する工程が、前記ピンの先端が前記対象面に当接するように前記ピンを前記被覆材に挿通する工程である、
請求項6に記載の被覆材の厚さ計測方法。
【請求項8】
前記等距離点は、前記被覆材及び前記対象面に隣接もしくは近傍の構造物の表面上の点である、
請求項1から5のいずれか一項に記載の被覆材の厚さ計測方法。
【請求項9】
前記被覆材の厚さの分布を色または濃淡で示した被覆材画像を表示する工程を有する、
請求項1から8のいずれか一項に記載の被覆材の厚さ計測方法。
【請求項10】
前記被覆材の厚さが所定の範囲から外れている施工不良箇所の有無を判断する工程を有する、
請求項1から9のいずれか一項に記載の被覆材の厚さ計測方法。
(【請求項11】以降は省略されています)
発明の詳細な説明
【技術分野】
【0001】
本発明は、吹付け工法等によって建築物の壁や床等の対象面に施工される被覆材の厚さ計測方法、被覆材の厚さ計測システム、および、被覆材の施工方法に関する。
続きを表示(約 3,700 文字)
【背景技術】
【0002】
建築物の壁等に断熱材を設ける方法として、現場で作業者が発泡機を用いて、建築物の壁部、床部、屋根部や天井部等の対象面に、主原料に発泡材を加えた発泡原液を直接吹き付けて、発泡固化させる方法が知られている。しかし、断熱材は、その厚さによって断熱効果が大きく左右されるため、均等な厚さにすることが求められている。特に、ビルや集合住宅等では、均一な品質の提供が求められており、厚さの誤差が0~20mm、厳しいもので0~5mmでの施工が求められている。つまり、対象面に発泡材を吹き付けて発泡固化させた後、その厚さを確認し、厚すぎる部位については余剰分を切削し、薄すぎる部位については追加する仕上げ処理を必要とする。詳しくは、施工現場において、吹き付け作業をしながら、発泡固化した断熱材の各所に針状の測定ゲージを刺し、その厚さを計測し、各所に仕上げ処理が必要かを確認しながら行っている。そのため、断熱材の施工作業は、作業者にとって非常に煩雑な作業の一つとなっている。また、作業者の熟練度によって、作業スピードが大きく異なり、その品質にもばらつきが見られる。
さらに、断熱材の品質を保証するための施主等への報告は、施工部位の各所に測定ゲージを差し込むことで施工厚さをチェックし、その結果に関するマーク(例えば、厚さの計測値)を断熱材(壁)の表面に記し、その表面の一部の写真を提示することにより行ってきた。このように測定ゲージを何回も差し込むことは断熱材に物理的なダメージを与えるおそれもあり、かつ、飛び飛びの計測値しか得ることが出来ず、十分な品質管理ができなかった。
【0003】
特許文献1には、発泡材の供給源に連結された吹き付けノズル、および、その被覆の厚さをモニターするように構成されたセンシング機器を備えた方法およびロボットが開示されている。この特許文献1の方法では、レーザー距離計で吹き付け厚をモニターしながら、発泡材の吹きつけ量を制御することにより、仕上げ処理を減少させることができる。
特許文献2には、先端にスプレーノズルとレンジファインダとを備えた遠隔操作可能なロボットアームが開示されている。このロボットアームにおいて、レンジファインダで塗布する前後の材料(対象物)の測定を行い、補填する厚さを計算することができるとの記載がある。
【先行技術文献】
【特許文献】
【0004】
特表2016-526121号公報
特表2017-536976号公報
【発明の概要】
【発明が解決しようとする課題】
【0005】
しかし、特許文献1の方法は、ロボットを用いることを前提としているが、乱雑な現場において必ずしもロボットの使用が有利であるとは限らない。一方、特許文献1の方法を作業者によって行うことも考えられるが、測定ゲージの代わりにレーザー距離計で厚さを随時モニターしながら発泡材の吹き付け作業による厚さを制御するものであるため、吹き付け作業と厚さの確認(モニターの確認)とを交互に行うことには変わりなく、作業は煩雑である。例えば、モニターを見間違えるなどの人為的なミスが起こりやすい。また特許文献2も塗布する材料(対象面)の全体を測定するものではなく、随時、塗布する材料(対象面)の一部を測定するものであり、特許文献1と同様の問題がある。
本発明は、建築物の壁等の対象面に施工される被覆材の厚さ計測方法、被覆材の厚さ計測システムおよび被覆材の施工方法を提供することを目的としている。
【課題を解決するための手段】
【0006】
本発明は、対象面に施工した被覆材の厚さを計測する方法であって、前記被覆材の表面の三次元座標、前記対象面からの距離が等しい3点以上の等距離点の三次元座標及び前記対象面からの距離が既知である1点以上の基準点の基準三次元座標を含む施工形状を取得する工程と、前記被覆材の表面の三次元座標、前記等距離点の三次元座標及び前記基準三次元座標に基づいて前記被覆材の厚さを算出する工程とを有することを特徴としている。
本発明において「被覆材の厚さ」とは、対象面に対して垂直な方向の長さをいう。また「被覆材の表面の三次元座標」とは、対象面と反対の空間側に露出した被覆材表面上の三次元座標をいう。例えば、被覆材表面上の複数の点の三次元座標の集合が挙げられる。さらに「対象面からの距離」とは、その点から対象面におろした垂線の長さをいう。
三次元座標の表現方法については、計算機上で処理可能なものであれば特に限定しない。例えば、(X,Y,Z)の三次元直交座標系の座標値の集合(いわゆる点群データ)で表現したものであってもよいし、ポリゴンメッシュや平面/曲面の数式やパラメータ表現、またはボリュームデータ表現(ボクセル等)、およびそれらの組み合わせであってもよい。
【0007】
本発明の被覆材の厚さ計測方法は、前記被覆材の表面の三次元座標及び前記対象面からの距離が等しい3点以上の等距離点の三次元座標および前記対象面からの距離が既知である1点以上の基準点の基準三次元座標を含む施工形状を取得しているため、被覆材の所定の点と同じ平面座標(対象面と平行な平面座標)であって、対象面との距離が基準三次元座標と同じ仮想点を求め、被覆材の所定の点と、その対象面との距離が既知である仮想点とを比較することにより、被覆材の所定の点の厚さを算出することができる。
【0008】
本発明の被覆材の厚さ計測方法であって、前記等距離点の前記対象面からの距離が既知であって、前記等距離点が前記基準点でもあるものが好ましい。また、取得した前記等距離点の三次元座標に基づいて仮想平面を算出する工程をさらに有し、前記被覆材の表面の三次元座標と前記仮想平面に基づいて前記被覆材の厚さを算出するのがさらに好ましい。
あるいは、本発明の被覆材の厚さ計測方法であって、前記等距離点の前記対象面からの距離が未知であって、前記基準点が前記等距離点と異なる点であるものが好ましい。また、取得した前記等距離点の三次元座標と前記基準三次元座標に基づいて仮想平面を算出する工程をさらに有し、前記被覆材の表面の三次元座標と前記仮想平面に基づいて前記被覆材の厚さを算出するのがさらに好ましい。
なお、「仮想平面」とは、対象面との距離が既知で対象面と平行な平面をいい、基準三次元座標を含むものが好ましいが、含んでいなくてもよい。
このように仮想平面に基づいて被覆材の厚さを算出する場合、仮想平面と、被覆材の表面との距離を計算することにより、被覆材の厚さを算出することができる。特に、仮想平面が少なくとも対象面を対象面に対して垂直方向に平行移動させた平面を含んでいる場合、一度の計算により被覆材全体の厚さを算出することができる。このように被覆材を施工した後、一回の計測で、被覆材全体の厚さを算出することができるため、好ましい。
【0009】
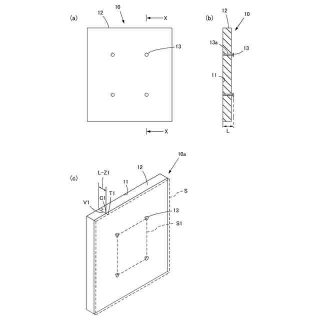
本発明の被覆材の厚さ計測方法であって、前記施工形状を取得する工程の前に、前記被覆材上または前記被覆材の近傍に基準マーカーを設置する工程を有し、前記基準三次元座標は前記基準マーカー上の三次元座標であるのが好ましい。この場合、基準マーカーを3以上設置し、各基準マーカーに少なくとも一つの基準三次元座標を設定すれば、対象面からの距離が等しい3以上の基準三次元座標が得られるので好ましい。また前記基準マーカーが一方向に延びるピンを有しており、前記基準マーカーを設置する工程が、前記ピンの先端が前記対象面に当接するように前記ピンを前記被覆材に挿通する工程であるのが好ましい。
【0010】
本発明の被覆材の厚さ計測方法であって、前記等距離点は、前記被覆材及び前記対象面に隣接もしくは近傍の構造物の表面上の点であることが好ましい。
ここで「構造物」とは、対象面と平行な面を含む構造物であり、「構造物の表面」とは、その対象面との距離が既知で対象面と平行な面を含んだものをいう。例えば、対象面である壁面と面一の壁面や、対象面である壁面と平行に建てられた柱や梁等の表面である。
この場合も被覆材の厚さの算出が簡単にできる。特に、構造物の対象面と平行な面と、対象面との距離が、設計図により正確に把握できる場合は、構造物の表面上の等距離点は対象面からの距離が既知であり、等距離点であると同時に基準点とすることが可能である。そのため、基準マーカーを設置する必要がなく、基準マーカーを設置する際の人為的なミスを軽減できる。構造物の対象面と平行な面と対象面との距離が不明な場合は、被覆材上または被覆材近傍に1以上の基準マーカーを設け、構造物の表面上の3点以上の等距離点と、基準マーカー上の基準三次元座標に基づいて、被覆材の厚さを算出できる。
(【0011】以降は省略されています)
この特許をJ-PlatPat(特許庁公式サイト)で参照する
関連特許
倉敷紡績株式会社
線状物の3次元計測方法
2日前
倉敷紡績株式会社
ハンドおよびコネクタ接続方法
16日前
倉敷紡績株式会社
詰め物用糸及びこれを含む中綿構造体
2日前
倉敷紡績株式会社
清涼性混紡紡績糸及びこれを用いた清涼性生地
1か月前
倉敷紡績株式会社
セルロース系グラフト繊維、これを含む繊維構造体及びその製造方法
24日前
倉敷紡績株式会社
コネクタ接続システム、リード線制御装置、コネクタ接続方法およびリード線移動方法
16日前
個人
計量スプーン
26日前
個人
微小振動検出装置
1か月前
株式会社イシダ
X線検査装置
1か月前
日本精機株式会社
位置検出装置
4日前
日本精機株式会社
位置検出装置
4日前
日本精機株式会社
位置検出装置
4日前
大和製衡株式会社
組合せ秤
9日前
大和製衡株式会社
組合せ秤
9日前
アズビル株式会社
圧力センサ
3日前
株式会社東芝
センサ
1か月前
ダイハツ工業株式会社
測定用具
1か月前
アンリツ株式会社
分光器
1か月前
トヨタ自動車株式会社
検査装置
6日前
株式会社ユーシン
操作検出装置
6日前
株式会社東芝
センサ
9日前
株式会社東芝
センサ
9日前
エイブリック株式会社
磁気センサ回路
3日前
トヨタ自動車株式会社
表示装置
18日前
アンリツ株式会社
分光器
1か月前
株式会社精工技研
光電圧プローブ
1か月前
TDK株式会社
ガスセンサ
3日前
東レエンジニアリング株式会社
計量装置
6日前
TDK株式会社
磁気センサ
1か月前
株式会社ナリス化粧品
角層細胞採取用具
16日前
株式会社東芝
重量測定装置
2日前
株式会社ヨコオ
コンタクタ
1か月前
TDK株式会社
ガスセンサ
2日前
TDK株式会社
磁気センサ
26日前
個人
粘塑性を用いた有限要素法の定式化
18日前
富士電機株式会社
エンコーダ
3日前
続きを見る
他の特許を見る