TOP
|
特許
|
意匠
|
商標
特許ウォッチ
Twitter
他の特許を見る
公開番号
2025105944
公報種別
公開特許公報(A)
公開日
2025-07-10
出願番号
2025076448,2021050423
出願日
2025-05-01,2021-03-24
発明の名称
取付部材、並びに、コンベヤ装置
出願人
伊東電機株式会社
代理人
個人
主分類
B65G
13/02 20060101AFI20250703BHJP(運搬;包装;貯蔵;薄板状または線条材料の取扱い)
要約
【課題】歯車で動力を伝達するコンベヤ装置の組み立て作業を容易化することが可能な技術を提供する。
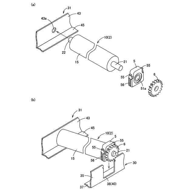
【解決手段】コンベヤローラの取付構造において、フレーム部材は、フレーム側係合部38を有し、ローラ部材2は、ローラ本体15と、軸部21を有するものとする。軸部21は、歯車部材6が取り付けられる歯車固定部を備えたものとする。取付部材5は、軸部21を挿通させて支持する軸支持部51aと、フレーム側係合部38と係合する取付側係合部55,56を有するものとする。軸支持部51aに軸部21を挿通し、ローラ本体2と歯車固定部が取付部材5を挟んで両側に位置した状態で、取付部材5をフレーム部材3に上方又は下方から差し込むことが可能であり、フレーム部材3に差し込むことで取付側係合部55,56がフレーム側係合部38と係合し、軸部21が取付部材5を介してフレーム部材に支持されるものとする。
【選択図】図6
特許請求の範囲
【請求項1】
フレーム部材にローラ部材を取り付けて形成されるコンベヤ装置において、取付部材を介して前記ローラ部材を前記フレーム部材に取り付けるコンベヤローラの取付構造であって、
前記フレーム部材は、第一サイドフレーム部と第二サイドフレーム部を有し、
前記第一サイドフレーム部は、フレーム側係合部を有し、
前記第二サイドフレーム部は、軸挿通孔を有し、
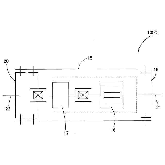
前記ローラ部材は、ローラ本体と、軸部を有し、
前記軸部は、歯車部材が取り付けられる歯車固定部を備え、前記軸部と前記歯車部材が共に回転するものであり、
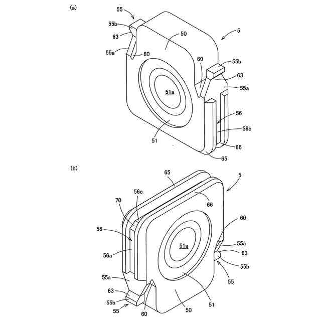
前記取付部材は、前記軸部を挿通させて支持する軸支持部と、前記フレーム側係合部と係合する取付側係合部を有し、
前記軸部は、長手方向の片側に位置する第一軸部と、他方側に位置する第二軸部を含み、
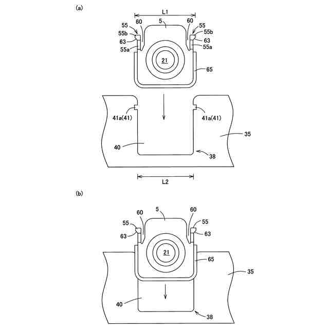
前記第二軸部を前記軸挿通孔に挿通した状態であり、且つ、前記軸支持部に前記第一軸部を挿通し、前記ローラ本体と前記歯車固定部が前記取付部材を挟んで両側に位置した状態で、前記取付部材を前記フレーム部材に上方又は下方から差し込むことが可能であり、
前記フレーム部材に差し込むことで前記取付側係合部が前記フレーム側係合部と係合し、前記第一軸部が前記取付部材を介して前記フレーム部材に支持される、コンベヤローラの取付構造。
発明の詳細な説明
【技術分野】
【0001】
本発明は、コンベヤ装置におけるコンベヤローラの取付構造に関する。また、そのようなコンベヤローラの取付構造でコンベヤローラを取り付けたコンベヤ装置に関する。また、コンベヤローラの取付方法に関する。
続きを表示(約 2,100 文字)
【背景技術】
【0002】
製品の組み立てラインや、宅配便の集荷場では、搬送物の搬送にコンベヤ装置が使用されている。このようなコンベヤ装置として、ベルトコンベヤやローラコンベヤがある。
例えば、このようなローラコンベヤとして、特許文献1に開示されたものがある。
特許文献1のローラコンベヤは、一般的なローラコンベヤと同様に、平行に配置される左右一対のサイドフレームからなるフレーム部材と、複数のコンベヤローラ(搬送ローラ)を有しており、それぞれのコンベヤローラが2つのサイドフレームに軸支されている。詳細には、コンベヤローラの長手方向の片側に位置する軸部分が、一方のサイドフレームの軸受孔に挿通され、他方側に位置する軸部分が他方のサイドフレームの軸受孔に挿通されている。そして、コンベヤローラの本体部分が2つのサイドフレームの間で回転する。
【0003】
また、コンベヤローラのうちの一つは、駆動ローラとなるモータ内蔵ローラであり、他のコンベヤローラは、自由に回転する従動ローラとなっている。隣接するコンベヤローラ同士は伝動ベルトで巻回されており、駆動ローラが回転することで、全ての従動ローラが回転する。なお、このローラコンベヤは、コンベヤローラとして機能するローラ部分を備えたストッパ部材が設けられたものである。
【0004】
また、特許文献2には、複数のローラを有するローラ式コンベア(ローラコンベヤ)が開示されている。このローラ式コンベアでは、それぞれのローラが、ローラ部と歯車部とを有しており、これらが共に回転する。そして、隣接する2つのローラの歯車部同士の間にフレームに取り付けられた他の歯車が位置している。つまり、特許文献2のローラ式コンベアでは、歯車によって隣接するローラ同士の間で動力が伝達され、隣接するローラ同士が連動して回転する。
【0005】
また、特許文献2における実施形態1のローラ式コンベアでは、ローラの軸部分となるガイドピンを、フレームの一部である支持部の上に載置し、フレームにカバーを取り付ける。このとき、カバーの下縁に形成された凹部によってガイドピンを押さえ、ローラをフレームに取り付ける。
なお、特許文献2における実施形態2のローラ式コンベアでは、ローラ部と歯車部を有するローラをフレームの壁部分に形成された軸受孔に挿通することで、フレームの壁部分の内側にローラ部を配し、フレームの壁部分の外側に歯車部を配する。このローラは、平行に延びるフレームの一方のみに支持されるローラとなっている。
【先行技術文献】
【特許文献】
【0006】
特開2020-70123号公報
特開2001-171816号公報
【発明の概要】
【発明が解決しようとする課題】
【0007】
本発明者らは、特許文献1に開示されたようなコンベヤ装置において、隣接するコンベヤローラ同士の動力の伝達を伝動ベルトではなく、歯車で行うことを考えた。そして、そのようなコンベヤ装置を実際に試作してみたところ、コンベヤ装置の組み立てが非常に煩雑であった。
すなわち、このようなコンベヤ装置では、コンベヤローラの軸部分をフレーム部材の軸受け孔に挿通してコンベヤローラを取り付けた後、フレーム部材の外側からコンベヤローラの軸部分に歯車部材を取り付ける必要があった。しかしながら、コンベヤ装置を狭い場所に構築する場合等において、組み立て作業がやり難く、組み立てに時間を要してしまう場合があった。
【0008】
また、上記した特許文献2における実施形態1のローラ式コンベアでは、ローラの軸部分を支持部の上に位置合わせをして載置し、さらに、カバーを取り付ける際にローラの軸部分の上にカバーの凹部を合わせて取り付けねばならず、組み立て作業が困難であった。
さらに、上記した特許文献2における実施形態2のローラ式コンベアでは、フレームの内側からローラを軸受孔に挿通するので、歯車部の大きさが軸受孔を通過可能な大きさとなる必要がある。すなわち、採用可能な歯車の大きさの自由度が低いという問題がある。また、特許文献1のように、1つのコンベヤローラを2つのサイドフレームで支持する構造とする場合、ローラの端部を軸受孔に挿通する作業が極めて困難となり、延いては、組み立て作業が困難となる。
【0009】
すなわち、従来のコンベヤ装置では、コンベヤ装置の組み立て作業を容易化するという観点から、改良の余地があった。特に、コンベヤローラ(ローラ部材)の軸部に別途形成された歯車を取り付ける作業が必要な場合において、コンベヤ装置の組み立て作業を容易化する上で改良の余地があった。
【0010】
そこで本発明は、歯車で動力を伝達するコンベヤ装置の組み立て作業を容易化することが可能な技術を提供することを課題とする。
【課題を解決するための手段】
(【0011】以降は省略されています)
この特許をJ-PlatPat(特許庁公式サイト)で参照する
関連特許
個人
収容箱
2か月前
個人
コンベア
4か月前
個人
ゴミ収集器
6か月前
個人
容器
8か月前
個人
段ボール箱
6か月前
個人
段ボール箱
6か月前
個人
土嚢運搬器具
7か月前
個人
バンド
1か月前
個人
楽ちんハンド
4か月前
個人
宅配システム
6か月前
個人
角筒状構造体
5か月前
個人
廃棄物収容容器
2か月前
個人
閉塞装置
9か月前
個人
お薬の締結装置
5か月前
個人
コード類収納具
7か月前
個人
包装容器
21日前
個人
蓋閉止構造
3か月前
個人
蓋閉止構造
3か月前
株式会社和気
包装用箱
8か月前
個人
把手付米袋
4か月前
個人
貯蔵サイロ
6か月前
個人
ゴミ処理機
8か月前
個人
積み重ね用補助具
2か月前
株式会社バンダイ
物品
2日前
株式会社コロナ
梱包材
5か月前
個人
搬送システム
6か月前
個人
コード折り畳み器具
3か月前
個人
包装箱
9か月前
三甲株式会社
蓋体
8か月前
個人
介護用コップ
1か月前
三甲株式会社
容器
5か月前
個人
袋入り即席麺
6か月前
三甲株式会社
容器
5か月前
株式会社イシダ
搬送装置
5か月前
三甲株式会社
容器
1か月前
三甲株式会社
蓋体
7か月前
続きを見る
他の特許を見る