TOP
|
特許
|
意匠
|
商標
特許ウォッチ
Twitter
他の特許を見る
10個以上の画像は省略されています。
公開番号
2025111917
公報種別
公開特許公報(A)
公開日
2025-07-31
出願番号
2024005850
出願日
2024-01-18
発明の名称
消火栓装置の設置構造
出願人
ホーチキ株式会社
代理人
個人
,
個人
主分類
A62C
35/20 20060101AFI20250724BHJP(人命救助;消防)
要約
【課題】設置スペースを拡大したり、装置回りへの接近を制約したりすることなく、監視員通路上の所定高さに設置された消火栓装置に給水配管及び配線ケーブルを外部から引き込んで接続することを可能とする。
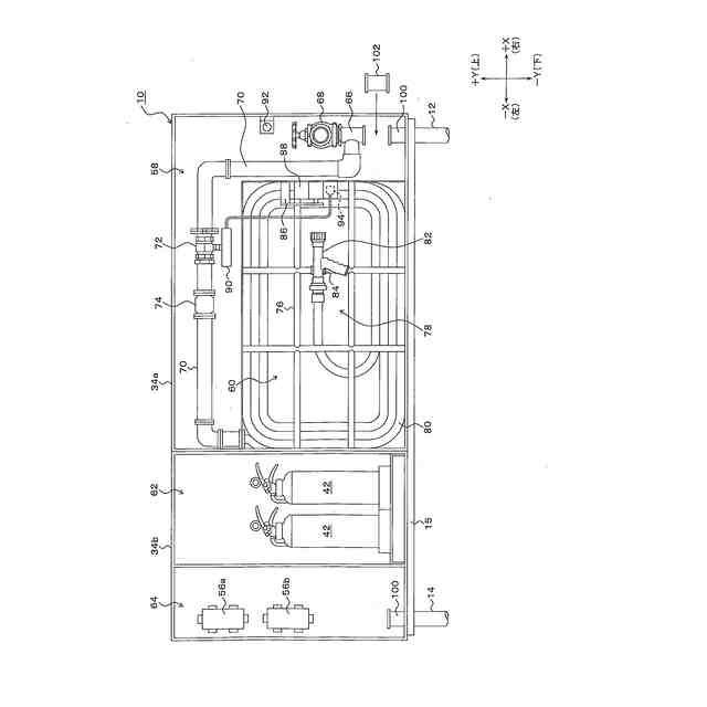
【解決手段】消火栓装置10は、道路を有するトンネル壁面18に沿って設けられた監視員通路20の路面上方の所定高さに、トンネル壁面18に近接又は当接して設置される。監視員通路20の路面下側に形成されたダクト通路22上に固定された給水配管兼用支柱12と電線管兼用支柱14が、監視員通路20を貫通して上端で所定高さに架台15を支持し、架台15上に消火栓装置10が載置されて固定されている。給水配管兼用支柱12は、架台15を支持するとともに消火栓装置10へ消火用水を供給する。電線管兼用支柱14は、架台15を支持するとともに消火栓装置10に配線ケーブル30を引き込む。
【選択図】図1
特許請求の範囲
【請求項1】
道路を有するトンネルの壁面に沿って設けられた監視員通路の路面上方の所定高さに、当該トンネル壁面に近接又は当接して設置される消火栓装置の設置構造であって、
前記監視員通路の路面下側に形成されたダクト通路の路面上に起立し、前記監視員通路を貫通して上端が前記所定高さに配置された一対の支柱と、
前記一対の支柱の上端に支持され、前記消火栓装置を載置して取付け固定する架台と、
を備え、
一方の前記支柱の内部を通して前記消火栓装置へ消火用水を供給し、他方の前記支柱の内部を通して前記消火栓装置に配線ケーブルを引き込む支柱構造を有することを特徴とする消火栓装置の設置構造。
続きを表示(約 1,800 文字)
【請求項2】
請求項1記載の消火栓装置の設置構造であって、
前記一対の支柱は、配管用鋼管であり、
一方の前記配管用鋼管は、前記消火栓装置に消火用水を供給する給水配管兼用支柱であり、
他方の前記配管用鋼管は、前記消火栓装置に配線ケーブルを引き込む電線管兼用支柱であることを特徴とする消火栓装置の設置構造。
【請求項3】
請求項2記載の消火栓装置の設置構造であって、
前記一対の支柱は、
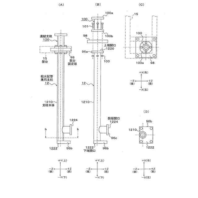
上端、下端、及び下端近傍の側端の各々にフランジを有する開口を備え、前記ダクト通路上に起立し、前記監視員通路を貫通して上端が前記所定高さに配置された支柱本体と、
上端及び下端の各々にフランジを有する開口を備え、前記支柱本体の上端側に連結される連結支柱と、
前記架台を着脱自在に固定する架台固定板と、
で構成され、
前記架台固定板は、前記支柱本体の上端開口のフランジと前記連結支柱の下端開口のフランジとの間に挟みむように固定されたことを特徴とする消火栓装置の設置構造。
【請求項4】
請求項3記載の消火栓装置の設置構造であって、
前記給水管兼用支柱は、前記連結支柱に続いて着脱自在な第2連結支柱を備え、
前記消火栓装置の設置時に、前記架台上に前記消火栓装置を載置して取付け固定する場合には、前記第2連結支柱を取り外して前記消火栓装置側の給水配管との当接を回避し、前記架台上に前記消火栓装置を取付け固定した後に、前記第2連結支柱を取り付けて前記消火栓装置側の給水配管と連結固定する構造を有することを特徴とする消火栓装置の設置構造。
【請求項5】
請求項1記載の消火栓装置の設置構造であって、
前記一対の支柱は、前記トンネル壁面に当接して前記ダクト通路上に設置されたコンクリート基台に起立固定されたことを特徴とする消火栓装置の設置構造。
【請求項6】
請求項1記載の消火栓装置の設置構造であって、
前記一対の支柱は、前記ダクト通路の前記トンネル壁面側に設置されたアングル鋼材で構成された支柱固定架台に起立固定されたことを特徴とする消火栓装置の設置構造。
【請求項7】
請求項1記載の消火栓装置の設置構造であって、
前記一対の支柱は、配管用鋼管又は汎用鋼管であり、
一方の鋼管は、保形ホースを挿通して消火用水を前記消火栓装置に供給する給水配管兼用支柱であり、
他方の鋼管は、前記消火栓装置に配線ケーブルを引き込む電線管兼用支柱であることを特徴とする消火栓装置の設置構造。
【請求項8】
請求項2又は7記載の消火栓装置の設置構造であって、
前記監視員通路の前記消火栓装置が設置される場所に道路勾配に応じた路面傾斜がある場合、前記架台が水平若しくは水平に近い状態、又は前記路面傾斜に対して微調整された状態となるように、前記電線管兼用支柱の上端の高さを変更して前記架台を固定する傾斜角調整構造を有することを特徴とする消火栓装置の設置構造。
【請求項9】
請求項1記載の消火栓装置の設置構造であって、
前記監視員通路の路面から前記消火栓装置の架台との間に位置する前記一対の支柱の外側に、軸方向で分割された補強鋼管が間に保温層を挟んで取付け固定されたことを特徴とする消火栓装置の設置構造。
【請求項10】
請求項2又は7記載の消火栓装置の設置構造であって、
前記消火栓装置は、監視員通路の進路方向となる横方向で連結固定された第1筐体と第2筐体を備え、
第1筐体は、バルブ類収納部を一側面側に配置すると共に消火用ホース収納部を第2筐体と連結される中央側に配置し、
前記第2筐体は、電装機器収納部を一側面側に配置すると共に消火器収納部を前記第1筐体と連結される中央側に配置し、
前記第1筐体の前記バルブ類収納部の下側に前記給水配管兼用支柱の上端が位置し、前記第2筐体の前記電装機器収納部の下側に前記電線管兼用支柱の先端が位置するように、前記給水配管兼用支柱と前記電線管兼用支柱が前記横方向に配置されたことを特徴とする消火栓装置の設置構造。
発明の詳細な説明
【技術分野】
【0001】
本発明は、トンネル壁面に沿って設けられた監視員通路に露出して設置される消火栓装置の設置構造に関する。
続きを表示(約 1,700 文字)
【背景技術】
【0002】
従来、高速道路や自動車専用道路等のトンネル内には、トンネル非常用設備として消火栓装置が設置されている。例えば消火栓装置は、前傾式の消火栓扉(前傾扉)を備えた筐体内部の消火栓収納部に、先端に放水ノズルを装着した消火用ホースや消火栓弁を含むバルブ類等が収納され、また、消火器扉を備えた筐体内部の消火器収納部に、2本の消火器が収納されるとともに、赤色表示灯、発信機、応答ランプ、及び電話ジャック等の電装機器が収納されている。また、消火栓装置は、一般的にトンネル長手方向、例えば50メートル間隔で、監視員通路が設けられたトンネル壁面を箱抜きして埋込み設置されている(特許文献1)。
【0003】
しかし、シールド工法等により造られたトンネルにあっては、トンネル躯体の構造上、トンネル壁面を箱抜きして消火栓装置を埋込み設置することがコストや労力の関係から困難であることから、消火栓装置を監視員通路に露出した状態で設置することが要求されている。
【0004】
このため、消火栓装置をトンネル壁面に箱抜きすることなく、監視員通路に露出した状態で設置する構造として、トンネル壁面に架台を設置し、設置された架台に消火栓装置を取付固定する壁掛け構造が提案されており、当該壁掛け構造の架台は、壁面に固定される主支持部と消火栓装置の姿勢を保持する姿勢保持部材等から構成されている(特許文献2)。
【0005】
しかし、壁掛け構造による消火栓装置の設置は、トンネル壁面への消火栓装置の取り付けに工数と時間が掛かる等の課題があることから、設置が容易である監視員通路の路面上に架台を設置し、設置された架台に消火栓装置を取付固定する、いわゆる据置き構造を採用することが考えられている。
【0006】
ところで、特許文献1に示した従来の消火栓装置にあっては、筐体内部の、消火用ホースやバルブ類が収納された消火栓収納部の側面外側に給水配管が立ち上げられ、給水配管は筐体側面を通って筐体内に引き込まれ、バルブ類収納部の配管に接続されている。また、特許文献2の壁掛け構造や据置き構造の消火栓装置についても、筐体内部の消火栓収納部の側面外側に給水配管が立ち上げられ、給水配管は筐体側面を通って筐体内に引き込まれ、バルブ類収納部の配管に接続されることが想定される。さらに、消火栓装置に設けられた赤色表示灯や発信機等の電装機器に対する配線ケーブルも筐体側面を通って筐体内に引き込まれ、筐体内の端箱を介して電装機器に接続されることが想定される。
【先行技術文献】
【特許文献】
【0007】
特開2009-279294号公報
特開2019-000196号公報
【発明の概要】
【発明が解決しようとする課題】
【0008】
しかしながら、従来の消火栓収納部の筐体の側面外側に立ち上げられた給水配管が、筐体側面を通って筐体内に引き込まれ、バルブ類収納部の配管に接続される構造、例えば、監視員通路の路面上に露出して設置される壁掛け構造や据置き構造の消火栓装置にあっては、給水配管が消火栓装置の側面外側に大きく露出して目立つこととなり、従来の壁面埋込み構造の消火栓装置では給水配管が露出してない点に比べると、著しく外観を損なって見栄えが悪くなり、また、工事中等の正常な状態ではなく消火栓装置の機能が十分に得られないのではないかとの印象を持たれかねない。
【0009】
また、消火栓装置の側面外側に露出して配置された給水配管は、設置スペースの横幅を広げる結果となり、給水配管の飛出しにより消火栓装置の周囲のアクセスが制約され、点検や避難のために監視員通路が使用される場合に邪魔になるといった問題もある。
【0010】
また、消火栓装置の筐体側面を通って筐体内に引き込まれる配線ケーブルについても、配線ケーブルが消火栓装置の側面外側に大きく露出して目立つこととなり、同様な問題がある。
(【0011】以降は省略されています)
この特許をJ-PlatPat(特許庁公式サイト)で参照する
関連特許
ホーチキ株式会社
消火栓装置
3日前
ホーチキ株式会社
消火栓装置
1か月前
ホーチキ株式会社
カードリーダー
3か月前
ホーチキ株式会社
火災検出システム
3か月前
ホーチキ株式会社
消火栓装置の設置構造
2か月前
ホーチキ株式会社
防災システム及び操作装置
1か月前
ホーチキ株式会社
防災システム及び防災端末装置
2か月前
国立大学法人 筑波大学
火災検出システム
3日前
国立大学法人 筑波大学
火災検出システム
3日前
国立大学法人 筑波大学
火災検出システム
3日前
国立大学法人 筑波大学
火災検出システム
3日前
ホーチキ株式会社
インターフェース部品の接地構造および電子機器
2か月前
ホーチキ株式会社
炎検出装置
11日前
ホーチキ株式会社
煙検知設備
3か月前
ホーチキ株式会社
火災報知方法
6日前
ホーチキ株式会社
施設管理システム
27日前
ホーチキ株式会社
電極手段の製造方法
2か月前
ホーチキ株式会社
消火栓装置及び消火器箱
26日前
ホーチキ株式会社
火災報知設備及び受信機
2か月前
ホーチキ株式会社
火災検知器及び防災システム
1か月前
ホーチキ株式会社
非常用設備及び消火器収納装置
2か月前
個人
階段避難用滑り板
10か月前
個人
階段上り下り滑り板
8か月前
藤井電工株式会社
連結フック
6か月前
個人
高層ビルからの救助装置
11日前
個人
大地震の火災消火システム
1か月前
藤井電工株式会社
安全帯取付具
1か月前
能美防災株式会社
消火設備
12か月前
株式会社高儀
胴当てベルト
2か月前
能美防災株式会社
消火設備
11か月前
能美防災株式会社
消火装置
10か月前
帝国繊維株式会社
防災用車両
3か月前
深田工業株式会社
発泡ノズル
10か月前
能美防災株式会社
消火栓装置
10か月前
能美防災株式会社
デフレクタ
12か月前
個人
高層階の降下型避難装置
5か月前
続きを見る
他の特許を見る