TOP
|
特許
|
意匠
|
商標
特許ウォッチ
Twitter
他の特許を見る
10個以上の画像は省略されています。
公開番号
2025133122
公報種別
公開特許公報(A)
公開日
2025-09-10
出願番号
2025100764,2021155114
出願日
2025-06-17,2021-09-24
発明の名称
消火栓装置及び消火器箱
出願人
ホーチキ株式会社
代理人
個人
,
個人
主分類
A62C
35/20 20060101AFI20250903BHJP(人命救助;消防)
要約
【課題】筐体内に、配置される消火栓機器、電装機器、端子箱及び消火器等に制約されることなく薄型化を可能とする。
【解決手段】消火対象領域となるトンネル内の監視員通路35の路面上の架台上に消火栓装置10が設置される。消火栓装置10の筐体は、消火栓機器が配置される第1筐体11a、電装機器及び端子箱26a,26bが配置される第2筐体11b及び消火器が配置される第3筐体11cで構成され、第2筐体11bが端に位置するようにトンネル長手方向に沿って配置され、隣接する筐体が連結された状態で設置されている。第2筐体11bの前面には電装機器の配置位置に対応して第1扉18が設けられ、第2筐体11bの側面には端子箱26a,26bの配置位置に対応して第2扉20が設けられる。
【選択図】図12
特許請求の範囲
【請求項1】
筐体内に、消火栓機器、電装機器、端子箱及び消火器が配置される消火栓装置であって、
前記筐体は、
前記消火栓機器が配置される第1筐体と、
前記電装機器及び前記端子箱が配置される第2筐体と、
前記消火器が配置される第3筐体と、
で構成され、
前記第1筐体、前記第2筐体及び前記第3筐体は、前記第2筐体が端に位置するように所定の一方向に沿って所定の順序で配置され、隣接する筐体が連結された状態で設置され、
前記電装機器の配置位置に対応して前記第2筐体の前面に第1扉が設けられると共に、前記端子箱の配置位置に対応して前記第2筐体の隣接する筐体が存在しない側の側面に第2扉が設けられることを特徴とする消火栓装置。
続きを表示(約 1,300 文字)
【請求項2】
筐体内に、消火栓機器、電装機器、端子箱及び消火器が配置される消火栓装置であって、
前記筐体は、
前記消火栓機器、前記電装機器及び前記端子箱が配置される第1筐体と、
前記消火器が配置される第2筐体と、
で構成され、
前記第1筐体及び前記第2筐体は、所定の一方向に沿って配置され、連結された状態で設置され、
前記第1筐体の内部は、前記消火栓機器が配置される消火栓収納部と前記電装機器及び前記端子箱が配置される電装機器・端子箱収納部に分けられ、
前記消火栓収納部及び前記電装機器・端子箱収納部は、前記第1筐体内に、前記所定の一方向に沿って所定の順序で配置され、
前記第1筐体の前記消火栓収納部側に前記第2筐体が位置し、
前記電装機器の配置位置に対応して前記第1筐体の前面に第1扉が設けられると共に、前記端子箱の配置位置に対応して前記第1筐体の前記第2筐体が存在しない側の側面に第2扉が設けられることを特徴とする消火栓装置。
【請求項3】
筐体内に、消火栓機器、電装機器、端子箱及び消火器が配置される消火栓装置であって、
前記筐体は、
前記消火栓機器が配置される第1筐体と、
前記電装機器、前記端子箱及び前記消火器が配置される第2筐体と、
で構成され、
前記第1筐体及び前記第2筐体は、所定の一方向に沿って配置され、連結された状態で設置され、
前記第2筐体の内部は、前記電装機器及び前記端子箱が配置される電装機器・端子箱収納部と前記消火器が配置される消火器収納部に分けられ、
前記電装機器・端子箱収納部及び前記消火器収納部は、前記第2筐体内に、前記所定の一方向に沿って所定の順序で配置され、
前記第2筐体の前記消火器収納部側に前記第1筐体が位置し、
前記電装機器の配置位置に対応して前記第2筐体の前面に第1扉が設けられると共に、前記端子箱の配置位置に対応して前記第2筐体の前記第1筐体が存在しない側の側面に第2扉が設けられることを特徴とする消火栓装置。
【請求項4】
請求項1乃至3の何れに記載の消火栓装置であって、
前記電装機器及び前記端子箱は、前記所定の一方向又は設置状態での高さ方向に沿って配置されることを特徴とする消火栓装置。
【請求項5】
筐体内に、電装機器、端子箱及び消火器が配置される消火器箱であって、
前記筐体は、
前記電装機器及び前記端子箱が配置される第1筐体と、
前記消火器が配置される第2筐体と、
で構成され、
前記第1筐体及び前記第2筐体は、所定の一方向に沿って所定の順序で配置され、連結された状態で設置され、
前記電装機器の配置位置に対応して前記第1筐体の前面に第1扉が設けられると共に、前記端子箱の配置位置に対応して前記第1筐体の前記第2筐体が存在しない側の側面に第2扉が設けられることを特徴とする消火器箱。
【請求項6】
請求項5記載の消火器箱であって、
前記電装機器及び前記端子箱は、前記所定の一方向又は設置状態での高さ方向に沿って配置されることを特徴とする消火器箱。
発明の詳細な説明
【技術分野】
【0001】
本発明は、筐体内に消火栓機器、電装機器、端子箱及び消火器が配置される消火栓装置及び電装機器、端子箱及び消火器が配置される消火器箱に関する。
続きを表示(約 1,700 文字)
【背景技術】
【0002】
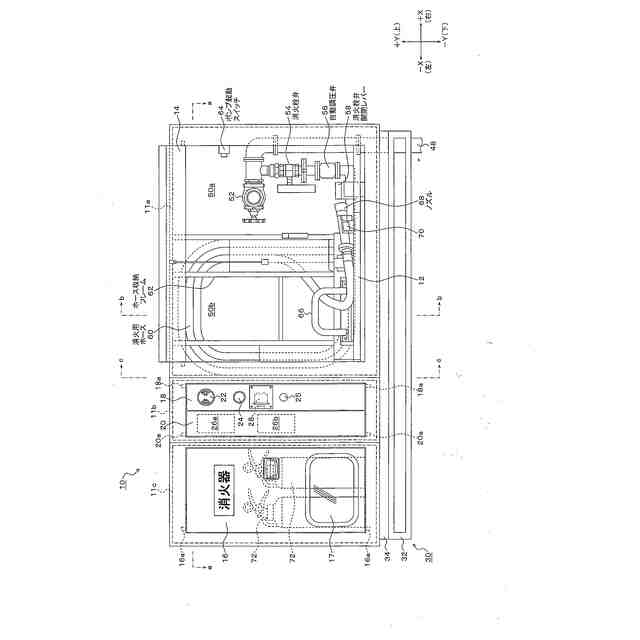
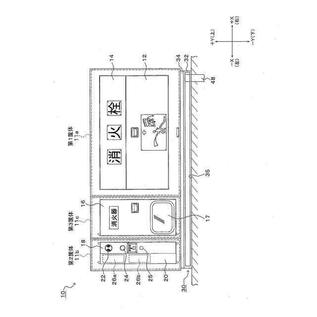
従来、消火対象領域となる高速道路や自動車専用道路などのトンネル内には、例えば図19に示す防災機器収納装置の一種である消火栓装置が、一般的にはトンネル長手方向に、例えば50メートル間隔でトンネル躯体の壁面を箱抜きして埋込み設置されている。尚、図19(A)は消火栓装置の前面を示し、図19(B)は消火栓装置の上面から見た断面を示している。尚、図19(B)は図19(A)の破線で示すh-hの箇所の断面である。
【0003】
ここで、図19の説明では、X-Y-Z方向が互いに直交する方向であり、具体的には、図19(A)、(B)のように消火栓装置の前面を正面に見て、X方向が左右方向とし、Y方向が上下方向とし、Z方向が前後方向とする。また、X方向における+X側を右側、-X側を左側とし、Y方向における+Y側を上側、-Y側を下側とし、Z方向における+Z側を前側、-Z側を後側とする。この点は本発明の実施形態となる図1~図18においても同様となる。
【0004】
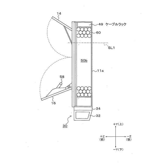
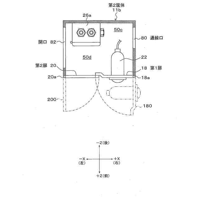
図19に示すように、従来の消火栓装置10は、開閉自在な消火栓扉12と保守扉14を備えた筐体111a内の消火栓収納部15aに、消火栓機器として消火用ホース60とバルブ類(図示省略)が収納され、また、開閉自在な消火器扉16と電装扉180を備えた筐体111b内の消火器収納部15bに、例えば2本の消火器72が収納される。電装扉180には、電装機器として、例えば供給される電源がAC100Vである赤色表示灯22、供給される電源がDC48Vである発信機24、応答ランプ25、電話ジャック28(電装扉の筐体内側)等が設けられ、また寒冷地においては更に供給される電源がAC200Vであるスペースヒータが設置される。
【0005】
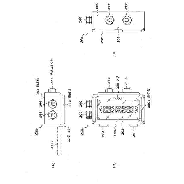
そして、これらの電装機器に供給される電源は、消火栓装置10の外部から筐体111a内の消火栓収納部15a側に引き込まれた高圧用の配線用ケーブル(強電用ケーブル)及び低圧用の配線用ケーブル(弱電用ケーブル)が消火栓収納部15aの何れかの空間を通り、筐体111b内の消火器収納部15bに配置される高圧用の端子箱26a又は低圧用の端子箱26bを介して接続されることで供給されることになる。
【0006】
ところで、トンネル躯体の壁面に、箱抜き等による消火栓装置の埋込部(凹部)が設けることが困難な場合には、消火栓装置は監視員通路の路面上に露出した状態で設置する必要がある。
【0007】
このような場合に、トンネル躯体の壁面に消火栓装置を壁掛け設置するための架台構造が提案されており、架台はトンネル躯体の壁面に固定される主支持部と消火栓装置の姿勢を保持する姿勢保持部材等から構成されている(特許文献2)。
【先行技術文献】
【特許文献】
【0008】
特開2016-055073号公報
特開2020-078429号公報
特開2016-59790号公報
特開2021-87891号公報
特開2012-75608号公報
特開平11-123248号公報
【発明の概要】
【発明が解決しようとする課題】
【0009】
しかしながら、トンネル躯体の壁面への壁掛け構造である消火栓装置にあっては、消火栓装置を監視員通路の路面から所定の高さに設置するため、トンネル躯体の壁面への消火栓装置の取付けは相当やり難いものであり、工数と時間がかかる等の多くの課題が残されている。
【0010】
そのため、当該壁掛け構造である消火栓装置の問題を解消するためには、設置が容易である監視員通路の路面上に消火栓装置を露出した状態で設置する、いわゆる据置き構造とすることが考えられる。しかしながら、消火栓装置の設置により監視員通路の幅(前後方向)が制約されることとなり、監視員通路の通路幅を確保するために、消火栓装置の幅(前後方向)を極力小さくする薄型化が課題解決として残されている。また、当該課題は壁掛け構造においても同様である。
(【0011】以降は省略されています)
この特許をJ-PlatPat(特許庁公式サイト)で参照する
関連特許
ホーチキ株式会社
消火栓装置
3か月前
ホーチキ株式会社
消火栓装置
1か月前
ホーチキ株式会社
カードリーダー
2か月前
ホーチキ株式会社
火災検出システム
2か月前
ホーチキ株式会社
放水型消火システム
3か月前
ホーチキ株式会社
消火栓装置の設置構造
2か月前
ホーチキ株式会社
防災システム及び操作装置
1か月前
ホーチキ株式会社
防災端末装置及び防災システム
3か月前
ホーチキ株式会社
防災システム及び防災端末装置
2か月前
ホーチキ株式会社
インターフェース部品の接地構造および電子機器
2か月前
ホーチキ株式会社
炎検出装置
7日前
ホーチキ株式会社
煙検知設備
3か月前
ホーチキ株式会社
防災システム
3か月前
ホーチキ株式会社
火災報知方法
2日前
ホーチキ株式会社
施設管理システム
23日前
ホーチキ株式会社
電極手段の製造方法
2か月前
株式会社JX通信社
情報処理装置、プログラムおよび情報処理方法
3か月前
ホーチキ株式会社
火災報知設備及び受信機
2か月前
ホーチキ株式会社
消火栓装置及び消火器箱
22日前
ホーチキ株式会社
火災検知器及び防災システム
1か月前
ホーチキ株式会社
非常用設備及び消火器収納装置
1か月前
ホーチキ株式会社
消火器具及び消火器具収納装置
3か月前
個人
階段避難用滑り板
10か月前
個人
階段上り下り滑り板
8か月前
個人
高層ビルからの救助装置
7日前
藤井電工株式会社
連結フック
6か月前
個人
大地震の火災消火システム
1か月前
藤井電工株式会社
安全帯取付具
1か月前
能美防災株式会社
消火設備
11か月前
株式会社高儀
胴当てベルト
2か月前
能美防災株式会社
消火設備
11か月前
能美防災株式会社
消火装置
10か月前
株式会社キッツ
流水検知装置
3か月前
個人
高層階の降下型避難装置
5か月前
能美防災株式会社
デフレクタ
11か月前
帝国繊維株式会社
防災用車両
2か月前
続きを見る
他の特許を見る