TOP
|
特許
|
意匠
|
商標
特許ウォッチ
Twitter
他の特許を見る
10個以上の画像は省略されています。
公開番号
2025131902
公報種別
公開特許公報(A)
公開日
2025-09-09
出願番号
2025105278,2020173939
出願日
2025-06-23,2020-10-15
発明の名称
施設管理システム
出願人
ホーチキ株式会社
代理人
個人
,
個人
主分類
A61L
2/10 20060101AFI20250902BHJP(医学または獣医学;衛生学)
要約
【課題】対象領域内での病原体の状況に応じて、病原体を不活化させるに足りる照射レベルの光を適切に照射し、人体に対する安全性等を考慮しながら、病原体の確実な不活化を可能とする。
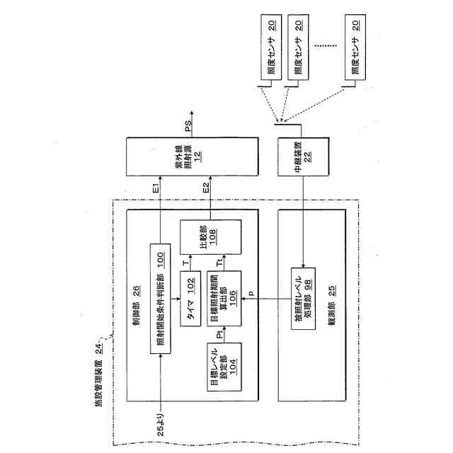
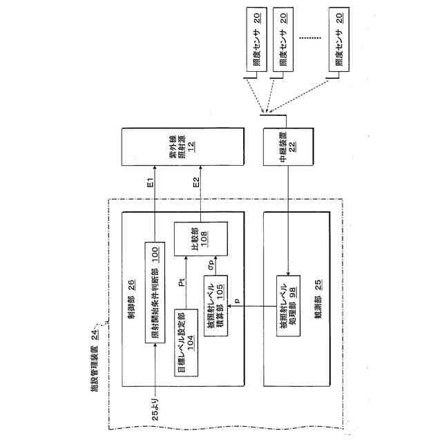
【解決手段】施設管理システムは、紫外線を照射する紫外線照射源12と、照射対象が受ける紫外線の被照射レベルを観測する観測部25と、照射開始条件が成立したときに紫外線照射源12から紫外線を照射し、紫外線の照射中に観測部25で観測した被照射レベルに基づき照射レベル及び又は照射期間を制御する制御部26を備える。制御部26は、照射開始条件が成立しない場合、所定時間を経過するごとに、紫外線照射源12から紫外線を照射して、照射対象の受ける積算被照射レベルが目標レベルとなるように照射レベル及び又は照射期間を制御し、紫外線の照射中に照射停止タイミングが到来したときに照射を停止する制御を行う。
【選択図】図1
特許請求の範囲
【請求項1】
対象領域内へ、所定の病原体を不活化させる波長帯域の光を照射する光照射源と、
前記光照射源から前記光を照射することによって前記対象領域内の照射対象が受ける前記光の被照射レベルを観測する観測部と、
所定の照射開始条件が成立したときに前記光照射源から前記光を照射し、前記光の照射中に前記観測部で観測した前記被照射レベルに基づき、前記被照射レベルを時間積算した積算被照射レベルが前記病原体を所定の不活化目標まで不活化させる所定の目標レベルとなるように、前記光の照射レベル及び又は照射期間を制御する制御部と、
を備え、
前記制御部は、
前記所定の照射開始条件が成立しない場合、所定時間を経過するごとに、前記光照射源から前記光を照射して、前記照射対象の受ける前記積算被照射レベルが前記目標レベルとなるように、前記光の照射レベル及び又は照射期間を制御し、
前記所定の照射開始条件が成立したときに前記光照射源から所定の照射レベルに固定した前記光の照射を開始して、前記光の照射中に前記観測部により観測した前記被照射レベルと前記目標レベルとに基づいて前記光の照射を停止する照射停止タイミングを求め、当該照射停止タイミングが到来したときに前記光の照射を停止する制御を行うことを特徴とする施設管理システム。
続きを表示(約 2,200 文字)
【請求項2】
請求項1記載の施設管理システムに於いて、
前記制御部は、前記光の照射中に、前記観測部により観測した当該被照射レベルを時間積算した積算被照射レベルが前記目標レベルに到達したときに、前記照射停止タイミングが到来したと判断して、前記光の照射を停止することを特徴とする施設管理システム。
【請求項3】
請求項1記載の施設管理システムに於いて、
前記制御部は、前記光の照射を開始した直後の所定タイミングで前記観測部により観測した当該被照射レベルにより前記目標レベルを除算して目標照射期間を求め、前記光の照射を開始してからの経過期間が前記目標照射期間に到達したときに、前記照射停止タイミングが到来したと判断して、前記光の照射を停止することを特徴とする施設管理システム。
【請求項4】
対象領域内へ、所定の病原体を不活化させる波長帯域の光を照射する光照射源と、
前記光照射源から前記光を照射することによって前記対象領域内の照射対象が受ける前記光の被照射レベルを観測する観測部と、
所定の照射開始条件が成立したときに前記光照射源から前記光を照射し、前記光の照射中に前記観測部で観測した前記被照射レベルに基づき、前記被照射レベルを時間積算した積算被照射レベルが前記病原体を所定の不活化目標まで不活化させる所定の目標レベルとなるように、前記光の照射レベル及び又は照射期間を制御する制御部と、
を備え、
前記制御部は、
前記所定の照射開始条件が成立しない場合、所定時間を経過するごとに、前記光照射源から前記光を照射して、前記照射対象の受ける前記積算被照射レベルが前記目標レベルとなるように、前記光の照射レベル及び又は照射期間を制御し、
前記所定の照射開始条件が成立したときに前記光照射源から前記光の照射を開始して、所定の照射期間と前記目標レベルとに基づいて前記照射対象が受ける目標被照射レベルを求め、前記光の照射中に前記観測部により観測した前記被照射レベルが当該目標被照射レベルとなるように前記光照射源の照射レベルを制御し、前記光の照射を開始してからの経過期間が前記所定の照射期間に到達したときに、前記照射停止タイミングが到来したと判断して、前記光の照射を停止することを特徴とする施設管理システム。
【請求項5】
請求項1乃至4の何れかに記載の施設管理システムに於いて、
前記制御部は、前記照射対象が受ける前記積算被照射レベルが、前記対象領域内の使用目的及び又は前記病原体の感染危険度に応じて設定した所定の目標レベルとなるように、前記光の照射レベル及び又は照射期間を制御することを特徴とする施設管理システム。
【請求項6】
請求項1乃至5の何れかに記載の施設管理システムに於いて、
前記制御部は、前記照射対象として前記対象領域内を使用目的に応じて複数の小領域に分け、前記小領域が受ける前記積算被照射レベルが、当該小領域の使用目的及び又は前記病原体の感染危険度に応じて設定した所定の目標レベルとなるように、前記小領域ごとに設けた前記光照射源により前記光の照射レベル及び又は照射期間を制御することを特徴とする施設管理システム。
【請求項7】
請求項1乃至6の何れかに記載の施設管理システムに於いて、
前記観測部は、前記照射対象が受ける前記被照射レベルを前記対象領域内の複数点で観測し、
前記制御部は、前記観測部で観測した複数点の被照射レベルの最小値又は平均値に基づき、前記照射対象が受ける前記積算被照射レベルが前記目標レベルとなるように、前記光の照射レベル及び又は照射期間を制御することを特徴とする施設管理システム。
【請求項8】
請求項1乃至7の何れかに記載の施設管理システムに於いて、
前記観測部は、更に、前記対象領域内の利用状況を観測し、
前記制御部は、前記観測部で観測した前記対象領域内の利用状況が所定の照射開始条件を充足したときに、前記光照射源から前記光の照射を開始して、前記照射対象が受ける前記積算被照射レベルが前記目標レベルとなるように、前記光の照射レベル及び又は照射期間を制御することを特徴とする施設管理システム。
【請求項9】
請求項8記載の施設管理システムに於いて、
前記観測部は、前記対象領域内の利用状況として、前記対象領域内への人の入出を観測し、
前記制御部は、前記対象領域内へ人が入ったとき、及び又は、前記対象領域内から人が出たときに、前記光照射源から前記光を照射して、前記照射対象が受ける前記積算被照射レベルが前記目標レベルとなるように、前記光の照射レベル及び又は照射期間を制御することを特徴とする施設管理システム。
【請求項10】
請求項8記載の施設管理システムに於いて、
前記観測部は、前記対象領域内の利用状況として、前記対象領域内の人の混雑度を観測し、
前記制御部は、前記照射対象が受ける前記積算被照射レベルが、前記観測部で観測した前記人の混雑度に応じて設定した所定の目標レベルとなるように、前記光の照射レベル及び又は照射期間を制御することを特徴とする施設管理システム。
(【請求項11】以降は省略されています)
発明の詳細な説明
【技術分野】
【0001】
本発明は、オフィスビルなどの施設の利用状況に応じ、施設内へ所定波長の光を照射することにより、施設内に存在する病原体を不活化させて感染症への感染を予防する施設管理システムに関する。
続きを表示(約 1,500 文字)
【背景技術】
【0002】
近年、病原菌等の病原体を原因とする各種感染症への感染を予防するため、マスクの着用、人と人との距離の確保、手洗い等による手指衛生、手が触れる物品等の除菌、消毒が推奨されている。除菌、消毒剤としては、例えばエルアルコールや次亜塩素酸水、次亜塩素酸ナトリウム等が利用されている。
【0003】
一方、紫外線の照射によりウィスルや細菌などの病原体を不活化させる手法が知られている。例えば、ウィルスのDNA(デオキシリボ核酸)の吸収ピーク波長であり、照射によって最も効率良く病原菌を不活化させるとされる波長254nm又は265nmを含む波長帯の紫外線を利用するものがある。波長254nmを含む波長帯の光源としては低圧水銀ランプを使用し、波長264nmを含む波長帯の光源としては紫外線LEDを使用している。
【先行技術文献】
【特許文献】
【0004】
特開2015-027325号公報
特開2017-153456号公報
特開2010-133182号公報
特開2018-191019号公報
特開2020-009471号公報
特開2017-124220号公報
【発明の概要】
【発明が解決しようとする課題】
【0005】
しかしながら、ウィルスや細菌等の病原体を不活化させるために照射する波長254nm又は265nmを含む波長帯の紫外線は、皮膚がんや白内障を誘発するなど人体に対し有害性が高いことから、人のいる場所では使用できない問題がある。
【0006】
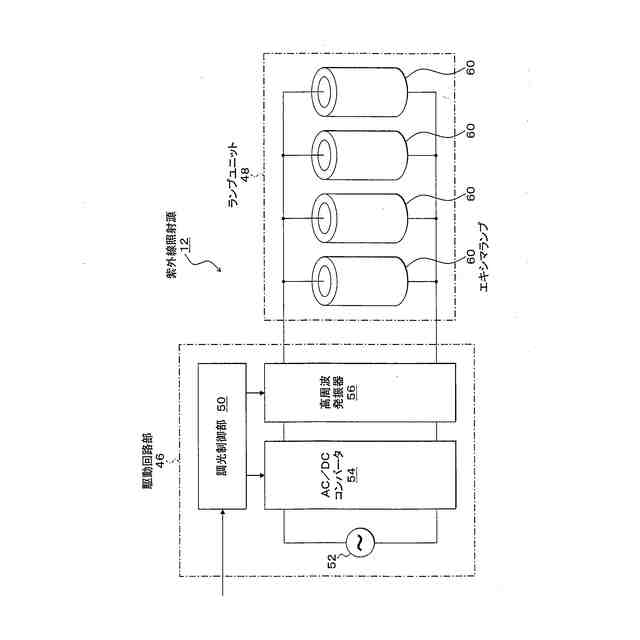
一方、近年にあっては、人体に対する深達度(皮膚に入射した紫外線が到達する深さ)の小さい200~230nmの紫外線が注目されており、中心波長を222nmとする紫外線を反復照射した場合でも、皮膚がんを誘発せず、ヒトの皮膚と眼にも安全である、との報告がなされている。この紫外線光源としてはエキシマランプを用いている。
【0007】
このため、オフィスビルの部屋等の対象領域に対し、人体に安全な波長222nmを含む波長帯の紫外線を照射して病原体を不活化させることで、各種感染症への感染を抑え込むことが期待される。
【0008】
ところで、紫外線を照射して病原体を不活化させる場合にあっては、対象領域内の壁面や床面等の照射対象の受ける紫外線の照射量(エネルギー量)が、実験等で求められたウィルスを99.9%死滅させるに必要な照射量となるように紫外線光源を制御する必要がある。
【0009】
一方、波長222nmを含む波長帯の紫外線が人に安全であったとしても、人のいる場所で必要な照射量となるように紫外線を連続して照射し続けることは、病原菌を完全に不活化できる点では望ましいが、紫外線の照射量が過剰となり、人体に対する安全性が問題となる可能性があり、また、紫外線を照射するための消費電力が増加することで運用コストか嵩み、更に、対象領域内に置かれている機器や備品などの物品、壁面や床面などの内装材などが紫外線に晒され続けることで劣化が進み、耐用年数が低下するといった問題がある。
【0010】
また、オフィスビルの部屋等の対象領域における病原体の付着の様子は、人の出入りを含む利用状況や使用目的等に依存して場所により様々であり、紫外線の照射量を一律とした場合には、場所に応じた適当な照射量とはならず、非効率である。
(【0011】以降は省略されています)
この特許をJ-PlatPat(特許庁公式サイト)で参照する
関連特許
ホーチキ株式会社
消火栓装置
3日前
ホーチキ株式会社
消火栓装置
1か月前
ホーチキ株式会社
カードリーダー
3か月前
ホーチキ株式会社
火災検出システム
3か月前
ホーチキ株式会社
消火栓装置の設置構造
2か月前
ホーチキ株式会社
防災システム及び操作装置
1か月前
ホーチキ株式会社
防災システム及び防災端末装置
2か月前
国立大学法人 筑波大学
火災検出システム
3日前
国立大学法人 筑波大学
火災検出システム
3日前
国立大学法人 筑波大学
火災検出システム
3日前
国立大学法人 筑波大学
火災検出システム
3日前
ホーチキ株式会社
インターフェース部品の接地構造および電子機器
2か月前
ホーチキ株式会社
炎検出装置
11日前
ホーチキ株式会社
煙検知設備
3か月前
ホーチキ株式会社
火災報知方法
6日前
ホーチキ株式会社
施設管理システム
27日前
ホーチキ株式会社
電極手段の製造方法
2か月前
ホーチキ株式会社
消火栓装置及び消火器箱
26日前
ホーチキ株式会社
火災報知設備及び受信機
2か月前
ホーチキ株式会社
火災検知器及び防災システム
1か月前
ホーチキ株式会社
非常用設備及び消火器収納装置
2か月前
個人
健康器具
7か月前
個人
短下肢装具
2か月前
個人
歯茎みが品
8か月前
個人
鼾防止用具
7か月前
個人
脈波測定方法
7か月前
個人
前腕誘導装置
2か月前
個人
洗井間専家。
6か月前
個人
嚥下鍛錬装置
3か月前
個人
導電香
8か月前
個人
白内障治療法
6か月前
個人
マッサージ機
8か月前
個人
脈波測定方法
7か月前
個人
矯正椅子
4か月前
個人
アイマスク装置
1か月前
個人
ホバーアイロン
6か月前
続きを見る
他の特許を見る