TOP
|
特許
|
意匠
|
商標
特許ウォッチ
Twitter
他の特許を見る
10個以上の画像は省略されています。
公開番号
2025145564
公報種別
公開特許公報(A)
公開日
2025-10-03
出願番号
2024045796
出願日
2024-03-22
発明の名称
火災検出システム
出願人
国立大学法人 筑波大学
,
ホーチキ株式会社
代理人
個人
主分類
G08B
17/00 20060101AFI20250926BHJP(信号)
要約
【課題】火災をより確実に検出することができる火災検出システムを提供すること。
【解決手段】対象領域で発生する火災を検出する火災検出システムであって、対象領域に対して音波を送波する送波部11と、音波を受波する受波部12と、送波した音波と、受波した音波とに基づいて、送波された音波の伝搬経路上の温度を特定する温度特定手段と、温度特定手段が特定した対象領域の温度に基づいて、対象領域で発生する火災を検出する火災検出手段と、を備え、受波部12は、直達波と、反射波とを受波し、温度特定手段は、送波部11が送波した音波に対応する送波信号と、受波部12が受波した直達波及び反射波に対応する受波信号とに基づいて、送波部11から送波された直達波及び反射波の伝搬経路上の温度を特定する。
【選択図】図3
特許請求の範囲
【請求項1】
対象領域で発生する火災を検出する火災検出システムであって、
前記対象領域に対して音波を送波する送波手段と、
音波を受波する受波手段と、
前記送波手段が送波した音波と、前記受波手段が受波した音波とに基づいて、前記送波手段から送波された音波の伝搬経路上の温度を特定する温度特定手段と、
前記温度特定手段が特定した前記対象領域の温度に基づいて、前記対象領域で発生する火災を検出する火災検出手段と、を備え、
前記受波手段は、前記送波手段に送波され前記対象領域内で反射せずに前記受波手段に直接到達する音波である直達波と、前記送波手段に送波され前記対象領域内で反射された後に前記受波手段に到達する音波である反射波とを受波し、
前記温度特定手段は、前記送波手段が送波した音波に対応する送波信号と、前記受波手段が受波した前記直達波及び前記反射波に対応する受波信号とに基づいて、前記送波手段から送波された前記直達波及び前記反射波の伝搬経路上の温度を特定する、
火災検出システム。
続きを表示(約 500 文字)
【請求項2】
前記反射波は、前記対象領域の床面で反射する第1反射波、前記対象領域の壁面で反射する第2反射波、又は前記対象領域の天井面で反射する第3反射波の内のいずれか1個以上の反射波を含み、
前記温度特定手段は、前記直達波及び前記1個以上の反射波に関する前記受波手段への到達順番を示す到達順番情報に基づいて、前記送波手段から送波された音波の伝搬経路上の温度を特定する、
請求項1に記載の火災検出システム。
【請求項3】
前記温度特定手段は、
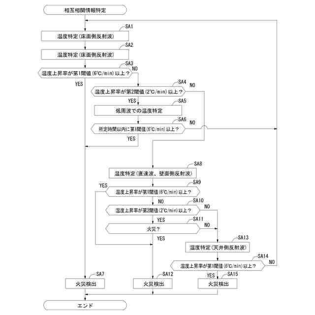
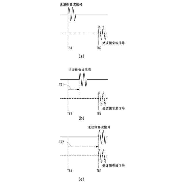
前記送波信号又は前記受波信号のいずれか一方を時間的に移動させてずらした場合における、ずれ時間に対する前記送波信号及び前記受波信号の相互間の相関度が求められる相互相関情報を特定する第1処理と、
前記第1処理にて特定した前記相互相関情報に基づいて、前記送波手段から送波された音波の伝搬経路上の温度を特定する第2処理と、を行う、
請求項1に記載の火災検出システム。
【請求項4】
前記反射波は複数個所で反射した多重反射を含むことを特徴とする、
請求項1に記載の火災検出システム。
発明の詳細な説明
【技術分野】
【0001】
本発明は、火災検出システムに関する。
続きを表示(約 1,400 文字)
【背景技術】
【0002】
従来、音波を用いて火災を検出する技術が知られていた(例えば、特許文献1参照)。
【先行技術文献】
【特許文献】
【0003】
特開2022-117536
【発明の概要】
【発明が解決しようとする課題】
【0004】
ところで、音波を用いて火災をより確実に検出する技術が要望されていた。
【0005】
本発明は上記問題に鑑みてなされたもので、火災をより確実に検出することができる火災検出システムを提供することを目的とする。
【課題を解決するための手段】
【0006】
上述した課題を解決し、目的を達成するために、請求項1に記載の火災検出システムは、対象領域で発生する火災を検出する火災検出システムであって、前記対象領域に対して音波を送波する送波手段と、音波を受波する受波手段と、前記送波手段が送波した音波と、前記受波手段が受波した音波とに基づいて、前記送波手段から送波された音波の伝搬経路上の温度を特定する温度特定手段と、前記温度特定手段が特定した前記対象領域の温度に基づいて、前記対象領域で発生する火災を検出する火災検出手段と、を備え、前記受波手段は、前記送波手段に送波され前記対象領域内で反射せずに前記受波手段に直接到達する音波である直達波と、前記送波手段に送波され前記対象領域内で反射された後に前記受波手段に到達する音波である反射波とを受波し、前記温度特定手段は、前記送波手段が送波した音波に対応する送波信号と、前記受波手段が受波した前記直達波及び前記反射波に対応する受波信号とに基づいて、前記送波手段から送波された前記直達波及び前記反射波の伝搬経路上の温度を特定する。
【0007】
また、請求項2に記載の火災検出システムは、請求項1に記載の火災検出システムにおいて、前記反射波は、前記対象領域の床面で反射する第1反射波、前記対象領域の壁面で反射する第2反射波、又は前記対象領域の天井面で反射する第3反射波の内のいずれか1個以上の反射波を含み、前記温度特定手段は、前記直達波及び前記1個以上の反射波に関する前記受波手段への到達順番を示す到達順番情報に基づいて、前記送波手段から送波された音波の伝搬経路上の温度を特定する。
【0008】
また、請求項3に記載の火災検出システムは、請求項1に記載の火災検出システムにおいて、前記温度特定手段は、前記送波信号又は前記受波信号のいずれか一方を時間的に移動させてずらした場合における、ずれ時間に対する前記送波信号及び前記受波信号の相互間の相関度が求められる相互相関情報を特定する第1処理と、前記第1処理にて特定した前記相互相関情報に基づいて、前記送波手段から送波された音波の伝搬経路上の温度を特定する第2処理と、を行う。
【0009】
また、請求項4に記載の火災検出システムは、請求項1に記載の火災検出システムにおいて、前記反射波は複数個所で反射した多重反射を含むことを特徴とする。
【発明の効果】
【0010】
請求項1に記載の火災検出システムによれば、送波した音波に対応する送波信号と、受波した直達波及び反射波に対応する受波信号とに基づいて温度を特定し、特定した温度に基づいて火災を検出することにより、例えば、火災をより確実に検出することが可能となる。
(【0011】以降は省略されています)
特許ウォッチbot のツイートを見る
この特許をJ-PlatPat(特許庁公式サイト)で参照する
関連特許
国立大学法人 筑波大学
制振機構
4日前
国立大学法人 筑波大学
制振機構
4日前
国立大学法人 筑波大学
制振機構
4日前
国立大学法人 筑波大学
超音波検査装置
1か月前
国立大学法人 筑波大学
火災検出システム
今日
国立大学法人 筑波大学
火災検出システム
今日
国立大学法人 筑波大学
火災検出システム
今日
国立大学法人 筑波大学
火災検出システム
今日
国立大学法人 筑波大学
麹菌組織物の製造方法
1か月前
NTT株式会社
復号装置及び復号方法
今日
NTT株式会社
映像処理装置、方法及びプログラム
4日前
NTT株式会社
情報処理装置、方法およびプログラム
22日前
NTT株式会社
データ解析装置、方法およびプログラム
22日前
国立大学法人 筑波大学
反応性スパッタリング方法及び反応性スパッタリングシステム
23日前
国立大学法人 筑波大学
会計情報解析方法、会計情報解析装置及び会計情報解析プログラム
14日前
東洋紡株式会社
ノロウイルス検出用オリゴヌクレオチド及びその用途
今日
国立大学法人 筑波大学
学習装置、判定装置、判定システム、学習方法、判定方法、学習済モデル、プログラム及び学習モデル生成方法
1か月前
京セラ株式会社
睡眠推定システム、睡眠推定方法、及びプログラム
2日前
日本精機株式会社
警報システム
1か月前
個人
自動電動車椅子
15日前
エムケー精工株式会社
車両誘導装置
1か月前
スズキ株式会社
運転支援装置
1か月前
株式会社国際電気
防災システム
1か月前
個人
磁気路上での車両の路線離脱防御
4日前
ニッタン株式会社
発信機
1か月前
ニッタン株式会社
検知器
25日前
ニッタン株式会社
検知器
1日前
ニッタン株式会社
検知器
23日前
ニッタン株式会社
検知器
23日前
ニッタン株式会社
発信機
1か月前
トヨタ自動車株式会社
車両
1か月前
トヨタ自動車株式会社
サーバ
8日前
日本信号株式会社
異常走行検出装置
8日前
個人
乗り物の移動を支援する方法及び装置
2か月前
大阪瓦斯株式会社
音声出力システム
今日
株式会社小糸製作所
移動体検出装置
25日前
続きを見る
他の特許を見る