TOP
|
特許
|
意匠
|
商標
特許ウォッチ
Twitter
他の特許を見る
公開番号
2025115449
公報種別
公開特許公報(A)
公開日
2025-08-07
出願番号
2024009907
出願日
2024-01-26
発明の名称
タイヤ及びその製造方法
出願人
横浜ゴム株式会社
代理人
清流国際弁理士法人
,
個人
,
個人
主分類
B60C
19/00 20060101AFI20250731BHJP(車両一般)
要約
【課題】トランスポンダの配置箇所を工夫することにより、トランスポンダの耐外傷性と耐久性を改善し、トランスポンダの損傷を防止することを可能にしたタイヤ及びその製造方法を提供する。
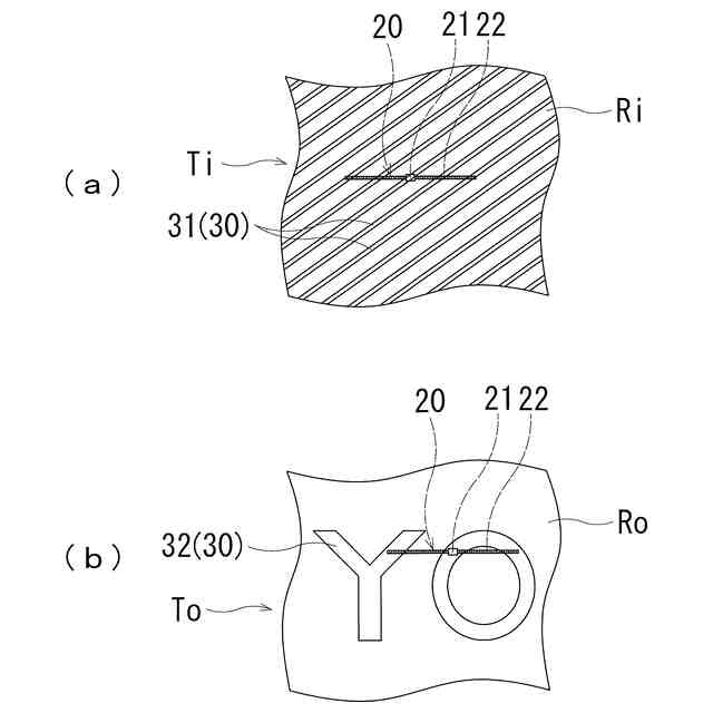
【解決手段】タイヤ周方向に延在して環状をなすトレッド部と、トレッド部の両側に配置された一対のサイドウォール部と、これらサイドウォール部2のタイヤ径方向内側に配置された一対のビード部とを備え、サイドウォール部2のタイヤ内表面Tiとタイヤ外表面Toの少なくとも一方にタイヤ基準面Rから突出した凸部30を有するタイヤにおいて、サイドウォール部2にトランスポンダ20が埋設され、トランスポンダ20を構成するICチップ21は凸部30に対応する箇所に配置されている。
【選択図】図2
特許請求の範囲
【請求項1】
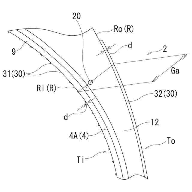
タイヤ周方向に延在して環状をなすトレッド部と、該トレッド部の両側に配置された一対のサイドウォール部と、これらサイドウォール部のタイヤ径方向内側に配置された一対のビード部とを備え、前記サイドウォール部のタイヤ内表面とタイヤ外表面の少なくとも一方にタイヤ基準面から突出した凸部を有するタイヤにおいて、
前記サイドウォール部にトランスポンダが埋設され、該トランスポンダを構成するICチップが前記凸部に対応する箇所に配置されていることを特徴とするタイヤ。
続きを表示(約 1,300 文字)
【請求項2】
前記ICチップと前記凸部とが重なり合って形成される重複領域の面積が前記ICチップの面積に対して25%~100%の範囲にあることを特徴とする請求項1に記載のタイヤ。
【請求項3】
前記トランスポンダがゴム又は樹脂からなる被覆層により被覆されており、前記凸部のタイヤ基準面からの突出量が0.5mm~3.0mmの範囲にあることを特徴とする請求項1又は2に記載のタイヤ。
【請求項4】
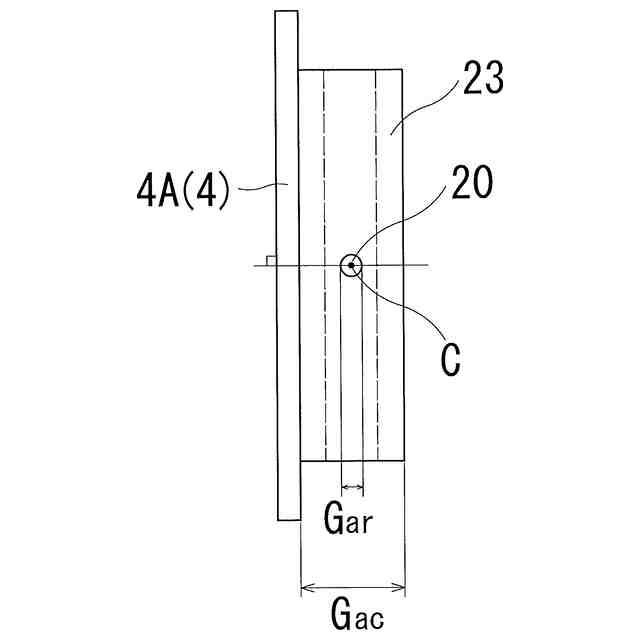
前記トランスポンダがゴムからなる被覆層により被覆されており、前記被覆層の総厚さGacが前記トランスポンダの埋設箇所におけるタイヤ総厚さGaの1%~30%の範囲にあることを特徴とする請求項1又は2に記載のタイヤ。
【請求項5】
前記トランスポンダがゴムからなる被覆層により被覆されており、前記被覆層の総厚さGacと前記トランスポンダの最大厚さGarとが1.1≦Gac/Gar≦3.0の関係を満たすことを特徴とする請求項1又は2に記載のタイヤ。
【請求項6】
前記トランスポンダがゴムからなる被覆層により被覆されており、前記凸部の20℃における50%変形時のモジュラスが前記被覆層の20℃における50%変形時のモジュラスよりも高いことを特徴とする請求項1又は2に記載のタイヤ。
【請求項7】
前記被覆層の20℃における50%変形時のモジュラスが0.4MPa~1.5MPaの範囲にあることを特徴とする請求項6に記載のタイヤ。
【請求項8】
前記凸部が前記タイヤ内表面に形成された内側凸部と前記タイヤ外表面に形成された外側凸部とを含み、前記ICチップが前記内側凸部及び前記外側凸部の両方とタイヤ周方向及びタイヤ径方向に重なり合うように配置されていることを特徴とする請求項1又は2に記載のタイヤ。
【請求項9】
前記サイドウォール部にサイドウォールゴム層が配置され、前記ビード部にリムクッションゴム層が配置され、前記一対のビード部間にカーカス層が装架され、前記トレッド部における前記カーカス層の外周側に複数層のベルト層が配置され、前記カーカス層に沿ってタイヤ内表面にインナーライナー層が配置されており、
前記トランスポンダが、前記インナーライナー層と前記カーカス層との間、前記カーカス層と前記サイドウォールゴム層との間又は前記カーカス層と前記リムクッションゴム層との間のいずれかに配置されていることを特徴とする請求項1又は2に記載のタイヤ。
【請求項10】
トランスポンダをタイヤ構成部材の間に埋設したグリーンタイヤを成形し、内表面に凹部を有する金型と外表面に複数本の排気溝を有するブラダーとを用いて前記グリーンタイヤを加硫し、前記グリーンタイヤの内表面と外表面に凸部が形成されたタイヤの製造方法であって、
前記トランスポンダを埋設する際に、前記トランスポンダを構成するICチップが前記凸部に対応する箇所に配置されるように、前記トランスポンダを前記グリーンタイヤに埋設することを特徴とするタイヤの製造方法。
発明の詳細な説明
【技術分野】
【0001】
本発明は、タイヤ及びその製造方法に関し、更に詳しくは、トランスポンダの配置箇所を工夫することにより、トランスポンダの耐外傷性と耐久性を改善し、トランスポンダの損傷を防止することを可能にしたタイヤ及びその製造方法に関する。
続きを表示(約 1,700 文字)
【背景技術】
【0002】
タイヤにおいて、RFIDタグ(トランスポンダ)をタイヤ内部に埋設することが提案されている(例えば、特許文献1参照)。タイヤ内部にトランスポンダを埋設するにあたって、例えばサイドウォール部のゴム厚さが薄い箇所に配置した場合に、縁石等を乗り越す際にタイヤが折り畳まれた状態になると、ゴム厚さが薄い箇所にトランスポンダがあることでトランスポンダが損傷するリスクが高まるという問題がある。
【先行技術文献】
【特許文献】
【0003】
特開平7-137510号公報
【発明の概要】
【発明が解決しようとする課題】
【0004】
本発明の目的は、トランスポンダの配置箇所を工夫することにより、トランスポンダの耐外傷性と耐久性を改善し、トランスポンダの損傷を防止することを可能にしたタイヤ及びその製造方法を提供することにある。
【課題を解決するための手段】
【0005】
上記目的を達成するための本発明のタイヤは、タイヤ周方向に延在して環状をなすトレッド部と、該トレッド部の両側に配置された一対のサイドウォール部と、これらサイドウォール部のタイヤ径方向内側に配置された一対のビード部とを備え、前記サイドウォール部のタイヤ内表面とタイヤ外表面の少なくとも一方にタイヤ基準面から突出した凸部を有するタイヤにおいて、前記サイドウォール部にトランスポンダが埋設され、該トランスポンダを構成するICチップが前記凸部に対応する箇所に配置されていることを特徴とするものである。
【0006】
本発明のタイヤの製造方法は、トランスポンダをタイヤ構成部材の間に埋設したグリーンタイヤを成形し、内表面に凹部を有する金型と外表面に複数本の排気溝を有するブラダーとを用いて前記グリーンタイヤを加硫し、前記グリーンタイヤの内表面と外表面に凸部が形成されたタイヤの製造方法であって、前記トランスポンダを埋設する際に、前記トランスポンダを構成するICチップが前記凸部に対応する箇所に配置されるように、前記トランスポンダを前記グリーンタイヤに埋設することを特徴とするものである。
【発明の効果】
【0007】
本発明では、トランスポンダを構成するICチップがサイドウォール部のタイヤ内表面又はタイヤ外表面の凸部に対応する箇所に配置されている。このICチップは、トランスポンダにおいて最も厚い部位であるため、タイヤが大きく変形した際に影響を受け易い。上述したようにICチップが凸部に対応する箇所に配置されていることで、ICチップがタイヤ基準面に対してゴムが厚くなっている部位に配置されるため、当該ゴムがクッションとして機能し、縁石等を乗り越した際のタイヤ変形による影響を受けにくくなる。これにより、トランスポンダの耐外傷性と耐久性を改善し、トランスポンダの損傷を防止することができる。
【0008】
本発明のタイヤにおいて、ICチップと凸部とが重なり合って形成される重複領域の面積はICチップの面積に対して25%~100%の範囲にあることが好ましい。これにより、トランスポンダの耐外傷性と耐久性を効果的に改善することができる。
【0009】
トランスポンダはゴム又は樹脂からなる被覆層により被覆されており、凸部のタイヤ基準面からの突出量は0.5mm~3.0mmの範囲にあることが好ましい。被覆層によりトランスポンダを保護して破損を防止しつつ、凸部の突出量を適度に設定することで、トランスポンダの耐外傷性を効果的に改善することができる。
【0010】
トランスポンダはゴムからなる被覆層により被覆されており、被覆層の総厚さGacはトランスポンダの埋設箇所におけるタイヤ総厚さGaの1%~30%の範囲にあることが好ましい。被覆層によりトランスポンダを保護して破損を防止しつつ、タイヤ総厚さGaに対する被覆層の総厚さGacの比率を適度に設定することで、タイヤ加硫時における被覆層のゴム流れを効果的に抑制することができる。
(【0011】以降は省略されています)
この特許をJ-PlatPat(特許庁公式サイト)で参照する
関連特許
横浜ゴム株式会社
タイヤ
1か月前
横浜ゴム株式会社
タイヤ
23日前
横浜ゴム株式会社
タイヤ
1か月前
横浜ゴム株式会社
タイヤ
13日前
横浜ゴム株式会社
タイヤ
13日前
横浜ゴム株式会社
タイヤ
13日前
横浜ゴム株式会社
タイヤ
1か月前
横浜ゴム株式会社
タイヤ
1か月前
横浜ゴム株式会社
タイヤ
1か月前
横浜ゴム株式会社
タイヤ
1か月前
横浜ゴム株式会社
タイヤ
23日前
横浜ゴム株式会社
タイヤ
1か月前
横浜ゴム株式会社
タイヤ
23日前
横浜ゴム株式会社
タイヤ
23日前
横浜ゴム株式会社
タイヤ
23日前
横浜ゴム株式会社
タイヤ
1か月前
横浜ゴム株式会社
タイヤ
1か月前
横浜ゴム株式会社
タイヤ
1か月前
横浜ゴム株式会社
タイヤ
1か月前
横浜ゴム株式会社
タイヤ
1か月前
横浜ゴム株式会社
タイヤ
13日前
横浜ゴム株式会社
タイヤ
1か月前
横浜ゴム株式会社
タイヤ
9日前
横浜ゴム株式会社
タイヤ
1か月前
横浜ゴム株式会社
タイヤ
2日前
横浜ゴム株式会社
タイヤ
2日前
横浜ゴム株式会社
タイヤ
3日前
横浜ゴム株式会社
タイヤ
3日前
横浜ゴム株式会社
タイヤ
9日前
横浜ゴム株式会社
重荷重タイヤ
9日前
横浜ゴム株式会社
空気入りタイヤ
1か月前
横浜ゴム株式会社
空気入りタイヤ
1か月前
横浜ゴム株式会社
空気入りタイヤ
10日前
横浜ゴム株式会社
空気入りタイヤ
13日前
横浜ゴム株式会社
空気入りタイヤ
1か月前
横浜ゴム株式会社
タイヤの製造方法
2日前
続きを見る
他の特許を見る