TOP
|
特許
|
意匠
|
商標
特許ウォッチ
Twitter
他の特許を見る
10個以上の画像は省略されています。
公開番号
2025115507
公報種別
公開特許公報(A)
公開日
2025-08-07
出願番号
2024009986
出願日
2024-01-26
発明の名称
配線基板及びその製造方法
出願人
イビデン株式会社
代理人
個人
,
個人
主分類
H05K
3/46 20060101AFI20250731BHJP(他に分類されない電気技術)
要約
【課題】磁性樹脂体の磁性の低下を抑制可能な技術の提供を目的にする。
【解決手段】本開示の配線基板は、開口と第1貫通孔が形成されたコア基板と、前記開口内に充填され、第2貫通孔を有する磁性樹脂体と、前記第1貫通孔に形成された第1スルーホール導体と、前記第2貫通孔に形成された第2スルーホール導体と、を備える配線基板であって、前記第2スルーホール導体は、前記第2貫通孔に充填されている導電性ペーストを含む。
【選択図】図1
特許請求の範囲
【請求項1】
開口と第1貫通孔が形成されたコア基板と、
前記開口内に充填され、第2貫通孔を有する磁性樹脂体と、
前記第1貫通孔に形成された第1スルーホール導体と、
前記第2貫通孔に形成された第2スルーホール導体と、を備える配線基板であって、
前記第2スルーホール導体は、前記第2貫通孔に充填されている導電性ペーストを含む。
続きを表示(約 530 文字)
【請求項2】
請求項1に記載の配線基板であって、
前記磁性樹脂体と前記導電性ペーストとが接触している。
【請求項3】
請求項1に記載の配線基板であって、
前記第1スルーホール導体は、前記第1貫通孔の内側面に形成されている金属膜を含む。
【請求項4】
請求項1に記載の配線基板であって、
前記第1スルーホール導体は、前記第1貫通孔に充填されている導電性ペーストを含む。
【請求項5】
請求項1に記載の配線基板であって、
前記コア基板は、コア絶縁層と、その表裏に積層されているコア導電層と、を有し、
前記第2スルーホール導体は、表裏の前記コア導電層の間を接続する。
【請求項6】
請求項1に記載の配線基板であって、
前記コア基板の表裏に絶縁層と導電層とが積層され、
前記第2スルーホール導体は、前記コア基板の表裏の前記絶縁層を貫通し、前記コア基板の表裏の前記導電層同士を接続する。
【請求項7】
請求項1に記載の配線基板であって、
1つの前記磁性樹脂体に複数の前記第2スルーホール導体が設けられている。
発明の詳細な説明
【技術分野】
【0001】
本開示は、コア基板に磁性樹脂体が配されている配線基板及びその製造方法に関する。
続きを表示(約 1,500 文字)
【背景技術】
【0002】
従来、この種の配線基板として、例えば、磁性樹脂体を貫通する貫通導体を有するものが知られている(例えば、特許文献1参照)。
【先行技術文献】
【特許文献】
【0003】
特開2020-178004号公報(段落[0014]及び図1)
【発明の概要】
【発明が解決しようとする課題】
【0004】
従来の配線基板に対して、磁性樹脂体の磁性の低下を抑制可能な技術の提供を目的にする。
【課題を解決するための手段】
【0005】
本開示の配線基板は、開口と第1貫通孔が形成されたコア基板と、前記開口内に充填され、第2貫通孔を有する磁性樹脂体と、前記第1貫通孔に形成された第1スルーホール導体と、前記第2貫通孔に形成された第2スルーホール導体と、を備える配線基板であって、前記第2スルーホール導体は、前記第2貫通孔に充填されている導電性ペーストを含む。
【図面の簡単な説明】
【0006】
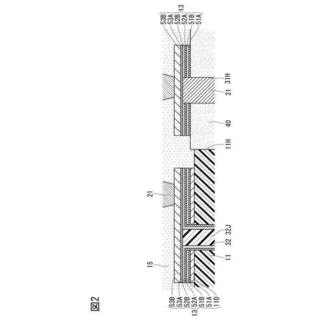
図1は、第1実施形態に係る配線基板の断面図
図2は、コア基板の拡大断面図
図3A~図3Cは、配線基板の製造方法を示す断面図
図4A~図4Cは、配線基板の製造方法を示す断面図
図5A~図5Cは、配線基板の製造方法を示す断面図
図6A,図6Bは、配線基板の製造方法を示す断面図
図7は、配線基板の製造方法を示す断面図
図8は、配線基板の製造方法を示す断面図
図9は、配線基板の製造方法を示す断面図
図10は、第2実施形態に係る配線基板の断面図
図11A,図11Bは、配線基板の製造方法を示す断面図
図12A,図12Bは、配線基板の製造方法を示す断面図
図13は、第3実施形態に係る配線基板の断面図
図14A~図14Dは、配線基板の製造方法を示す断面図
【発明を実施するための形態】
【0007】
[第1実施形態]
以下、図1~図9を参照して第1実施形態の配線基板10について説明する。図1に示されるように、配線基板10は、コア基板11と、その表裏の両面に積層される第1と第2のビルドアップ層12A,12Bとを有する。
【0008】
第1と第2のビルドアップ層12A,12Bは、絶縁層15と導電層20とが交互に積層され、絶縁層15にビア導体21が形成されている。また、第1と第2のビルドアップ層12A,12Bの上には、導電層20に含まれる複数のパッド18に対応して複数の開口部17Hを有するソルダーレジスト層17が積層されている。それら複数のパッド18上には、複数の半田バンプ19が備えられている。
【0009】
コア基板11は、例えば、コア絶縁層11Kと、その表裏の両面に積層されるコア導電層13とを備える。コア絶縁層11Kは、例えば、複数のプリプレグが積層される構造をなし、コア導電層13は、コア絶縁層11Kに積層される銅箔11Dにメッキ層が積層される構造をなしている。
【0010】
コア基板11には、コア絶縁層11Kを貫通し、表裏のコア導電層13同士を接続するスルーホール導体32が形成されている。詳細には、コア絶縁層11Kに円筒状のスルーホール32Hが形成されていて、このスルーホール32Hの内側面をスルーホール導体32が被覆している。また、スルーホール導体32の内部には樹脂32Jが充填されている。
(【0011】以降は省略されています)
この特許をJ-PlatPat(特許庁公式サイト)で参照する
関連特許
イビデン株式会社
配線基板
9日前
イビデン株式会社
配線基板
2日前
イビデン株式会社
配線基板
23日前
イビデン株式会社
配線基板
1か月前
イビデン株式会社
配線基板
1日前
イビデン株式会社
プリント配線板
21日前
イビデン株式会社
部品内蔵配線板
1か月前
イビデン株式会社
プリント配線板
29日前
イビデン株式会社
ハニカムフィルタ
8日前
イビデン株式会社
ハニカムフィルタ
3日前
イビデン株式会社
配線基板の製造方法
2日前
イビデン株式会社
配線基板の製造方法
2日前
イビデン株式会社
配線基板の製造方法
2日前
イビデン株式会社
配線基板の製造方法
7日前
イビデン株式会社
配線基板の製造方法
7日前
イビデン株式会社
配線基板の製造方法
7日前
イビデン株式会社
配線基板の製造方法
7日前
イビデン株式会社
配線基板の製造方法
7日前
イビデン株式会社
配線基板の製造方法
1か月前
イビデン株式会社
配線基板の製造方法
2日前
イビデン株式会社
配線基板及びその製造方法
11日前
イビデン株式会社
プリント配線板の製造方法
21日前
イビデン株式会社
マット材及び保持シール材
1日前
イビデン株式会社
配線基板及びその製造方法
11日前
イビデン株式会社
プリント配線板の製造方法
2日前
イビデン株式会社
プリント配線板の製造方法
2日前
イビデン株式会社
プリント配線板の製造方法
2日前
イビデン株式会社
光導波路及び導波路搭載基板
8日前
イビデン株式会社
熱伝達抑制シート及び組電池
7日前
イビデン株式会社
熱伝達抑制シート及び組電池
1か月前
イビデン株式会社
熱伝達抑制シート及び組電池
1か月前
イビデン株式会社
プリント配線板およびその製造方法
11日前
イビデン株式会社
配線基板および配線基板の製造方法
11日前
イビデン株式会社
ハニカム構造体及び直接空気回収装置
1か月前
イビデン株式会社
防炎シート及びその製造方法、並びに組電池
21日前
イビデン株式会社
防炎シート及びその製造方法、並びに組電池
21日前
続きを見る
他の特許を見る