TOP
|
特許
|
意匠
|
商標
特許ウォッチ
Twitter
他の特許を見る
公開番号
2025145944
公報種別
公開特許公報(A)
公開日
2025-10-03
出願番号
2024046469
出願日
2024-03-22
発明の名称
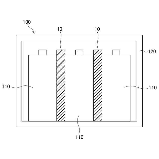
熱伝達抑制シート及び組電池
出願人
イビデン株式会社
代理人
弁理士法人栄光事務所
主分類
F16L
59/02 20060101AFI20250926BHJP(機械要素または単位;機械または装置の効果的機能を生じ維持するための一般的手段)
要約
【課題】粒子材料の保持能力が高く、圧縮特性にも優れ、対流伝熱の増加を防ぐことができ、断熱性能に優れた熱伝達抑制シート、及び該当熱伝達抑制シートを備え、安全性に優れた組電池を提供する。
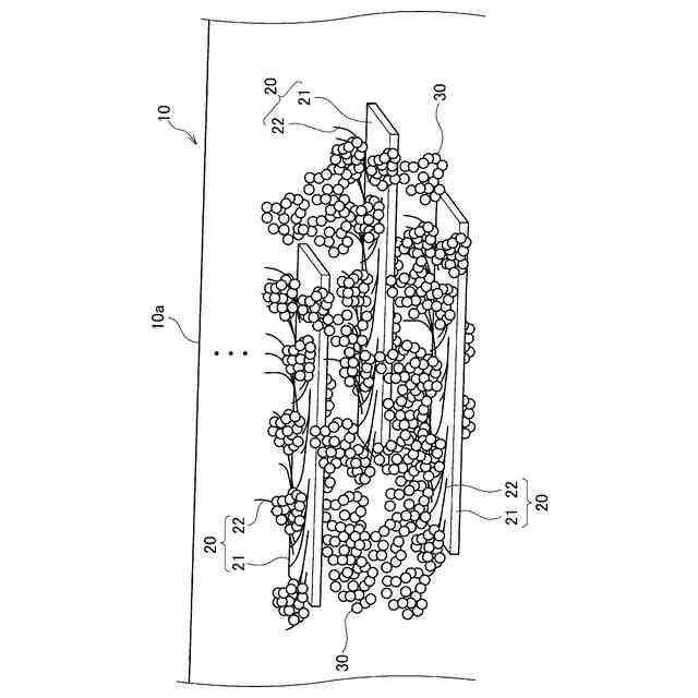
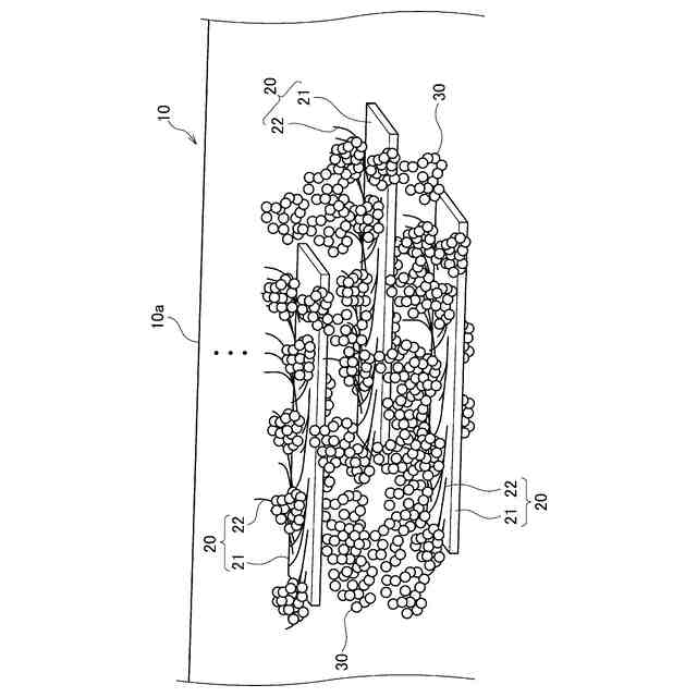
【解決手段】熱伝達抑制シート10は、無機粒子30と、幅広で、幅相当寸法が1μm~100μmである幹部21と、幹部21から分岐した枝部22とを有する第1の有機繊維20と、を含むとともに、第1の有機繊維20の幹部21が、該熱伝達抑制シート10の主面10aに沿って多層に配向している。また、組電池は、複数の電池セルと、該熱伝達抑制シート10とを有し、複数の電池セルが直列又は並列に接続されている。
【選択図】図1
特許請求の範囲
【請求項1】
無機粒子と、
幅広で、幅相当寸法が1μm~100μmである幹部と、前記幹部から分岐した枝部とを有する第1の有機繊維と、
を含むとともに、
前記第1の有機繊維の前記幹部が、該熱伝達抑制シートの主面に沿って多層に配向していることを特徴とする、熱伝達抑制シート。
続きを表示(約 710 文字)
【請求項2】
前記第1の有機繊維の前記枝部が、前記無機粒子を保持していることを特徴とする、請求項1に記載の熱伝達抑制シート。
【請求項3】
前記枝部は、縮れ状であることを特徴とする、請求項1に記載の熱伝達抑制シート。
【請求項4】
前記無機粒子として、シリカ粒子を該熱伝達抑制シートの全量の50質量%以上含むことを特徴とする、請求項1に記載の熱伝達抑制シート。
【請求項5】
前記第1の有機繊維は、叩解された繊維であることを特徴とする、請求項1に記載の熱伝達抑制シート。
【請求項6】
前記無機粒子として、チタニア、ジルコン、ジルコニア、炭化ケイ素、酸化亜鉛及びアルミナから選ばれる少なくとも1つの粒子を含むことを特徴とする、請求項1に記載の熱伝達抑制シート。
【請求項7】
さらに、無機繊維、第2の有機繊維及び有機バインダの少なくとも1つを含むことを特徴とする、請求項1に記載の熱伝達抑制シート。
【請求項8】
さらに、有機バインダを含む場合に、前記有機バインダのガラス転移点と、前記第1の有機繊維のガラス転移点との差が10℃以上であることを特徴とする、請求項1に記載の熱伝達抑制シート。
【請求項9】
さらに、前記幹部及び前記枝部を有しない、線状の繊維である第2の有機繊維を含むことを特徴とする、請求項1に記載の熱伝達抑制シート。
【請求項10】
複数の電池セルと、請求項1~9のいずれか1項に記載の熱伝達抑制シートとを有し、前記複数の電池セルが直列又は並列に接続された、組電池。
発明の詳細な説明
【技術分野】
【0001】
本発明は、熱伝達抑制シート、及び該熱伝達抑制シートを備える組電池に関する。
続きを表示(約 1,800 文字)
【背景技術】
【0002】
近年、環境保全のために、電気自動車などにリチウムイオン2次電池が用いられている。しかし、リチウムイオン2次電池は、有機電解液を使用しているために、熱暴走時に着火すると火炎が発生してバッテリーパックを損傷するおそれがある。
【0003】
その対策として、無機繊維や無機粒子などを含む断熱材や、複数種の層を積層して断熱効果や防炎効果を高めた熱伝達抑制シートが使用されている。例えば特許文献1では、電池パックのセル間に繊維シートとナノシリカを含むとともに、繊維シートを折り畳んだ構成の複合層を設け、異常な発熱が生じたときに高断熱によって隣接する電池セルへの伝熱を抑制する断熱材を提案している。
【先行技術文献】
【特許文献】
【0004】
特開2018-204708号公報
【発明の概要】
【発明が解決しようとする課題】
【0005】
断熱性能を高めるためには、ナノシリカの粒子数を増やすとともに、多数のナノシリカを良好に保持する必要がある。しかしながら、特許文献1の断熱材では、繊維シートは直線状の繊維が絡め合って構成され、繊維間にナノシリカが保持されているため、ナノシリカの保持性が必ずしも十分とはいえない。また、繊維同士が重なり合って空間が形成されやすいものの、この空間は、外部からの押圧力により容易に潰れるため、断熱材全体としての圧縮特性に劣り、更には内部での対流伝熱の増加を招くおそれがある。
また、組電池において断熱材は電池セル間に配設されるが、電池セルは通常の充電においても膨張するため、断熱材には常に押圧力が加わっており、電池の異常時には熱暴走を起こした電池セルから各段に大きな押圧力を瞬時に受け得るため、圧縮特性の低下を避けなければならない。
【0006】
そこで本発明は、粒子材料の保持能力が高く、圧縮特性にも優れ、対流伝熱の増加を防ぐことができ、断熱性能に優れた熱伝達抑制シート、及び該当熱伝達抑制シートを備え、安全性に優れた組電池を提供することを目的とする。
【課題を解決するための手段】
【0007】
本発明の上記目的は、熱伝達抑制シートに係る下記[1]の構成により達成される。
【0008】
[1] 無機粒子と、
幅広で、幅相当寸法が1μm~100μmである幹部と、前記幹部から分岐した枝部とを有する第1の有機繊維と、
を含むとともに、
前記第1の有機繊維の前記幹部が、該熱伝達抑制シートの主面に沿って多層に配向していることを特徴とする、熱伝達抑制シート。
【0009】
また、熱伝達抑制シートに係る本発明の好ましい実施形態は、以下の[2]~[9]に関する。
【0010】
[2] 前記第1の有機繊維の前記枝部が、前記無機粒子を保持していることを特徴とする、[1]に記載の熱伝達抑制シート。
[3] 前記枝部は、縮れ状であることを特徴とする、[1]又は[2]に記載の熱伝達抑制シート。
[4] 前記無機粒子として、シリカ粒子を該熱伝達抑制シートの全量の50質量%以上含むことを特徴とする、[1]~[3]のいずれか1つに記載の熱伝達抑制シート。
[5] 前記第1の有機繊維は、叩解された繊維であることを特徴とする、[1]~[4]のいずれか1つに記載の熱伝達抑制シート。
[6] 前記無機粒子として、チタニア、ジルコン、ジルコニア、炭化ケイ素、酸化亜鉛及びアルミナから選ばれる少なくとも1つの粒子を含むことを特徴とする、[1]~[5]のいずれか1つに記載の熱伝達抑制シート。
[7] さらに、無機繊維、第2の有機繊維及び有機バインダの少なくとも1つを含むことを特徴とする、[1]~[6]のいずれか1つに記載の熱伝達抑制シート。
[8] さらに、有機バインダを含む場合に、前記有機バインダのガラス転移点と、前記第1の有機繊維のガラス転移点との差が10℃以上であることを特徴とする、[1]~[7]のいずれか1つに記載の熱伝達抑制シート。
[9] さらに、前記幹部及び前記枝部を有しない、線状の繊維である第2の有機繊維を含むことを特徴とする、[1]~[8]のいずれか1つに記載の熱伝達抑制シート。
(【0011】以降は省略されています)
この特許をJ-PlatPat(特許庁公式サイト)で参照する
関連特許
イビデン株式会社
断熱材
4日前
イビデン株式会社
断熱材
4日前
イビデン株式会社
断熱材
4日前
イビデン株式会社
断熱材
4日前
イビデン株式会社
配線基板
27日前
イビデン株式会社
配線基板
1か月前
イビデン株式会社
配線基板
13日前
イビデン株式会社
配線基板
6日前
イビデン株式会社
配線基板
5日前
イビデン株式会社
プリント配線板
25日前
イビデン株式会社
部品内蔵配線板
1か月前
イビデン株式会社
プリント配線板
1か月前
イビデン株式会社
ハニカムフィルタ
7日前
イビデン株式会社
ハニカムフィルタ
12日前
イビデン株式会社
配線基板の製造方法
11日前
イビデン株式会社
配線基板の製造方法
11日前
イビデン株式会社
配線基板の製造方法
11日前
イビデン株式会社
配線基板の製造方法
11日前
イビデン株式会社
配線基板の製造方法
11日前
イビデン株式会社
配線基板の製造方法
6日前
イビデン株式会社
配線基板の製造方法
6日前
イビデン株式会社
配線基板の製造方法
6日前
イビデン株式会社
配線基板の製造方法
6日前
イビデン株式会社
プリント配線板の製造方法
6日前
イビデン株式会社
プリント配線板の製造方法
6日前
イビデン株式会社
プリント配線板の製造方法
25日前
イビデン株式会社
マット材及び保持シール材
5日前
イビデン株式会社
配線基板及びその製造方法
15日前
イビデン株式会社
配線基板及びその製造方法
15日前
イビデン株式会社
プリント配線板の製造方法
6日前
イビデン株式会社
熱伝達抑制シート及び組電池
11日前
イビデン株式会社
熱伝達抑制シート及び組電池
1か月前
イビデン株式会社
光導波路及び導波路搭載基板
12日前
イビデン株式会社
熱伝達抑制シート及び組電池
1か月前
イビデン株式会社
熱伝達抑制シート及び組電池
4日前
イビデン株式会社
配線基板および配線基板の製造方法
今日
続きを見る
他の特許を見る