TOP
|
特許
|
意匠
|
商標
特許ウォッチ
Twitter
他の特許を見る
10個以上の画像は省略されています。
公開番号
2025145343
公報種別
公開特許公報(A)
公開日
2025-10-03
出願番号
2024045462
出願日
2024-03-21
発明の名称
配線基板の製造方法
出願人
イビデン株式会社
代理人
弁理士法人朝日奈特許事務所
主分類
H05K
3/40 20060101AFI20250926BHJP(他に分類されない電気技術)
要約
【課題】同一の径を有すべき複数のビア導体における径のばらつきが比較的小さい、高品質の配線基板の提供。
【解決手段】実施形態の配線基板の製造方法は、樹脂絶縁層11を形成することと、樹脂絶縁層11にレーザー光を照射することにより、複数の貫通孔を形成することと、樹脂絶縁層11の表面及び複数の貫通孔の内壁面をエッチングすることと、複数の貫通孔13b内に導体を充填することによりビア導体13を形成することと、を含んでいる。複数の貫通孔の形成は、複数の貫通孔における最も小さい径を有する貫通孔の径の、最も大きい径を有する貫通孔の径に対する比が、60%以上、且つ、85%以下であるようにすることを含み、内壁面のエッチングは、ドライエッチングにより、複数の貫通孔における最も小さい径を有する貫通孔13bの径の、最も大きい径を有する貫通孔13bの径に対する比が、ドライエッチング前の比より5%以上大きくなるようにすることを含む。
【選択図】図1
特許請求の範囲
【請求項1】
樹脂絶縁層を形成することと、
前記樹脂絶縁層にレーザー光を照射することにより、複数の貫通孔を形成することと、
前記樹脂絶縁層の表面及び前記複数の貫通孔の内壁面をエッチングすることと、
前記複数の貫通孔内に導体を充填することによりビア導体を形成することと、
を含む、配線基板の製造方法であって、
前記複数の貫通孔を形成することは、前記複数の貫通孔における最も小さい径を有する貫通孔の径の、前記複数の貫通孔における最も大きい径を有する貫通孔の径に対する比が、60%以上、且つ、85%以下であるようにすることを含み、
前記内壁面をエッチングすることは、ドライエッチングにより、前記複数の貫通孔における最も小さい径を有する貫通孔の径の、前記複数の貫通孔における最も大きい径を有する貫通孔の径に対する比が、前記ドライエッチング前の前記比より5%以上大きくなるようにすることを含む。
続きを表示(約 250 文字)
【請求項2】
請求項1記載の配線基板の製造方法であって、前記エッチング後の、前記複数の貫通孔における最も大きい径を有する貫通孔の径は、12.5μm以下である。
【請求項3】
請求項1記載の配線基板の製造方法であって、前記樹脂絶縁層はフィラーを含んでいる。
【請求項4】
請求項1記載の配線基板の製造方法であって、前記レーザー光は紫外線レーザー光である。
【請求項5】
請求項1記載の配線基板の製造方法であって、前記ドライエッチングはプラズマ処理を含む。
発明の詳細な説明
【技術分野】
【0001】
本発明は配線基板の製造方法に関する。
続きを表示(約 2,000 文字)
【背景技術】
【0002】
特許文献1には、配線板の製造方法が開示されている。特許文献1に開示されている配線板の製造方法においては、絶縁層に対するレーザー光の照射により、絶縁層を貫通する複数のビア形成孔が形成される。ビア形成孔内にはビア導体が形成される。
【先行技術文献】
【特許文献】
【0003】
特開2016-58472号公報
【発明の概要】
【発明が解決しようとする課題】
【0004】
特許文献1の配線板の製造方法においては、形成されるビア導体の寸法のばらつきが比較的大きい場合があると考えられる。
【課題を解決するための手段】
【0005】
本発明の配線基板の製造方法は、樹脂絶縁層を形成することと、前記樹脂絶縁層にレーザー光を照射することにより、複数の貫通孔を形成することと、前記樹脂絶縁層の表面及び前記複数の貫通孔の内壁面をエッチングすることと、前記複数の貫通孔内に導体を充填することによりビア導体を形成することと、を含んでいる。前記複数の貫通孔を形成することは、前記複数の貫通孔における最も小さい径を有する貫通孔の径の、前記複数の貫通孔における最も大きい径を有する貫通孔の径に対する比が、60%以上、且つ、85%以下であるようにすることを含み、前記内壁面をエッチングすることは、ドライエッチングにより、前記複数の貫通孔における最も小さい径を有する貫通孔の径の、前記複数の貫通孔における最も大きい径を有する貫通孔の径に対する比が、前記ドライエッチング前の前記比より5%以上大きくなるようにすることを含む。
【0006】
本発明の実施形態によれば、同一の径を有すべき複数のビア導体における径のばらつきが比較的小さい、高品質の配線基板が提供され得る。
【図面の簡単な説明】
【0007】
本発明の一実施形態の方法により製造される配線基板の一例を示す断面図である。
図1に示される配線基板の製造方法の一例を示す図である。
図1に示される配線基板の製造方法の一例を示す図である。
図1に示される配線基板の製造方法の一例を示す図である。
図1に示される配線基板の製造方法の一例を示す図である。
図1に示される配線基板の製造方法の一例を示す図である。
図1に示される配線基板の製造方法の一例を示す図である。
図1に示される配線基板の製造方法の一例を示す図である。
図1に示される配線基板の製造方法の一例を示す図である。
【発明を実施するための形態】
【0008】
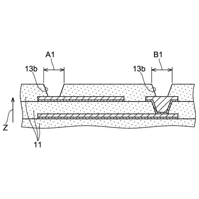
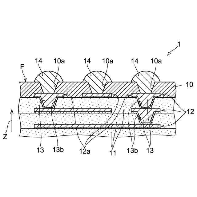
次に、図面を参照しながら本発明の一実施形態である配線基板の製造方法について説明する。なお、以下、参照される図面においては、各構成要素の正確な比率を示すことは意図されておらず、本発明の特徴が理解され易いように描かれている。図1には、実施形態の製造方法により製造される配線基板の一例である配線基板1の断面が部分的に示されている。配線基板1は、交互に積層される絶縁層及び導体層で形成されており、図1にはその一部の樹脂絶縁層11及び導体層12が図示されている。図示される配線基板1の片方の面は、半導体素子などの外部の電子部品が搭載される部品搭載面Fとして形成されている。また、以下の説明においては、配線基板1を構成する各要素において、配線基板1の部品搭載面Fが形成される側を「上」、「上側」、「外側」、又は単に「外」とも称する。図1に示される、配線基板1の部品搭載面Fは、被覆絶縁層10、及び、被覆絶縁層10の開口10a内を充填するとともに被覆絶縁層10から突出する形状のバンプ14の表面から構成されている。
【0009】
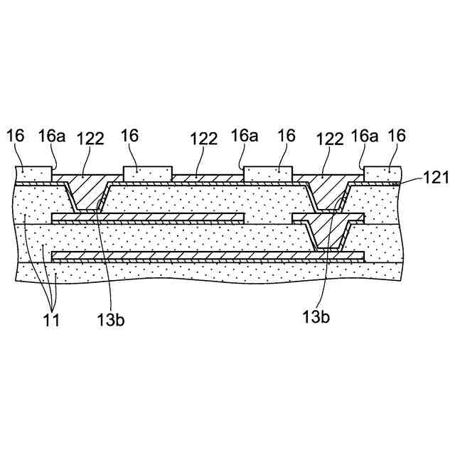
図1では、配線基板1が有する複数の樹脂絶縁層11及び導体層12のうち、部品搭載面F側の3層が図示されている。配線基板1は、1又は2層以上の樹脂絶縁層11、及び、1又は2層以上の導体層12を有しており、配線基板1が有する樹脂絶縁層11及び導体層12の層数は特に限定されず、適宜増減され得る。
【0010】
樹脂絶縁層11は、設計上同一の径を有する、複数のビア導体13を含んでいる。図示される例では、3層の樹脂絶縁層11のうち最上層の樹脂絶縁層11に形成されている2個のビア導体13が、設計上同一の径を有する、複数のビア導体13である。樹脂絶縁層11は、図1に例示される構成に限定されない。例えば、樹脂絶縁層11は、3個以上のビア導体13を含んでもよい。また、設計上同一の径を有する、複数のビア導体13を含む樹脂絶縁層11は、任意の樹脂絶縁層11であり得る。樹脂絶縁層11は、設計上異なる径を有する、ビア導体13を含み得る。
(【0011】以降は省略されています)
この特許をJ-PlatPat(特許庁公式サイト)で参照する
関連特許
イビデン株式会社
配線基板
1か月前
イビデン株式会社
配線基板
5日前
イビデン株式会社
配線基板
1か月前
イビデン株式会社
配線基板
1か月前
イビデン株式会社
配線基板
19日前
イビデン株式会社
部品内蔵配線板
26日前
イビデン株式会社
プリント配線板
25日前
イビデン株式会社
プリント配線板
17日前
イビデン株式会社
プリント配線板
2か月前
イビデン株式会社
プリント配線板
3か月前
イビデン株式会社
ハニカムフィルタ
4日前
イビデン株式会社
配線基板の製造方法
3日前
イビデン株式会社
配線基板の製造方法
3日前
イビデン株式会社
配線基板の製造方法
3か月前
イビデン株式会社
配線基板の製造方法
1か月前
イビデン株式会社
配線基板の製造方法
3日前
イビデン株式会社
配線基板の製造方法
1か月前
イビデン株式会社
配線基板の製造方法
3日前
イビデン株式会社
配線基板の製造方法
3日前
イビデン株式会社
配線基板及びその製造方法
2か月前
イビデン株式会社
配線基板及びその製造方法
7日前
イビデン株式会社
配線基板及びその製造方法
7日前
イビデン株式会社
配線基板及びその製造方法
2か月前
イビデン株式会社
プリント配線板の製造方法
17日前
イビデン株式会社
熱伝達抑制シート及び組電池
27日前
イビデン株式会社
光導波路及び導波路搭載基板
4日前
イビデン株式会社
熱伝達抑制シート及び組電池
3日前
イビデン株式会社
部品内蔵配線基板の製造方法
1か月前
イビデン株式会社
熱伝達抑制シート及び組電池
1か月前
イビデン株式会社
高純度炭化ケイ素粉末の製造方法
3か月前
イビデン株式会社
配線基板及び配線基板の製造方法
3か月前
イビデン株式会社
配線基板および配線基板の製造方法
7日前
イビデン株式会社
プリント配線板およびその製造方法
7日前
イビデン株式会社
ハニカム構造体及び直接空気回収装置
27日前
イビデン株式会社
部品内蔵基板及び部品内蔵基板の製造方法
1か月前
イビデン株式会社
配線基板用の無人搬送車および無人搬送方法
2か月前
続きを見る
他の特許を見る