TOP
|
特許
|
意匠
|
商標
特許ウォッチ
Twitter
他の特許を見る
公開番号
2025139760
公報種別
公開特許公報(A)
公開日
2025-09-29
出願番号
2024038774
出願日
2024-03-13
発明の名称
プリント配線板およびその製造方法
出願人
イビデン株式会社
代理人
弁理士法人銀座マロニエ特許事務所
主分類
H05K
1/11 20060101AFI20250919BHJP(他に分類されない電気技術)
要約
【課題】製造工程の工程数を少なくでき、かつ、十分な接続信頼性を得ることができる、スルーホール導体を有するプリント配線板およびその製造方法を提供する。
【解決手段】本発明に係るプリント配線板は、基板と、基板を貫通して形成されたスルーホールと、スルーホール内に充填された導電性ペーストと、導電性ペーストの両端に形成されためっき膜と、を含み、導電性ペーストがスルーホール内に直接充填されるとともに、導電性ペーストの両端に凹みが形成されており、この凹みにめっき膜が形成されている。
【選択図】図1
特許請求の範囲
【請求項1】
プリント配線板であって、
基板と、
前記基板を貫通して形成されたスルーホールと、
前記スルーホール内に充填された導電性ペーストと、
前記導電性ペーストの両端に形成されためっき膜と、を含み、
前記導電性ペーストが前記スルーホール内に直接充填されるとともに、前記導電性ペーストの両端に凹みが形成されており、この凹みに前記めっき膜が形成されている。
続きを表示(約 380 文字)
【請求項2】
請求項1に記載のプリント配線板であって、前記めっき膜が、無電解銅めっきとその上の電解銅めっきとから形成されている。
【請求項3】
プリント配線板の製造方法であって、
銅張積層板にスルーホールを形成することと、
前記スルーホールを形成した銅張積層板をゴム製支持フィルム上に載置することと、
スキージを、前記ゴム製支持フィルム上に載置した銅張積層板に押し付けながら移動させることで、前記スルーホール内にゴム製支持フィルムが入り込んだ状態で、導電性ペーストを充填させ、両端に凹みを有する導電性ペーストを前記スルーホール内に充填することと、
前記ゴム製支持フィルムを除去することと、
前記銅張積層板の銅箔上および前記導電性ペーストの前記凹み内に、めっき膜を形成することと、を含む。
発明の詳細な説明
【技術分野】
【0001】
本発明は、導電性ペーストを含むスルーホール導体を有するプリント配線板およびその製造方法に関する。
続きを表示(約 1,800 文字)
【背景技術】
【0002】
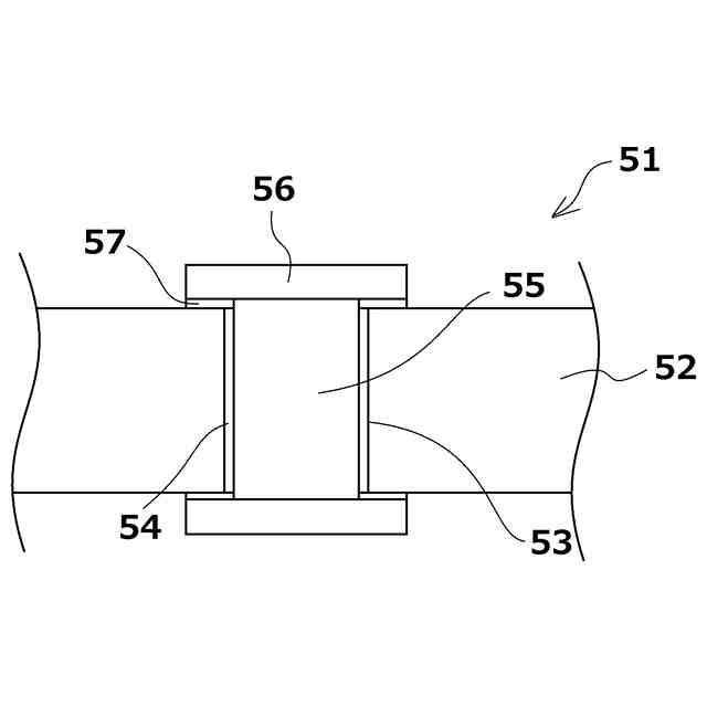
従来、導電性ペーストを含むスルーホール導体を有するプリント配線板は、種々の形状のものが知られている(例えば、特許文献1)。図3は、特許文献1で開示されたプリント配線板の一実施形態を説明するための図である。
【0003】
図3において、プリント配線板51は、基板52に、基板52を貫通して設けられたスルーホール53が形成されている。スルーホール53の内壁には筒状の銅めっき膜54が形成されている。筒状の銅めっき膜54内には導電性ペースト55が充填されている。導電性ペースト55の両端は平坦であり、それらの上に無電解銅めっき+電解銅めっきからなる銅めっき膜56が形成されている。なお、57は銅めっき膜56と基板52との間に形成されるシード層である。
【先行技術文献】
【特許文献】
【0004】
特開2007-251190号公報
【発明の概要】
【発明が解決しようとする課題】
【0005】
特許文献1に開示された技術では、図3に示すように、スルーホール53の内壁上に銅めっき膜54が形成されている。そのため、製造工程の工程数が多くなっていた。また、図3に示すように、導電性ペースト55の両端が平坦であるため、その上に形成される銅めっき膜56と導電性ペースト55との接続信頼性が十分でない場合があった。
【課題を解決するための手段】
【0006】
本発明に係るプリント配線板は、基板と、前記基板を貫通して形成されたスルーホールと、前記スルーホール内に充填された導電性ペーストと、前記導電性ペーストの両端に形成されためっき膜と、を含み、前記導電性ペーストが前記スルーホール内に直接充填されるとともに、前記導電性ペーストの両端に凹みが形成されており、この凹みに前記めっき膜が形成されている。
【0007】
本発明に係るプリント配線板の製造方法は、銅張積層板にスルーホールを形成することと、前記スルーホールを形成した銅張積層板をゴム製支持フィルム上に載置することと、スキージを、前記ゴム製支持フィルム上に載置した銅張積層板に押し付けながら移動させることで、前記スルーホール内にゴム製支持フィルムが入り込んだ状態で、導電性ペーストを充填させ、両端に凹みを有する導電性ペーストを前記スルーホール内に充填することと、前記ゴム製支持フィルムを除去することと、前記銅張積層板の銅箔上および前記導電性ペーストの前記凹み内に、めっき膜を形成することと、を含む。
【図面の簡単な説明】
【0008】
本発明に係るプリント配線板の一実施形態を説明するための図である。
本発明に係るプリント配線板の製造方法の一実施形態を説明するための図である。
本発明に係るプリント配線板の製造方法の一実施形態を説明するための図である。
本発明に係るプリント配線板の製造方法の一実施形態を説明するための図である。
本発明に係るプリント配線板の製造方法の一実施形態を説明するための図である。
本発明に係るプリント配線板の製造方法の一実施形態を説明するための図である。
本発明に係るプリント配線板の製造方法の一実施形態を説明するための図である。
従来のプリント配線板の一実施形態を説明するための図である。
【発明を実施するための形態】
【0009】
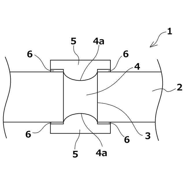
<本発明に係るプリント配線板について>
本発明に係るプリント配線板の一実施形態が、図面を参照して説明される。なお、図1に示す例において、各部材の寸法、特に高さ方向の寸法については、本発明の特徴をより良く理解できるようにするために、実際の寸法とは異なる寸法で記載している。
【0010】
図1は、本発明に係るプリント配線板における配線導体の一実施形態を説明するための図である。図1に示す例において、本発明のプリント配線板1は、基板2に、基板2を貫通して設けられたスルーホール3が形成されている。スルーホール3内には導電性ペースト4が充填されている。導電性ペースト4の両端上に無電解めっき+電解めっきからなるめっき膜5が形成されている。なお、6はめっき膜5と基板2との間に形成されるシード層である。
(【0011】以降は省略されています)
この特許をJ-PlatPat(特許庁公式サイト)で参照する
関連特許
イビデン株式会社
配線基板
4日前
イビデン株式会社
配線基板
1か月前
イビデン株式会社
配線基板
1か月前
イビデン株式会社
配線基板
1か月前
イビデン株式会社
配線基板
18日前
イビデン株式会社
プリント配線板
2か月前
イビデン株式会社
プリント配線板
24日前
イビデン株式会社
プリント配線板
16日前
イビデン株式会社
部品内蔵配線板
25日前
イビデン株式会社
ハニカムフィルタ
3日前
イビデン株式会社
配線基板の製造方法
2日前
イビデン株式会社
配線基板の製造方法
2日前
イビデン株式会社
配線基板の製造方法
1か月前
イビデン株式会社
配線基板の製造方法
1か月前
イビデン株式会社
配線基板の製造方法
2日前
イビデン株式会社
配線基板の製造方法
2日前
イビデン株式会社
配線基板の製造方法
2日前
イビデン株式会社
プリント配線板の製造方法
16日前
イビデン株式会社
配線基板及びその製造方法
1か月前
イビデン株式会社
配線基板及びその製造方法
6日前
イビデン株式会社
配線基板及びその製造方法
6日前
イビデン株式会社
熱伝達抑制シート及び組電池
1か月前
イビデン株式会社
部品内蔵配線基板の製造方法
1か月前
イビデン株式会社
熱伝達抑制シート及び組電池
2日前
イビデン株式会社
熱伝達抑制シート及び組電池
26日前
イビデン株式会社
光導波路及び導波路搭載基板
3日前
イビデン株式会社
プリント配線板およびその製造方法
6日前
イビデン株式会社
配線基板および配線基板の製造方法
6日前
イビデン株式会社
ハニカム構造体及び直接空気回収装置
26日前
イビデン株式会社
部品内蔵基板及び部品内蔵基板の製造方法
1か月前
イビデン株式会社
配線基板用の無人搬送車および無人搬送方法
2か月前
イビデン株式会社
防炎シート及びその製造方法、並びに組電池
16日前
イビデン株式会社
防炎シート及びその製造方法、並びに組電池
16日前
イビデン株式会社
防炎シート及びその製造方法、並びに組電池
16日前
イビデン株式会社
部品内蔵配線板及び部品内蔵配線板の製造方法
2か月前
イビデン株式会社
熱伝達抑制シート及びその製造方法、並びに組電池
1か月前
続きを見る
他の特許を見る