TOP
|
特許
|
意匠
|
商標
特許ウォッチ
Twitter
他の特許を見る
公開番号
2025151820
公報種別
公開特許公報(A)
公開日
2025-10-09
出願番号
2024053411
出願日
2024-03-28
発明の名称
マット材及び保持シール材
出願人
イビデン株式会社
代理人
弁理士法人WisePlus
主分類
F01N
3/28 20060101AFI20251002BHJP(機械または機関一般;機関設備一般;蒸気機関)
要約
【課題】排ガス処理体への巻き付けの際に、マット材が破断してしまう問題に対し、高い引張強度を有するマット材を提供する。
【解決手段】無機繊維からなり前記無機繊維の配向方向が揃っている配向層30と、無機繊維からなり前記無機繊維の配向方向がランダムであるランダム層40と、をそれぞれ少なくとも1層含む積層マット20を備える。また、前記積層マットは、排ガス処理体への巻き付けにおいて、摩擦力を高くするためのバインダを含む、マット材10である。
【選択図】図1
特許請求の範囲
【請求項1】
無機繊維からなり前記無機繊維の配向方向が揃っている配向層と、無機繊維からなり前記無機繊維の配向方向がランダムであるランダム層と、をそれぞれ少なくとも1層含む積層マットを備え、
前記積層マットはバインダを含む、マット材。
続きを表示(約 800 文字)
【請求項2】
前記配向層と前記ランダム層が厚さ方向に交互に積層されており、前記積層マットの2つの最外層にはいずれも前記ランダム層が配置されている、請求項1に記載のマット材。
【請求項3】
前記バインダは、有機バインダ及び無機バインダの少なくとも1つである請求項1又は2に記載のマット材。
【請求項4】
前記積層マットを厚さ方向に第1の表面部、中央部、第2の表面部に三等分した際に、前記第1の表面部の最外層に前記ランダム層が配置され、
前記第1の表面部における前記バインダの含有量が、前記中央部における前記バインダの含有量よりも多く、かつ、前記第2の表面部における前記バインダの含有量よりも多い、請求項1又は2に記載のマット材。
【請求項5】
前記バインダの含有量が以下の関係を満たす、請求項4に記載のマット材。
0.4≦(中央部/第1の表面部)
0.2≦(第2の表面部/第1の表面部)
(第2の表面部/中央部)≦0.5
【請求項6】
前記バインダの含有量がさらに以下の関係を満たす、請求項5に記載のマット材。
0<(第2の表面部/中央部)
【請求項7】
前記配向層の無機繊維は、マット材の幅方向に対し60~90度の傾きを有する無機繊維を70%以上含む、請求項1又は2に記載のマット材。
【請求項8】
引張試験により測定した破断時引張強度が200kPa以上である、請求項1又は2に記載のマット材。
【請求項9】
引張試験により測定した破断時伸び量が3.5mm以下である、請求項8に記載のマット材。
【請求項10】
請求項1又は2に記載のマット材からなり、排ガス浄化装置内において排ガス処理体の保持に使用される保持シール材。
発明の詳細な説明
【技術分野】
【0001】
本発明は、マット材及び保持シール材に関する。
続きを表示(約 1,500 文字)
【背景技術】
【0002】
ディーゼルエンジン等の内燃機関から排出される排ガス中には、パティキュレートマター(以下、PMともいう)が含まれており、近年、このPMが環境や人体に害を及ぼすことが問題となっている。また、排ガス中には、COやHC、NOx等の有害なガス成分も含まれていることから、この有害なガス成分が環境や人体に及ぼす影響についても懸念されている。
【0003】
そこで、排ガス中のPMを捕集したり、有害なガス成分を浄化したりする排ガス浄化装置として、炭化ケイ素やコージェライトなどの多孔質セラミックからなる排ガス処理体と、排ガス処理体を収容する金属ケーシングと、排ガス処理体と金属ケーシングとの間に配設される保持シール材(マット材)とから構成される排ガス浄化装置が種々提案されている。この保持シール材(マット材)は、自動車の走行等により生じる振動や衝撃により、排ガス処理体がその外周を覆う金属ケーシングと接触して破損するのを防止することや、排ガス処理体と金属ケーシングとの間から排ガスが漏れることを防止すること等を主な目的として配設されている。
【0004】
このような用途に使用されるマット材として、特許文献1には、表面が結合剤層で覆われた無機繊維を含む所定の厚さのマットからなる保持シール材であって、前記結合剤層は有機結合剤及び無機結合剤を含んでおり、前記マットを厚さ方向に第一の表面部、中央部、第二の表面部に三等分した際、前記第一の表面部における有機結合剤の添着量が前記中央部における有機結合剤の添着量よりも多く、かつ、前記第二の表面部における有機結合剤の添着量よりも多いことを特徴とする保持シール材が開示されている。
【先行技術文献】
【特許文献】
【0005】
特開2015-63925号公報
【発明の概要】
【発明が解決しようとする課題】
【0006】
排ガス処理体への巻き付けの際に、マット材に対して引張荷重を加えながら巻き付け作業を行うことがある。このような作業においてマット材の引張強度が低いと、引張荷重によってマット材が破断してしまうことがあり、問題となっていた。
特許文献1に記載のマット材も引張強度が不足しており、マット材の引張強度を向上させることが望まれていた。
【0007】
本発明は、上記のような問題を鑑みてなされたものであり、高い引張強度を有するマット材を提供することを目的とする。
【課題を解決するための手段】
【0008】
本発明のマット材は、無機繊維からなり前記無機繊維の配向方向が揃っている配向層と、無機繊維からなり前記無機繊維の配向方向がランダムであるランダム層と、をそれぞれ少なくとも1層含む積層マットを備え、
前記積層マットはバインダを含む、マット材である。
【0009】
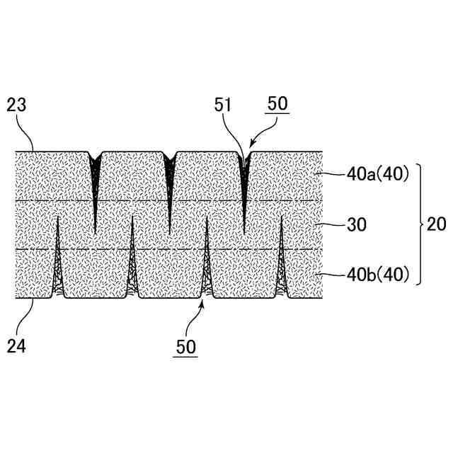
本発明のマット材を構成する積層マットは配向層とランダム層を備える。配向層が存在することで伸びにくく高い引張強度を有するマット材とすることができる。
また、ランダム層にはバインダが含浸されやすい。マット材にバインダを含ませることでマット材の表面の摩擦力を高めることができる。
【0010】
本発明のマット材は、前記配向層と前記ランダム層が厚さ方向に交互に積層されており、前記積層マットの2つの最外層にはいずれも前記ランダム層が配置されていることが好ましい。
(【0011】以降は省略されています)
この特許をJ-PlatPat(特許庁公式サイト)で参照する
関連特許
イビデン株式会社
断熱材
今日
イビデン株式会社
断熱材
今日
イビデン株式会社
断熱材
今日
イビデン株式会社
断熱材
今日
イビデン株式会社
配線基板
23日前
イビデン株式会社
配線基板
1日前
イビデン株式会社
配線基板
2日前
イビデン株式会社
配線基板
1か月前
イビデン株式会社
配線基板
9日前
イビデン株式会社
プリント配線板
21日前
イビデン株式会社
部品内蔵配線板
1か月前
イビデン株式会社
プリント配線板
29日前
イビデン株式会社
ハニカムフィルタ
3日前
イビデン株式会社
ハニカムフィルタ
8日前
イビデン株式会社
配線基板の製造方法
7日前
イビデン株式会社
配線基板の製造方法
7日前
イビデン株式会社
配線基板の製造方法
7日前
イビデン株式会社
配線基板の製造方法
7日前
イビデン株式会社
配線基板の製造方法
7日前
イビデン株式会社
配線基板の製造方法
1か月前
イビデン株式会社
配線基板の製造方法
1か月前
イビデン株式会社
配線基板の製造方法
2日前
イビデン株式会社
配線基板の製造方法
2日前
イビデン株式会社
配線基板の製造方法
2日前
イビデン株式会社
配線基板の製造方法
2日前
イビデン株式会社
プリント配線板の製造方法
2日前
イビデン株式会社
プリント配線板の製造方法
21日前
イビデン株式会社
配線基板及びその製造方法
11日前
イビデン株式会社
配線基板及びその製造方法
11日前
イビデン株式会社
プリント配線板の製造方法
2日前
イビデン株式会社
マット材及び保持シール材
1日前
イビデン株式会社
プリント配線板の製造方法
2日前
イビデン株式会社
熱伝達抑制シート及び組電池
1か月前
イビデン株式会社
熱伝達抑制シート及び組電池
7日前
イビデン株式会社
熱伝達抑制シート及び組電池
今日
イビデン株式会社
熱伝達抑制シート及び組電池
1か月前
続きを見る
他の特許を見る