TOP
|
特許
|
意匠
|
商標
特許ウォッチ
Twitter
他の特許を見る
10個以上の画像は省略されています。
公開番号
2025145378
公報種別
公開特許公報(A)
公開日
2025-10-03
出願番号
2024045523
出願日
2024-03-21
発明の名称
配線基板の製造方法
出願人
イビデン株式会社
代理人
弁理士法人朝日奈特許事務所
主分類
H05K
3/46 20060101AFI20250926BHJP(他に分類されない電気技術)
要約
【課題】配線基板の製造における歩留まりの向上
【解決手段】実施形態の配線基板の製造方法は、第1ビルドアップ部10および第2ビルドアップ部20を形成することを含んでいる。第1ビルドアップ部10の形成は、支持基板SP上に第1絶縁層11を積層し、第1ビア導体13と第1導体層12の形成を含み、第2ビルドアップ部20を形成は、第1ビルドアップ部10上に第2絶縁層21を積層し、第2ビア導体23と第2導体層22の形成を含み、第1導体層12および第2導体層22は、第1導体層12の配線幅および配線間隔の最小値が第2導体層22の配線幅および配線間隔の最小値よりも小さく形成され、第1ビア導体13の形成は、フォトリソグラフィ加工により感光性絶縁樹脂を含む第1絶縁層11に第1貫通孔11aの形成を含む。
【選択図】図2O
特許請求の範囲
【請求項1】
1または複数の製品エリアを備える支持基板上に第1ビルドアップ部を形成することと、
前記第1ビルドアップ部の前記支持基板と反対側に第2ビルドアップ部を形成することと、
を含む配線基板の製造方法であって、
前記第1ビルドアップ部を形成することは、前記支持基板上の前記1または複数の製品エリアに亘って第1絶縁層を積層し、前記第1絶縁層を貫通する第1ビア導体と前記第1絶縁層上の第1導体層とを形成することを含み、
前記第2ビルドアップ部を形成することは、前記第1ビルドアップ部上に第2絶縁層を積層し、前記第2絶縁層を貫通する第2ビア導体と前記第2絶縁層上の第2導体層とを形成することを含み、
前記第1導体層および前記第2導体層は、前記第1導体層に含まれる配線における配線幅の最小値が前記第2導体層に含まれる配線における配線幅の最小値より小さく、前記第1導体層に含まれる配線における配線間隔の最小値が前記第2導体層に含まれる配線における配線間隔の最小値よりも小さいように形成され、
前記第1絶縁層は感光性絶縁樹脂を含み、
前記第1ビア導体を形成することは、フォトリソグラフィ加工により前記第1絶縁層に第1貫通孔を形成することを含んでいる。
続きを表示(約 900 文字)
【請求項2】
請求項1記載の配線基板の製造方法であって、前記第2ビルドアップ部を形成することは、前記第1ビルドアップ部の前記支持基板と反対側の表面を、前記第2絶縁層によって直接被覆することを含んでいる。
【請求項3】
請求項1記載の配線基板の製造方法であって、前記第2絶縁層は熱硬化性絶縁樹脂材料を含み、前記第2ビア導体を形成することは、レーザー加工またはドリル加工により前記第2絶縁層に第2貫通孔を形成することを含んでいる。
【請求項4】
請求項1記載の配線基板の製造方法であって、前記第1ビア導体および前記第2ビア導体は、前記第2ビア導体の径よりも前記第1ビア導体の径が小さいように形成される。
【請求項5】
請求項4記載の配線基板の製造方法であって、前記第1貫通孔は、12.5μm以下の径を有するように形成される。
【請求項6】
請求項1記載の配線基板の製造方法であって、前記第1導体層を形成することは、ダイレクトイメージング露光によって第1レジストパターンを有する第1レジスト層を形成し、前記第1レジストパターンに従う導体パターンを形成することを含む。
【請求項7】
請求項6記載の配線基板の製造方法であって、前記第2導体層を形成することは、フォトマスクを使用する露光によって、第2レジストパターンを有する第2レジスト層を形成し、前記第2レジストパターンに従う導体パターンを形成することを含む。
【請求項8】
請求項1記載の配線基板の製造方法であって、各前記製品エリアの形状は、平面視において各辺の寸法が80mm以上、且つ、240mm以下の矩形である。
【請求項9】
請求項1記載の配線基板の製造方法であって、前記支持基板の表面の平面度は、±2.5μm以下である。
【請求項10】
請求項1記載の配線基板の製造方法であって、前記支持基板が、ガラス基板、シリコン基板、メタル基板、セラミックス基板のいずれかから選ばれる。
(【請求項11】以降は省略されています)
発明の詳細な説明
【技術分野】
【0001】
本発明は配線基板の製造方法に関する。
続きを表示(約 2,700 文字)
【背景技術】
【0002】
特許文献1には、第二配線基板と第一配線基板とを備える配線基板の製造方法が開示されている。第二配線基板は第一配線基板と別に製造され、第一配線基板と第二配線基板とが接合される。
【先行技術文献】
【特許文献】
【0003】
特開2020-4926号公報
【発明の概要】
【発明が解決しようとする課題】
【0004】
特許文献1に開示の配線基板の製造方法では、第一配線基板と第二配線基板とはバンプを介して接合される必要があり、第一配線基板と第二配線基板との間には絶縁樹脂が充填される必要がある。配線基板製造における歩留まりが低くなる虞があると考えられる。
【課題を解決するための手段】
【0005】
本発明の配線基板の製造方法は、1または複数の製品エリアを備える支持基板上に第1ビルドアップ部を形成することと、前記第1ビルドアップ部の前記支持基板と反対側に第2ビルドアップ部を形成することと、を含んでいる。前記第1ビルドアップ部を形成することは、前記支持基板上の前記1または複数の製品エリアに亘って第1絶縁層を積層し、前記第1絶縁層を貫通する第1ビア導体と前記第1絶縁層上の第1導体層とを形成することを含み、前記第2ビルドアップ部を形成することは、前記第1ビルドアップ部上に第2絶縁層を積層し、前記第2絶縁層を貫通する第2ビア導体と前記第2絶縁層上の第2導体層とを形成することを含み、前記第1導体層および前記第2導体層は、前記第1導体層に含まれる配線における配線幅の最小値が前記第2導体層に含まれる配線における配線幅の最小値より小さく、前記第1導体層に含まれる配線における配線間隔の最小値が前記第2導体層に含まれる配線における配線間隔の最小値よりも小さいように形成され、前記第1絶縁層は感光性絶縁樹脂を含み、前記第1ビア導体を形成することは、フォトリソグラフィ加工により前記第1絶縁層に第1貫通孔を形成することを含んでいる。
【0006】
本発明の実施形態によれば、良好な平坦性を有し、配線密度の異なる複数の導体層を含む配線基板が、歩留まりよく提供され得る。
【図面の簡単な説明】
【0007】
本発明の実施形態の製造方法で製造される配線基板の一例を示す断面図。
本発明の一実施形態である配線基板の製造方法の一例を示す図。
本発明の一実施形態である配線基板の製造方法の一例を示す図。
本発明の一実施形態である配線基板の製造方法の一例を示す図。
本発明の一実施形態である配線基板の製造方法の一例を示す図。
本発明の一実施形態である配線基板の製造方法の一例を示す図。
本発明の一実施形態である配線基板の製造方法の一例を示す図。
本発明の一実施形態である配線基板の製造方法の一例を示す図。
本発明の一実施形態である配線基板の製造方法の一例を示す図。
本発明の一実施形態である配線基板の製造方法の一例を示す図。
本発明の一実施形態である配線基板の製造方法の一例を示す図。
本発明の一実施形態である配線基板の製造方法の一例を示す図。
本発明の一実施形態である配線基板の製造方法の一例を示す図。
本発明の一実施形態である配線基板の製造方法の一例を示す図。
本発明の一実施形態である配線基板の製造方法の一例を示す図。
本発明の一実施形態である配線基板の製造方法の一例を示す図。
本発明の一実施形態である配線基板の製造方法の一例を示す図。
本発明の一実施形態である配線基板の製造方法の一例を示す図。
本発明の一実施形態である配線基板の製造方法の一例を示す図。
【発明を実施するための形態】
【0008】
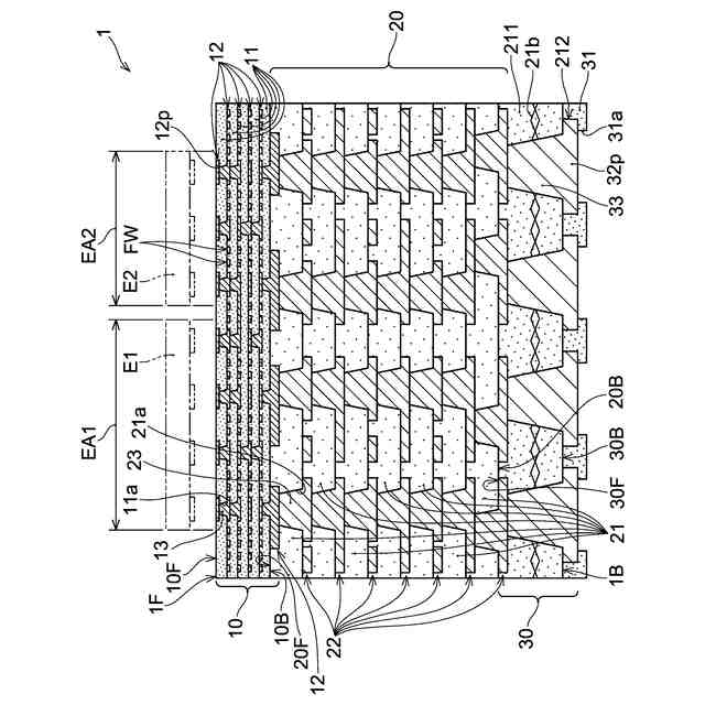
一実施形態の配線基板の製造方法によって製造される配線基板が図面を参照しながら説明される。図1は、一実施形態の製造方法によって製造される配線基板の一例である配線基板1を示す断面図である。なお、配線基板1は製造される配線基板の一例に過ぎない。製造される配線基板の積層構造、ならびに、導体層および絶縁層それぞれの数は、図1の配線基板1の積層構造、ならびに配線基板1に含まれる導体層および絶縁層それぞれの数に限定されない。また、参照される図面においては、各構成要素の正確な比率を示すことは意図されておらず、本発明の特徴が理解され易いように描かれている。
【0009】
配線基板1は、交互に積層された複数の導体層および絶縁層によってそれぞれ構成される第1ビルドアップ部10および第2ビルドアップ部20を含む積層構造を有している。図1に示されるように、配線基板1は、第2ビルドアップ部20の第1ビルドアップ部10側と反対側に、絶縁層およびその上に積層された導体層から構成される第3ビルドアップ部30をさらに含んでいてもよい。配線基板1は、その厚さ方向と直交する2つの表面(第1面1Fおよび第1面1Fと反対側の第2面1B)を有している。図1に示されるように、第1ビルドアップ部10の表面(第1面10F)が第1面1Fを構成している。配線基板1が第3ビルドアップ部30を有する場合、第2面1Bは、第3ビルドアップ部30の表面(第2面30B)により構成され得る。なお、第3ビルドアップ部30が形成されず、配線基板が第1ビルドアップ部10および第2ビルドアップ部20によって構成される場合、第2面1Bは、第2ビルドアップ部20の表面(第2面20B)により構成され得る。配線基板1は、コア層を含まないコアレス配線基板として形成されている。
【0010】
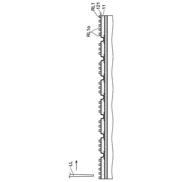
第1ビルドアップ部10は比較的微細な配線を含んでおり、比較的密度の高い回路配線を有し得る。図1の例では、第1ビルドアップ部10は、交互に積層される絶縁層(第1絶縁層)11と導体層(第1導体層)12とを有している。一層の第1絶縁層11を挟んで対向する導体層12同士はビア導体(第1ビア導体)13によって接続されている。第1導体層12は、所定の導体パターンを有するようにパターニングされている。第1ビルドアップ部10の第1面10Fは、第1導体層12の表面(上面)および導体層12のパターンから露出する第1絶縁層11の表面(上面)によって構成されている。図示の例では、第1面10Fを構成する導体層12は複数の導体パッド12pを有するパターンに形成されている。
(【0011】以降は省略されています)
この特許をJ-PlatPat(特許庁公式サイト)で参照する
関連特許
イビデン株式会社
配線基板
1か月前
イビデン株式会社
配線基板
4日前
イビデン株式会社
配線基板
18日前
イビデン株式会社
配線基板
1か月前
イビデン株式会社
部品内蔵配線板
25日前
イビデン株式会社
プリント配線板
24日前
イビデン株式会社
プリント配線板
16日前
イビデン株式会社
ハニカムフィルタ
3日前
イビデン株式会社
配線基板の製造方法
2日前
イビデン株式会社
配線基板の製造方法
2日前
イビデン株式会社
配線基板の製造方法
1か月前
イビデン株式会社
配線基板の製造方法
2日前
イビデン株式会社
配線基板の製造方法
2日前
イビデン株式会社
配線基板の製造方法
2日前
イビデン株式会社
配線基板の製造方法
1か月前
イビデン株式会社
プリント配線板の製造方法
16日前
イビデン株式会社
配線基板及びその製造方法
6日前
イビデン株式会社
配線基板及びその製造方法
6日前
イビデン株式会社
熱伝達抑制シート及び組電池
1か月前
イビデン株式会社
熱伝達抑制シート及び組電池
26日前
イビデン株式会社
熱伝達抑制シート及び組電池
2日前
イビデン株式会社
光導波路及び導波路搭載基板
3日前
イビデン株式会社
プリント配線板およびその製造方法
6日前
イビデン株式会社
配線基板および配線基板の製造方法
6日前
イビデン株式会社
ハニカム構造体及び直接空気回収装置
26日前
イビデン株式会社
部品内蔵基板及び部品内蔵基板の製造方法
1か月前
イビデン株式会社
防炎シート及びその製造方法、並びに組電池
16日前
イビデン株式会社
防炎シート及びその製造方法、並びに組電池
16日前
イビデン株式会社
防炎シート及びその製造方法、並びに組電池
16日前
イビデン株式会社
熱伝達抑制シート及びその製造方法、並びに組電池
1か月前
イビデン株式会社
熱伝達抑制シート及びその製造方法、並びに組電池
1か月前
イビデン株式会社
植物賦活剤
1か月前
イビデン株式会社
植物賦活剤
2日前
株式会社コロナ
電気機器
3か月前
個人
電子部品の実装方法
4日前
個人
非衝突型ガウス加速器
1か月前
続きを見る
他の特許を見る