TOP
|
特許
|
意匠
|
商標
特許ウォッチ
Twitter
他の特許を見る
公開番号
2025116792
公報種別
公開特許公報(A)
公開日
2025-08-08
出願番号
2024122449,2024011314
出願日
2024-07-29,2024-01-29
発明の名称
桟橋のPC梁端接合構造およびその接合方法
出願人
黒沢建設株式会社
,
若築建設株式会社
代理人
弁理士法人井上国際特許商標事務所
主分類
E01D
15/24 20060101AFI20250801BHJP(道路,鉄道または橋りょうの建設)
要約
【課題】 プレキャストのPC梁を用いて桟橋上部工の骨組を形成する際の現場打ちコンクリートによる海上作業を極力減らすと共に、巨大地震による大規模な津波に対して従来技術より大幅に強くした梁端接合構造およびその接合方法を提供する。
【解決手段】 平面2方向で杭頭部の間にプレキャストのPC梁(X梁1、Y梁2)がそれぞれ設けられ、その上に床版が形成される桟橋のPC梁端接合構造であって、PC梁の梁端5aに対応する位置で所定の深さまで凹み、平面視においてPC梁の梁端5aを3面囲む凹状に形成された梁端取込部5を備え、杭頭部に固定された杭頭ブロック3を有し、梁端5aが梁端取込部5に挿入され、PC梁と杭頭ブロック3を貫通したPC鋼材6が緊張定着され、PC梁と杭頭ブロック3とがPC圧着接合されていることを特徴とする。
【選択図】 図2
特許請求の範囲
【請求項1】
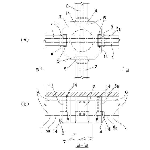
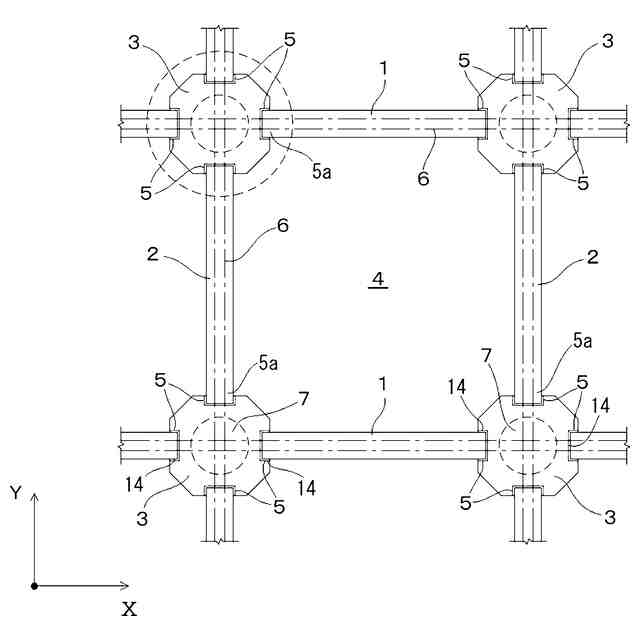
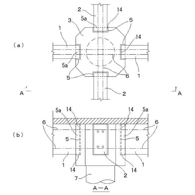
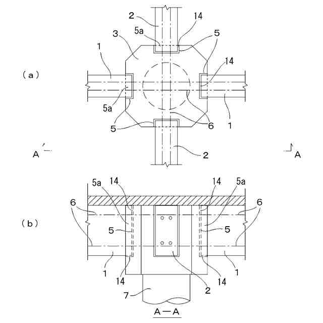
平面2方向で杭頭部の間にプレキャストのPC梁がそれぞれ設けられ、その上に床版が形成される桟橋のPC梁端接合構造であって、
前記PC梁の梁成と略同一の高さ寸法を有し、前記PC梁の梁端に対応する位置で所定の深さまで凹み、平面視において前記PC梁の梁端を3面囲む凹状に形成された梁端取込部を備え、前記杭頭部に固定された杭頭ブロックを有し、
前記梁端の下部を除く部分が、対応する前記梁端取込部側へ突出し、前記梁端取込部に挿入され、
前記杭頭ブロックは、前記梁端の下部に対向する面を有し、前記梁端の下部との間に目地を形成し、
前記PC梁と前記杭頭ブロックを貫通したPC鋼材が緊張定着され、前記PC梁と前記杭頭ブロックとがPC圧着接合されていることを特徴とする桟橋のPC梁端接合構造。
続きを表示(約 920 文字)
【請求項2】
前記梁端は、前記PC梁の長手方向に垂直な部材断面の少なくとも半分が前記梁端取込部に挿入されていることを特徴とする請求項1に記載の桟橋の梁端接合構造。
【請求項3】
前記杭頭ブロックは前記PC梁の下側に突出したアゴを備え、
前記PC梁が前記アゴの上に設置され、前記PC梁と前記アゴとを貫通したPC鋼材が緊張定着され、前記PC梁と前記杭頭ブロックとがPC圧着接合されていることを特徴とする請求項2に記載の桟橋の梁端接合構造。
【請求項4】
平面2方向で杭頭部の間にプレキャストのPC梁をそれぞれ設けて、その上に床版を形成する桟橋のPC梁端接合方法であって、
前記PC梁の梁端に対応する位置で所定の深さまで凹んで、平面視において前記PC梁の梁端を3面囲む凹状に形成された梁端取込部を備え、前記PC梁の梁成と略同一の高さ寸法を有し、前記梁端の下部に対向する面を有する杭頭ブロックを前記杭頭部に固定し、
前記梁端は、下部を除く部分が対応する前記梁端取込部側へ突出しており、
前記梁端の下部を除く部分が前記梁端取込部に挿入された状態で前記PC梁を配置した後に、前記梁端取込部と前記梁端との間及び前記梁端の下部と前記梁端の下部に対向する前記杭頭ブロックの面との間に設けられている目地に目地モルタルを充填して硬化させた後に、
前記PC梁と杭頭ブロックを貫通したPC鋼線を緊張定着することにより、前記PC梁と前記杭頭ブロックとをPC圧着接合することを特徴とする桟橋のPC梁端接合方法。
【請求項5】
前記梁端は、前記PC梁の長手方向に垂直な部材断面の少なくとも半分を前記梁端取込部に挿入されることを特徴とする請求項4に記載の桟橋の梁端接合方法。
【請求項6】
前記梁端取込部の下側から突出したアゴを前記杭頭ブロックに形成し、
前記PC梁を前記アゴの上に設置し、前記PC梁と前記アゴとを貫通したPC鋼線を緊張定着し、前記PC梁と前記杭頭ブロックとをPC圧着接合することを特徴とする請求項5に記載の桟橋の梁端接合方法。
発明の詳細な説明
【技術分野】
【0001】
本発明は、桟橋の既設改修や新設を問わずに、プレキャストのPC梁をPC圧着接合によって梁端と杭頭ブロックとを一体化した直杭式横桟橋を構築する梁端接合構造およびその接合方法に関するものである。
続きを表示(約 1,800 文字)
【背景技術】
【0002】
コンクリート製の桟橋において、基礎杭の上にプレキャスト製のPC梁(桁)を設置して、PC梁(桁)と杭頭部を接合して一体化する方法に関する従来技術は、複数の特許文献に開示されている。
【0003】
特許文献1は、基礎杭の頭部間にプレキャストコンクリート製の縦桁と横桁を掛け渡して、それぞれの桁の両端面から鉄筋を外部に露出して突設し、現場打ちの杭頭コンクリートで桁と杭とを一体化することによって、杭頭コンクリートのみが現場打ちとなり、海上作業が大幅に省略されるというものである。
【0004】
特許文献2は、梁のプレキャスト部の端面から鉄骨と鉄筋を突出させて、杭上の受台上に鉄骨と鉄筋を載置した後に、杭と梁のプレキャスト部梁の端面との間の空間には、現場打ちコンクリートを打設充填して杭と梁を接合することによって、現場での作業を最小限として、接合部の施工の手間を省くことができるというものである。
【0005】
特許文献3は、プレキャストPC主梁を杭頭部に設置した後に、主梁と杭頭部との空間を間詰めコンクリートを充填して接合して一体化し、主梁の側面から突設した受棚にプレキャストPC横梁を架設して、PC鋼線を貫通して緊張して主梁と横梁を一体化するものとしている。格子枠の構成は、プレキャスト製品であるため、現場打ちコンクリートに必要となる海上の足場、支保工が不要となり、さらに、型枠の組み立て、脱型が不要となるため、迅速な構築を行うことができるというものである。
【0006】
特許文献4は、杭頭部に接合部材を挿入し、既製梁部材が、平板状の天板部と、両側縁より垂下された側壁部と、所謂逆U字状断面に形成され、その天板部の端部を接合部材に設置された受棚部に設置し、貫通したPC部材(PC鋼材)を緊張定着して、既製梁と接合部材とをPC圧着接合して一体化し、その後に、接合部材の中央で杭頭と嵌合する開口または鞘管に場所打ちコンクリートを充填して接合部材と杭頭部とを接合している。そして、杭形成された梁部の上にプレキャストコンクリート床版又は場所打ちコンクリートによって床版部を形成し、杭支持構造物が構築されるというものである。既製梁の断面を逆U字状にすることによって、プレキャスト部材の軽量化を実現し、工場製品でも運送を容易にすると共に、大型起重機や起重機は不要となる。さらに、既製梁部材を仮設置した段階で波浪等によって杭が揺動した場合であっても、既製梁部材の脱落を防止することができる等の効果が得られるという。
【0007】
また、PC圧着接合に関する従来技術については、当出願人が既に数多くの特許文献に示しており、その代表とするものは、PC圧着関節工法である。後述する本願発明と従来技術との相違を説明するため、ここで特許文献5として取り上げる。従来のPC圧着接合の特徴は特許文献5の図1、図2及び図4に示す通りである。
【先行技術文献】
【特許文献】
【0008】
特開平7-207641号公報
特開平8-120638号公報
特許第4597921号公報
特許第7178050号公報
特許第5612231号公報
【発明の概要】
【発明が解決しようとする課題】
【0009】
特許文献1及び2に開示された方法は、プレキャスト製の梁端から鉄筋や鉄骨を出して、杭頭コンクリートとして、又は、杭と梁のプレキャスト部の端面との間に、現場打ちコンクリートを打設して杭頭とプレキャスト梁を接合するものである。その現場打ちコンクリートは海上作業となり、支保工や型枠を組み、配筋工事を行い、コンクリートを打設して養生する工程はすべて海上で行うために、工期が長期化し、コストが高騰するばかりではなく、品質管理も一層困難となり、特に、海水飛沫による塩害を受けて鉄筋が施工段階でもすぐに腐食してしまい、構築された構造体の強度や耐久性などが著しく劣るという問題が生じる。
【0010】
上記の問題を解消し、現場打ちによる海上作業をさらに減らす方法として、特許文献3と4に記載の発明が開示されている。
(【0011】以降は省略されています)
この特許をJ-PlatPat(特許庁公式サイト)で参照する
関連特許
黒沢建設株式会社
桟橋のPC梁端接合構造およびその接合方法
2か月前
株式会社熊谷組
床版
13日前
株式会社熊谷組
床版
13日前
個人
折り畳み式標識具
20日前
白出商事株式会社
縁石銘板(名板)
15日前
株式会社セイトク
防雪パネル
5日前
株式会社熊谷組
床版接合構造
23日前
北越消雪機械工業株式会社
消雪装置
20日前
株式会社NIPPO
距離補正装置
13日前
株式会社ササキコーポレーション
作業機
12日前
株式会社NIPPO
斜面用ローラ
14日前
株式会社NIPPO
斜面用ローラ
14日前
株式会社NIPPO
切削用制御装置
13日前
三信工業株式会社
床版架設装置
12日前
桑名金属工業株式会社
融雪マットおよび融雪方法
12日前
株式会社熊谷組
床版継手装置、及び、床版
23日前
東亜グラウト工業株式会社
防護柵の支柱構造
13日前
中井商工株式会社
橋梁の桁端止水工法
23日前
株式会社NIPPO
バンク用建設機械サポータ装置
14日前
西尾レントオール株式会社
コーンベット型電源装置
7日前
株式会社NIPPO
アスファルトスタッカ制御装置
14日前
日鉄神鋼建材株式会社
補強金具、及び支柱取付構造
13日前
日鉄建材株式会社
吊り材で支持された足場用床パネル
12日前
日立建機株式会社
転圧機械
13日前
オリエンタル白石株式会社
補強鋼板及び排土方法
5日前
株式会社日本コンポジット工業
壁用構造体
12日前
三井住友建設株式会社
床版拡幅工法
14日前
宮地エンジニアリング株式会社
ワイヤブリッジの設置方法
1日前
株式会社NIPPO
コンクリートスタッカ
19日前
株式会社プロテックエンジニアリング
衝撃吸収柵
8日前
鹿島建設株式会社
橋、および橋の製造方法
6日前
東日本旅客鉄道株式会社
横取り方法
19日前
株式会社NIPPO
コンクリート舗装の施工方法
23日前
株式会社NIPPO
スコップ加熱器
12日前
株式会社NIPPO
土壌改質材及びそれを含む土壌
13日前
大成建設株式会社
床版接合部の設計方法
23日前
続きを見る
他の特許を見る