TOP
|
特許
|
意匠
|
商標
特許ウォッチ
Twitter
他の特許を見る
10個以上の画像は省略されています。
公開番号
2025117123
公報種別
公開特許公報(A)
公開日
2025-08-12
出願番号
2024011819
出願日
2024-01-30
発明の名称
カテーテル固定具
出願人
京都府公立大学法人
代理人
弁理士法人三枝国際特許事務所
主分類
A61M
25/06 20060101AFI20250804BHJP(医学または獣医学;衛生学)
要約
【課題】カテーテルハブ嵌合部に容易に装着することができるカテーテル固定具を提供する。
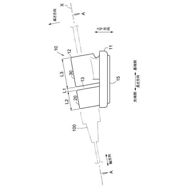
【解決手段】本発明は、カテーテルハブと留置針の外筒とが嵌合するカテーテル嵌合部100を固定するためのカテーテル固定具10である。カテーテル固定具10は、基台11と、固定具本体12とを備えている。固定具本体12は、留置針固定部20と、留置針固定部20と間隔を空けて設けられたカテーテルハブ固定部30とを備え、留置針固定部20は、内部に第1の中空部21、上部に溝23が形成されており、第1の中空部21は一方側端部に形成された傾斜部24の最も一方側の内径がカテーテル嵌合部100の最大径以上であり、傾斜部24の内径は他方側に向かうにつれて小さくなる。カテーテルハブ固定部30は、内部に第2の中空部31を備え、上部に第2の中空部31と連通する溝33が形成されている。
【選択図】図1
特許請求の範囲
【請求項1】
カテーテルと薬液が流れるチューブとが接続されるカテーテルハブと、留置針の外筒とが嵌め合わせられたカテーテル嵌合部を固定するためのカテーテル固定具において、
基台と、
前記基台の上面に設けられ、前記カテーテル嵌合部が固定される固定具本体とを備え、
固定具本体は、
前記固定具本体の長さ方向の一方側に設けられた留置針固定部と、前記固定具本体の長さ方向の他方側に設けられ、前記留置針固定部と間隔を空けて設けられたカテーテルハブ固定部と、を備え、
前記留置針固定部は、内部に第1の中空部が形成され、上部に第1の中空部と連通する溝が形成されており、
前記第1の中空部は、一方側に第1傾斜部が形成され、前記第1傾斜部の最も一方側の内径は、前記カテーテル嵌合部の最大径以上であり、前記第1傾斜部の内径は他方側に向かうにつれて小さくなり、
前記カテーテルハブ固定部は、内部に第2の中空部を備え、上部に前記第2の中空部と連通する溝が形成されている、カテーテル固定具。
続きを表示(約 420 文字)
【請求項2】
前記第1の中空部は、前記第1傾斜部の他方側に前記第1傾斜部に連続して形成される第2傾斜部をさらに備え、
前記第2傾斜部は前記留置針の外筒の外周面に対応する形状を有する、請求項1に記載のカテーテル固定具。
【請求項3】
前記第1の中空部は、前記第1傾斜部よりも他方側に、前記留置針の外筒の他方側端部に設けられた鍔部が嵌まる凹部を備える、請求項1に記載のカテーテル固定具。
【請求項4】
前記第1の中空部は、最も他方側に、前記カテーテルハブを支持するためのハブ支持部を備える、請求項1に記載のカテーテル固定具。
【請求項5】
前記基台の下面に取り付けられたシート材をさらに備える、請求項1に記載のカテーテル固定具。
【請求項6】
前記固定具本体の第1、第2の各中空部の軸方向が、前記基台の上面に対して傾いている、請求項1に記載のカテーテル固定具。
発明の詳細な説明
【技術分野】
【0001】
本発明は、カテーテル固定具に関するものである。
続きを表示(約 2,500 文字)
【背景技術】
【0002】
医療分野においては、薬剤や栄養剤等の投与のためにカテーテルを患者の体内に留置する。この際、患者が動いたり、意図せずにカテーテル等に接触するなど体内外の様々な要因により、カテーテルが外れたり屈曲することがある。このため、カテーテルの体内から外部に露出している部分を、テープや接着剤、固定具などにより体表面に固定する。例えば、特許文献1に提案されている固定具は、カテーテルの出口近傍の体表面に止着される粘着ベース部と、粘着ベース部の上面に止着されたカバー部とを含み、カテーテルの中途部を粘着ベース部とカバー部との間に挟んで固定している。
【0003】
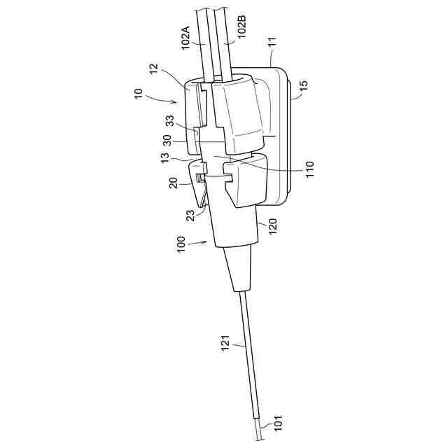
新生児を含む小児領域においては、小児用末梢静脈挿入式中心静脈カテーテル(以下、「PIカテーテル」ともいう)が用いられることが多い。PIカテーテルの体内への挿入にはPIカテーテル用のイントロデューサーを用いることもあるが、一般に点滴に使用されている末梢静脈留置針(以下、「留置針」ともいう)が用いられることも多い。留置針は、外筒122と、外筒122の先端に設けられるカニューレ部分121と、カニューレ部分121内に挿通される内針と、内針の基端に設けられる内筒とを備えている。外筒122およびカニューレ部分121は図15に示されている。
【0004】
カテーテルハブ110は、PIカテーテル101の基端側の端部と薬液チューブ102との接続部の少なくとも一部を保護用の樹脂により覆ったものである。図15の例では、PIカテーテル101の基端部には2本の薬液チューブ102A、102Bが接続され、薬液チューブ102A、102Bは図示しない薬液パックに接続される。薬液パックに収容された薬液は、薬液チューブ102A、102Bを通ってPIカテーテル101に入り、体内に導入される。
【0005】
PIカテーテル101を体内に挿入する際には、まず、作業者は、留置針のカニューレ部分121の先端から内針を突出させた状態で、例えば新生児の手の甲など体表面の所定箇所から静脈などの血管に、内針及びカニューレ部分121を刺す。続いて、内針および内筒をカニューレ部分121から引き抜く。そして、留置針120の外筒122の基端側からPIカテーテル101を挿入する。PIカテーテル101は外筒122およびカニューレ部分121を通って体内の血管に挿入される。PIカテーテル101は体格に応じた適切な長さまで体内に挿入される。PIカテーテル101の挿入が完了すると、カニューレ部分121を血管および体表面Sから引き抜く。そして、PIカテーテル101の基端に接続されたカテーテルハブ110を留置針120の外筒122に嵌合する。次に、PIカテーテル101が突出している体表面S上の部分の周囲を保護するために、医療用のフィルムでこの部分を覆う。フィルムにより、PIカテーテル101の体表面Sの外側にある部分であってカニューレ部分121と体表面Sとの間の部分およびカニューレ部分121の先端が体表面S上に固定される。なお、上記の説明ではカニューレ部分121を血管および体表面Sから引き抜いているが、カニューレ部分121を引き抜かず体表面Sおよび血管に挿入した状態を保っていてもよい。以下の説明では、カテーテルハブ110と留置針120の外筒122とを「カテーテル嵌合部100」といい、図15は、留置針120の外筒122の内部にカテーテルハブ110が嵌め合わされたカテーテル嵌合部100を示している。
【0006】
カテーテルハブ110は留置針120の外筒122に嵌合されているため、患者が動いたり、意図せずにカテーテル嵌合部100に接触するなどして、時間の経過とともにカテーテル嵌合部100の嵌合が緩んだり、外れることがある。このため、カテーテル嵌合部100の嵌め合わせ作業を繰り返し行わなければならない。また、この嵌め合わせ作業を繰り返すことにより、留置針120の外筒122の内部でPIカテーテル101が屈曲してしまい、屈曲により、薬液投与の流速にムラが生じたり、規定量の薬液が投与されないなどの問題が生じる。
【0007】
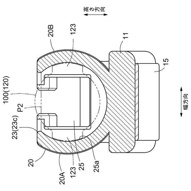
このため、出願人は、カテーテル嵌合部100を固定するための固定具を提案した。非特許文献1に記載のカテーテル固定具200は、図16に示すように、基台211と、基台上に設けられる筒状の固定具本体210とを備えている。固定具本体210は軸方向に沿って両端に開口212、212が形成されており、上側が切り取られて溝213が形成されている。固定具本体210は内部に中空部214が形成されており、中空部214は、カテーテルハブ110及び留置針120の外筒122の外形に対応した形状に形成されている。溝213及び開口212、212は中空部214と連通している。
【先行技術文献】
【特許文献】
【0008】
特許第7309240号公報
【非特許文献】
【0009】
竹下直樹、池田和幸、家原知子、「3Dプリンタによる臨床課題解決の具体的事例:PIカテーテル固定の工夫」、日本小児循環器学会雑誌、2022年、第38巻、第4号、p.265―267
【発明の概要】
【発明が解決しようとする課題】
【0010】
非特許文献1に記載のカテーテル固定具200にカテーテル嵌合部100を嵌め込むには、まず、作業者は、図17に示すように、カテーテル嵌合部100のカテーテルハブ110の基端側を溝213から固定具本体210に斜め方向に挿入する。さらに、カテーテル嵌合部100に図17の矢印A2の方向に向けて力を加え、カテーテル嵌合部100を上側から溝213を通して中空部214に押し込む。そして、カテーテルハブ110の基端側をさらに固定具本体210の基端側に挿入して、カテーテル嵌合部100をカテーテル固定具200の中空部214に嵌め込む。
(【0011】以降は省略されています)
この特許をJ-PlatPat(特許庁公式サイト)で参照する
関連特許
京都府公立大学法人
カテーテル固定具
1か月前
京都府公立大学法人
皮下投与用腸疾患粘膜治癒材
2か月前
京都府公立大学法人
コンピュータプログラム、学習支援方法及び学習支援装置
13日前
京都府公立大学法人
角膜内皮ECM治療薬
1か月前
イカリ消毒株式会社
害虫防除方法、害虫防除剤、及びその製造方法
2か月前
国立大学法人東北大学
情報処理装置、表示装置、放射線治療計画装置、情報処理方法、プログラム
3か月前
京都府公立大学法人
一過性受容器電位アンキリン1を活性化するための組成物並びに摂食量亢進用及び/又は食欲不振改善用組成物
10日前
個人
健康器具
7か月前
個人
鼾防止用具
7か月前
個人
短下肢装具
2か月前
個人
歯茎みが品
8か月前
個人
導電香
8か月前
個人
洗井間専家。
6か月前
個人
脈波測定方法
7か月前
個人
前腕誘導装置
2か月前
個人
マッサージ機
8か月前
個人
嚥下鍛錬装置
3か月前
個人
脈波測定方法
7か月前
個人
白内障治療法
6か月前
個人
矯正椅子
4か月前
個人
ホバーアイロン
6か月前
個人
バッグ式オムツ
3か月前
個人
アイマスク装置
1か月前
個人
汚れ防止シート
10日前
個人
歯の修復用材料
3か月前
個人
胸骨圧迫補助具
1か月前
個人
歯の保護用シール
4か月前
個人
哺乳瓶冷まし容器
2か月前
個人
陣痛緩和具
3か月前
個人
口内洗浄具
7か月前
個人
シャンプー
5か月前
個人
車椅子持ち上げ器
6か月前
三生医薬株式会社
錠剤
6か月前
個人
湿布連続貼り機。
1か月前
株式会社結心
手袋
7か月前
株式会社八光
剥離吸引管
4か月前
続きを見る
他の特許を見る