TOP
|
特許
|
意匠
|
商標
特許ウォッチ
Twitter
他の特許を見る
10個以上の画像は省略されています。
公開番号
2025117283
公報種別
公開特許公報(A)
公開日
2025-08-12
出願番号
2024012036
出願日
2024-01-30
発明の名称
ボールねじ装置
出願人
日本精工株式会社
代理人
個人
,
個人
,
個人
,
個人
主分類
F16H
25/22 20060101AFI20250804BHJP(機械要素または単位;機械または装置の効果的機能を生じ維持するための一般的手段)
要約
【課題】高負荷仕様に好ましく適用されるとともに、コンパクト化に有利であり、高い信頼性と高寿命に優れたボールねじ装置を提供する。
【解決手段】ハウジング(30)は、第1方向に向けられた第1軸面(AX1)を有する。第2方向に沿ったボールねじ(20)からの荷重が内輪(41)、転動体(43)、及び外輪(42)を介して第1軸面(AX1)で受けられる。軸受(40)は、外輪(42)に接触して配置される規制部材(50)を有する。規制部材(50)は、第2軸面(AX2)に面して配置される第3軸面を有する。ハウジング(30)に対するねじ軸(21)又はナット(22)の回転時に、第2軸面(AX2)と第3軸面(AX3)との間で周方向の相対移動が行われる。第2軸面(AX2)と第3軸面(AX3)との間の軸方向位置関係に基づいて、外輪(42)に対する内輪(41)の第1方向への軸方向相対移動が規制されている。
【選択図】図1
特許請求の範囲
【請求項1】
ねじ軸とナットと複数のボールとを有するボールねじと、
前記ボールねじを支持するハウジングと、
内輪と外輪と複数の転動体とを有する軸受と、
を備え、
前記軸受は、前記ボールねじと前記ハウジングとの間に配置され、ラジアル荷重及びアキシアル荷重を受けることが可能な構造を有し、
前記ハウジングは、第1方向に向けられた第1軸面を有し、
第2方向に沿った前記ボールねじからのアキシアル荷重が前記内輪、前記転動体、及び前記外輪を介して前記第1軸面で受けられ、
前記内輪は、前記第1方向に向けられた第2軸面を有し、
前記軸受は、前記外輪に接触して配置される規制部材であって、前記第2軸面に面して配置される第3軸面を有する前記規制部材をさらに有し、
前記ハウジングに対する前記ねじ軸又は前記ナットの回転時に、前記第2軸面と前記第3軸面との間で周方向の相対移動が行われ、
前記第2軸面と前記第3軸面との間の軸方向位置関係に基づいて、前記外輪に対する前記内輪の前記第1方向への軸方向相対移動が規制されている、
ボールねじ装置。
続きを表示(約 490 文字)
【請求項2】
前記規制部材は、前記外輪に取り付けられている、請求項1に記載のボールねじ装置。
【請求項3】
前記第2軸面と前記第3軸面との間の接触が許容されている、請求項1又は2に記載のボールねじ装置。
【請求項4】
前記第2軸面と前記第3軸面との間の滑りが許容されている、請求項1又は2に記載のボールねじ装置。
【請求項5】
前記ボールねじからの前記アキシアル荷重の大きさに応じて前記滑りの状態が変化する、請求項4に記載のボールねじ装置。
【請求項6】
前内輪が前記ねじ軸に取り付けられ、
前記ナットにおける、前記ハウジングに対する前記第2方向への移動が前記規制部材によって規制されている、請求項1又は2に記載のボールねじ装置。
【請求項7】
前記規制部材の少なくとも1部を含むシール構造をさらに備える、請求項1又は2に記載のボールねじ装置。
【請求項8】
前記軸受は、単列円錐ころ軸受又は単列アンギュラ玉軸受である、請求項1又は2に記載のボールねじ装置。
発明の詳細な説明
【技術分野】
【0001】
本発明は、ボールねじ装置に関する。
続きを表示(約 2,100 文字)
【背景技術】
【0002】
ボールねじは、ねじ軸(シャフト)と、ナットと、ねじ軸とナットとの間に配置される複数のボールとを備える。ボールねじ装置の一例において、モータの出力軸の回転運動がボールねじによって直線運動に変換される。ボールねじ装置では、一般に、ボールねじを回転支持するために、ボールねじとハウジングとの間に軸受が設置される(例えば、特許文献1参照)。
【先行技術文献】
【特許文献】
【0003】
特開2004-284444号公報
【発明の概要】
【発明が解決しようとする課題】
【0004】
高負荷仕様のボールねじ装置において、ボールねじとハウジングとの間の軸受として、円錐ころ軸受などの、ラジアル荷重及びアキシアル荷重の両方を受けることが可能な軸受を用いた技術が知られている。一般的な玉軸受などのラジアル荷重用の軸受を用いたボールねじ装置では、高負荷対応の大サイズの軸受が必要であるため、装置の大型化を招きやすい。ラジアル荷重及びアキシアル荷重の両方に適した軸受を用いたボールねじ装置では、高負荷仕様であっても、装置の大型化が回避される。
【0005】
しかしながら、こうしたボールねじ装置では、例えば、軸受における内輪と外輪との間で軸方向の相対移動が生じやすい。内輪と外輪との間の軸方向相対移動は、転動体の外面に外輪の端部が接触する等により軸受の損傷を招く可能性がある。また、ボールねじ装置に異音が発生する可能性がある。
【0006】
本発明の目的は、高負荷仕様に好ましく適用されるとともに、コンパクト化に有利であり、高い信頼性と高寿命に優れたボールねじ装置を提供することである。
【課題を解決するための手段】
【0007】
本発明の一態様に係るボールねじ装置は、ねじ軸とナットと複数のボールとを有するボールねじと、ボールねじを支持するハウジングと、内輪と外輪と複数の転動体とを有する軸受と、を備える。軸受は、ボールねじとハウジングとの間に配置され、ラジアル荷重及びアキシアル荷重を受けることが可能な構造を有する。ハウジングは、第1方向に向けられた第1軸面を有する。第2方向に沿ったボールねじからのアキシアル荷重が内輪、転動体、及び外輪を介して第1軸面で受けられる。内輪は、第1方向に向けられた第2軸面を有する。軸受は、外輪に接触して配置される規制部材であって、第2軸面に面して配置される第3軸面を有する規制部材をさらに有する。ハウジングに対するねじ軸又はナットの回転時に、第2軸面と第3軸面との間で周方向の相対移動が行われる。第2軸面と第3軸面との間の軸方向位置関係に基づいて、外輪に対する内輪の第1方向への軸方向相対移動が規制されている。
【発明の効果】
【0008】
本発明の一態様に係るボールねじ装置によれば、高負荷仕様に好ましく適用されるとともに、コンパクト化に有利であり、高い信頼性と高寿命に優れたボールねじ装置を提供することができる。
【図面の簡単な説明】
【0009】
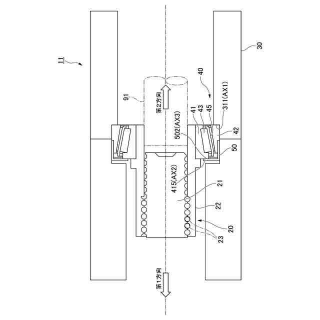
第1実施形態に係るボールねじ装置を示す模式的な断面図である。
(a)部は、円錐ころ軸受における接触角αを説明するための図であり、(b)部は、アンギュラ玉軸受における接触角αを説明するための図である。
円錐ころ軸受における寸法値を説明するための図である。
第1実施形態に係るボールねじ装置を示す模式的な部分拡大断面図である。
第2実施形態に係るボールねじ装置を示す模式的な部分拡大断面図である。
第3実施形態に係るボールねじ装置を示す模式的な部分拡大断面図である。
第3実施形態の変形例を示す模式的な部分拡大断面図である。
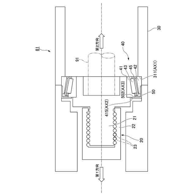
第4実施形態に係るボールねじ装置を示す模式的な断面図である。
(a)部、(b)部、及び(c)部は、第4、第5、及び第6実施形態に係るボールねじ装置をそれぞれ示す模式的な部分拡大断面図である。
第7実施形態に係るボールねじ装置を示す模式的な断面図である。
【発明を実施するための形態】
【0010】
本発明の実施形態について図面を参照して説明する。一実施形態において、ボールねじ装置は、例えば、車両の電動ブレーキ装置やオートマチックマニュアルトランスミッション(AMT)、工作機械の位置決め装置などの各種機械装置に組み込まれ、電動モータなどの駆動源の回転運動を直線運動に変換して、被駆動部(作動部)を動作させる用途に用いられる。電動ブレーキ装置としては、モータによって駆動されるボールねじを介して制動力を付与するEMB(Electro-Mechanical Brake)、モータによって駆動されるボールねじを介して油圧式ブレーキの油圧を制御するEHB(Electro-Hydraulic Brake)など、様々なタイプが適用可能である。ボールねじ装置は、上記以外の機械装置にも適用可能である。
(【0011】以降は省略されています)
この特許をJ-PlatPat(特許庁公式サイト)で参照する
関連特許
日本精工株式会社
ボールねじ
1か月前
日本精工株式会社
ボールねじ装置
7日前
日本精工株式会社
円すいころ軸受
6日前
日本精工株式会社
アクチュエータ
1日前
日本精工株式会社
転がり案内装置
14日前
日本精工株式会社
突入電流抑止回路
1か月前
日本精工株式会社
ハブユニット軸受
1か月前
日本精工株式会社
密封型転がり軸受
7日前
日本精工株式会社
密封型転がり軸受
7日前
日本精工株式会社
密封型転がり軸受
7日前
日本精工株式会社
密封型転がり軸受
7日前
日本精工株式会社
密封型転がり軸受
7日前
日本精工株式会社
密封型転がり軸受
7日前
日本精工株式会社
密封型転がり軸受
7日前
日本精工株式会社
磁歪式トルクセンサ
1か月前
日本精工株式会社
磁歪式トルクセンサ
16日前
日本精工株式会社
逆入力遮断クラッチ
今日
日本精工株式会社
モータ制御システム
15日前
日本精工株式会社
直動案内装置の組立方法
20日前
日本精工株式会社
アクチュエータシステム
22日前
日本精工株式会社
ラジアルころ軸受用保持器
6日前
日本精工株式会社
ボールねじ部品の製造方法
1か月前
日本精工株式会社
潤滑機能付き転がり軸受装置
1か月前
日本精工株式会社
直動案内装置及びその製造方法
20日前
日本精工株式会社
片持ち回転ローラ配置型円形車輪
6日前
日本精工株式会社
ころ軸受及びころ軸受の設計方法
20日前
日本精工株式会社
回路放熱機構および回路放熱方法
1か月前
協同油脂株式会社
グリース組成物
22日前
日本精工株式会社
ハブユニット軸受及びその製造方法
6日前
日本精工株式会社
転がり軸受及び転がり軸受の製造方法
1か月前
日本精工株式会社
モータ制御装置およびモータ制御方法
1か月前
日本精工株式会社
含油部材付歯車、直動アクチュエータ
24日前
日本精工株式会社
入力異常検出装置および入力異常検出方法
1か月前
日本精工株式会社
細胞培養成形装置および細胞培養片の製造方法
1か月前
日本精工株式会社
潤滑剤供給体及び潤滑剤供給体を配設した転動装置
14日前
日本精工株式会社
グリース組成物及びグリース組成物を充填した転動装置
1か月前
続きを見る
他の特許を見る