TOP
|
特許
|
意匠
|
商標
特許ウォッチ
Twitter
他の特許を見る
公開番号
2025135733
公報種別
公開特許公報(A)
公開日
2025-09-19
出願番号
2024033665
出願日
2024-03-06
発明の名称
入力異常検出装置および入力異常検出方法
出願人
日本精工株式会社
代理人
個人
,
個人
,
個人
,
個人
主分類
H03M
1/12 20060101AFI20250911BHJP(基本電子回路)
要約
【課題】より簡易な回路構成により、入力されるアナログ信号の異常を検出できる入力異常検出装置および入力異常検出方法を提供する。
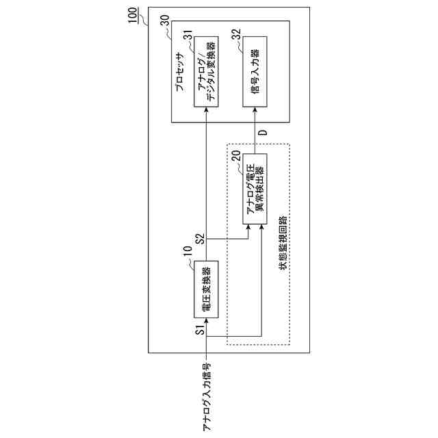
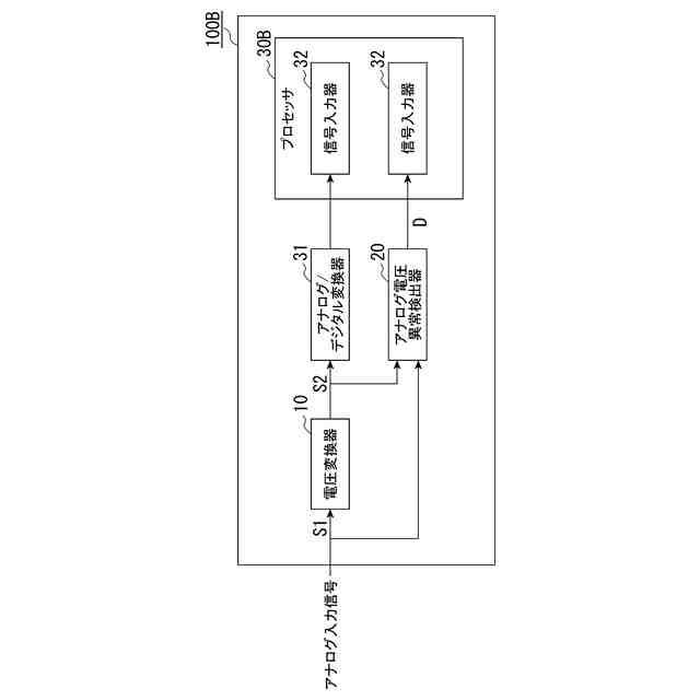
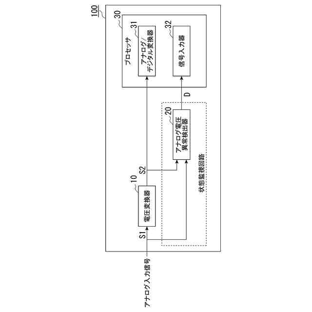
【解決手段】入力異常検出装置は、入力されるアナログ入力信号を電圧変換したアナログ出力信号を出力する電圧変換器と、前記アナログ入力信号と前記アナログ出力信号とを比較して異常を検出するアナログ電圧異常検出器と、前記アナログ出力信号が入力されるアナログ/デジタル変換器と、前記アナログ電圧異常検出器の検出結果が入力される信号入力器と、を有するプロセッサと、を備える。
【選択図】図1
特許請求の範囲
【請求項1】
入力されるアナログ入力信号を電圧変換したアナログ出力信号を出力する電圧変換器と、
前記アナログ入力信号と前記アナログ出力信号とを比較して異常を検出するアナログ電圧異常検出器と、
前記アナログ出力信号が入力されるアナログ/デジタル変換器と、前記アナログ電圧異常検出器の検出結果が入力される信号入力器と、を有するプロセッサと、
を備える、
入力異常検出装置。
続きを表示(約 460 文字)
【請求項2】
前記信号入力器に入力される前記検出結果は、デジタル信号であり、
前記信号入力器は、前記プロセッサの汎用入力端子である、
請求項1に記載の入力異常検出装置。
【請求項3】
アナログ電圧異常検出器は、前記アナログ入力信号の電圧値と前記アナログ出力信号の電圧値との差分に基づいて、前記異常を検出する、
請求項1または請求項2に記載の入力異常検出装置。
【請求項4】
アナログ入力信号を電圧変換したアナログ出力信号を生成し、
前記アナログ入力信号と前記アナログ出力信号とを比較して異常を検出し、
前記アナログ出力信号をアナログ/デジタル変換したデジタル信号を生成し、
前記異常が検出されないとき、前記デジタル信号に異常がないとする、
入力異常検出方法。
【請求項5】
前記アナログ入力信号の電圧値と前記アナログ出力信号の電圧値との差分に基づいて、前記異常を検出する、
請求項4に記載の入力異常検出方法。
発明の詳細な説明
【技術分野】
【0001】
本発明は、入力異常検出装置および入力異常検出方法に関する。
続きを表示(約 1,300 文字)
【背景技術】
【0002】
プロセッサを搭載した装置において、入力されるアナログ信号はデジタル信号に変換(アナログ/デジタル変換)され、変換されたデジタル信号がプロセッサに入力される。このような装置において、入力されるアナログ信号の処理回路に異常が発生すると、プロセッサやプロセッサが制御する機器に不具合を生じる場合がある。
【0003】
例えば、モータを駆動するモータ駆動装置は、モータを駆動する指令値がアナログ信号(電圧値など)として入力される。入力されるアナログ信号の処理回路に異常が発生すると、モータに流す電流指令値が過大となる等の不具合が発生して、モータの発熱や故障の原因となる可能性がある。
【0004】
そこで、入力されるアナログ信号の異常を検出する入力異常検出装置が用いられている。例えば、特許文献1に記載の冗長化装置は、アナログ/デジタル変換器の出力をマスターCPUとスレーブCPUとにより監視することにより、アナログ信号の処理回路の異常を検出する。
【先行技術文献】
【特許文献】
【0005】
特開2006-202167号公報
【発明の概要】
【発明が解決しようとする課題】
【0006】
しかしながら、特許文献1の記載の冗長化装置は、マスターCPUとスレーブCPUとを必要としており、部品点数が多くなる。より簡易な回路構成により、入力されるアナログ信号の異常を検出できる入力異常検出装置が望まれている。
【0007】
上記事情を踏まえ、本発明は、より簡易な回路構成により、入力されるアナログ信号の異常を検出できる入力異常検出装置および入力異常検出方法を提供することを目的とする。
【課題を解決するための手段】
【0008】
上記課題を解決するために、この発明は以下の手段を提案している。
本発明の第一の態様に係る入力異常検出装置は、入力されるアナログ入力信号を電圧変換したアナログ出力信号を出力する電圧変換器と、前記アナログ入力信号と前記アナログ出力信号とを比較して異常を検出するアナログ電圧異常検出器と、前記アナログ出力信号が入力されるアナログ/デジタル変換器と、前記アナログ電圧異常検出器の検出結果が入力される信号入力器と、を有するプロセッサと、を備える。
【0009】
本発明の第二の態様に係る入力異常検出方法は、アナログ入力信号を電圧変換したアナログ出力信号を生成し、前記アナログ入力信号と前記アナログ出力信号とを比較して異常を検出し、前記アナログ出力信号をアナログ/デジタル変換したデジタル信号を生成し、
前記異常が検出されないとき、前記デジタル信号に異常がないとする。
【発明の効果】
【0010】
本発明の入力異常検出装置および入力異常検出方法によれば、より簡易な回路構成により、入力されるアナログ信号の異常を検出できる。
【図面の簡単な説明】
(【0011】以降は省略されています)
この特許をJ-PlatPat(特許庁公式サイト)で参照する
関連特許
日本精工株式会社
保持器
1か月前
日本精工株式会社
駆動装置
1か月前
日本精工株式会社
ころ軸受
1か月前
日本精工株式会社
分注装置
1か月前
日本精工株式会社
ボールねじ
1か月前
日本精工株式会社
ボールねじ
16日前
日本精工株式会社
締結用工具
1か月前
日本精工株式会社
リニアガイド
1か月前
日本精工株式会社
制振システム
1か月前
日本精工株式会社
遊星歯車装置
1か月前
日本精工株式会社
送りねじ装置
1か月前
日本精工株式会社
ボールねじ装置
1か月前
日本精工株式会社
ボールねじ装置
1か月前
日本精工株式会社
ボールねじ装置
1か月前
日本精工株式会社
ボールねじ装置
1か月前
日本精工株式会社
ボールねじ装置
1か月前
日本精工株式会社
ボールねじ装置
1か月前
日本精工株式会社
リニアガイド装置
1か月前
日本精工株式会社
アンギュラ玉軸受
1か月前
日本精工株式会社
シール付き玉軸受
1か月前
日本精工株式会社
突入電流抑止回路
1か月前
日本精工株式会社
ハブユニット軸受
26日前
日本精工株式会社
搬送装置及び駆動輪
1か月前
日本精工株式会社
逆入力遮断クラッチ
1か月前
日本精工株式会社
逆入力遮断クラッチ
1か月前
日本精工株式会社
磁歪式トルクセンサ
16日前
日本精工株式会社
電動摩擦クラッチ装置
1か月前
日本精工株式会社
電動摩擦クラッチ装置
1か月前
日本精工株式会社
抽出装置および抽出方法
1か月前
日本精工株式会社
アクチュエータシステム
4日前
日本精工株式会社
直動案内装置の組立方法
2日前
日本精工株式会社
絶縁転がり軸受の製造方法
1か月前
日本精工株式会社
ボールねじ部品の製造方法
24日前
日本精工株式会社
潤滑機能付き転がり軸受装置
16日前
日本精工株式会社
直動案内装置及びその製造方法
2日前
日本精工株式会社
保持器、及び保持器の製造方法
1か月前
続きを見る
他の特許を見る