TOP
|
特許
|
意匠
|
商標
特許ウォッチ
Twitter
他の特許を見る
公開番号
2025158663
公報種別
公開特許公報(A)
公開日
2025-10-17
出願番号
2024061425
出願日
2024-04-05
発明の名称
ハブユニット軸受及びその製造方法
出願人
日本精工株式会社
代理人
弁理士法人栄光事務所
主分類
F16C
43/04 20060101AFI20251009BHJP(機械要素または単位;機械または装置の効果的機能を生じ維持するための一般的手段)
要約
【課題】内輪の残留引張円周応力自体を低減させて内輪の割れを防止することができる、低コストなハブユニット軸受及びその製造方法を提供する。
【解決手段】小径段部34に内輪40を嵌合する嵌合工程と、嵌合工程によって小径段部34に内輪40が嵌合した状態で、小径段部34及び内輪40を拡径する拡径工程と、拡径工程によって小径段部34及び内輪40が拡径された状態で、小径段部34のインボード側端部を径方向外側に変形して内輪40をハブ軸31に加締め固定する加締工程と、加締め工程の後に、小径段部34及び内輪40を縮径する工程と、を備える。
【選択図】図1
特許請求の範囲
【請求項1】
内周面に複列の外輪軌道が形成された外輪と、
アウトボード側に車輪取付フランジを有し、インボード側に小径段部が形成されたハブ軸、及び前記ハブ軸の前記小径段部に嵌合して加締め固定される少なくとも一つの内輪を備え、外周面に前記複列の外輪軌道に対向する複列の内輪軌道が形成されたハブと、
前記複列の内輪軌道と、前記複列の外輪軌道との間に転動自在に配置された複数の転動体と、
を備えるハブユニット軸受の製造方法であって、
前記小径段部に前記内輪を嵌合する嵌合工程と、
前記嵌合工程によって前記小径段部に前記内輪が嵌合した状態で、前記小径段部及び前記内輪を拡径する拡径工程と、
前記拡径工程によって前記小径段部及び前記内輪が拡径された状態で、前記小径段部のインボード側端部を径方向外側に変形して前記内輪を前記ハブ軸に加締め固定する加締工程と、
前記加締め工程の後に、前記小径段部及び前記内輪を縮径する工程と、
を備えるハブユニット軸受の製造方法。
続きを表示(約 550 文字)
【請求項2】
前記拡径工程は、前記内輪と径方向に重畳する前記小径段部の内径部に形成されたテーパー雌ねじ部に、外周面にテーパー雄ねじ部が形成されたプラグを螺合する工程である、
請求項1に記載のハブユニット軸受の製造方法。
【請求項3】
前記拡径工程は、前記内輪と径方向に重畳する前記小径段部の内径部に形成されたテーパー穴に、外周面がテーパー状に形成され、かつ前記ハブ軸の軸方向に移動可能なテーパー治具を圧入する工程である、
請求項1に記載のハブユニット軸受の製造方法。
【請求項4】
内周面に複列の外輪軌道が形成された外輪と、
アウトボード側に車輪取付フランジを有し、インボード側に小径段部が形成されたハブ軸、及び前記ハブ軸の前記小径段部に嵌合して加締め固定される少なくとも一つの内輪を備え、外周面に前記複列の外輪軌道に対向する複列の内輪軌道が形成されたハブと、
前記複列の内輪軌道と、前記複列の外輪軌道との間に転動自在に配置された複数の転動体と、
を備えるハブユニット軸受であって、
前記小径段部には、前記内輪と径方向に重畳する内径部に、テーパー部が形成されている、
ことを特徴とするハブユニット軸受。
発明の詳細な説明
【技術分野】
【0001】
本発明は、ハブユニット軸受及びその製造方法に関し、特に加締めハブユニット軸受及びその製造方法に関する。
続きを表示(約 2,000 文字)
【背景技術】
【0002】
加締めハブユニット軸受の軸受鋼製の内輪には、ハブ軸の軸端加締め加工に起因する引張円周応力が残留しており、内輪肩部内端側面取部に打痕疵等があると、その疵を起点としてクラックが広がり、割れ(遅れ破壊)が発生する虞がある。特許文献1には、加締め加工に起因する割れを防止するため、内輪の大端面側の内径端部に形成された面取り部の形状を規定することにより、内輪同士や内輪が外部の干渉物に衝突した場合でも、打痕疵等の発生を防止可能とした車輪用軸受装置が開示されている。
【0003】
また、特許文献2には、軌道側面取り部を含む部分に、他の箇所よりも肉厚が大きい厚肉部を設け、後の旋削加工により打痕疵を除去して残留引張円周応力自体を低減するハブユニット軸受用内輪の製造方法が記載されている。
【0004】
また、特許文献3には、内輪の内周の角部、又は、内輪の外周の角部にレーザーピーニング処理によって残留圧縮応力を付与し、ハブ軸との嵌合や加締め後の残留引張円周応力を減らして(或いは無くして)、クラックや割れの発生を防止する技術が開示されている。
【先行技術文献】
【特許文献】
【0005】
特許第6661308号公報
特許第7367379号公報
特許第7021844号公報
【発明の概要】
【発明が解決しようとする課題】
【0006】
しかしながら、特許文献1及び2によると、面取り部の複雑な形状加工や、打痕疵を除去するための後旋削加工が必要となる。また、特許文献3のレーザーピーニング処理は、ショットピーニング処理に比べて、高い表面残留圧縮応力を付与できるものの、高密度なエネルギーにより材料表面にプラズマを生じさせる必要があるため、レンズを通してレーザービームを絞って走査する必要があり、広い面積を施工する場合には時間が掛かり、コストが上昇する。また、水中での処理となるため、軸受鋼等の錆びやすい材料に施工する場合には、後処理として水分除去や防錆処理が必要となり、コスト上昇の一因となる。
【0007】
本発明は、前述した課題に鑑みてなされたものであり、その目的は、内輪の残留引張円周応力自体を低減させて内輪の割れを防止することができる、低コストなハブユニット軸受及びその製造方法を提供することである。
【課題を解決するための手段】
【0008】
したがって、本発明の上記目的は、ハブユニット軸受の製造方法に係る下記[1]の構成により達成される。
[1] 内周面に複列の外輪軌道が形成された外輪と、
アウトボード側に車輪取付フランジを有し、インボード側に小径段部が形成されたハブ軸、及び前記ハブ軸の前記小径段部に嵌合して加締め固定される少なくとも一つの内輪を備え、外周面に前記複列の外輪軌道に対向する複列の内輪軌道が形成されたハブと、
前記複列の内輪軌道と、前記複列の外輪軌道との間に転動自在に配置された複数の転動体と、
を備えるハブユニット軸受の製造方法であって、
前記小径段部に前記内輪を嵌合する嵌合工程と、
前記嵌合工程によって前記小径段部に前記内輪が嵌合した状態で、前記小径段部及び前記内輪を拡径する拡径工程と、
前記拡径工程によって前記小径段部及び前記内輪が拡径された状態で、前記小径段部のインボード側端部を径方向外側に変形して前記内輪を前記ハブ軸に加締め固定する加締工程と、
前記加締め工程の後に、前記小径段部及び前記内輪を縮径する工程と、
を備えるハブユニット軸受の製造方法。
[2] 内周面に複列の外輪軌道が形成された外輪と、
アウトボード側に車輪取付フランジを有し、インボード側に小径段部が形成されたハブ軸、及び前記ハブ軸の前記小径段部に嵌合して加締め固定される少なくとも一つの内輪を備え、外周面に前記複列の外輪軌道に対向する複列の内輪軌道が形成されたハブと、
前記複列の内輪軌道と、前記複列の外輪軌道との間に転動自在に配置された複数の転動体と、
を備えるハブユニット軸受であって、
前記小径段部には、前記内輪と径方向に重畳する内径部に、テーパー部が形成されている、
ことを特徴とするハブユニット軸受。
【発明の効果】
【0009】
本発明のハブユニット軸受及びその製造方法によれば、安価な方法により、残留引張円周応力自体を低減させて内輪の割れを防止することができる。
【図面の簡単な説明】
【0010】
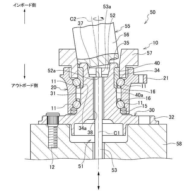
本発明の第1実施形態に係るハブユニット軸受の断面図である。
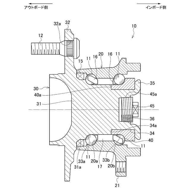
本発明の第2実施形態に係るハブユニット軸受の断面図である。
【発明を実施するための形態】
(【0011】以降は省略されています)
この特許をJ-PlatPat(特許庁公式サイト)で参照する
関連特許
日本精工株式会社
保持器
1か月前
日本精工株式会社
分注装置
1か月前
日本精工株式会社
駆動装置
2か月前
日本精工株式会社
ころ軸受
2か月前
日本精工株式会社
ボールねじ
1か月前
日本精工株式会社
キャスター
2か月前
日本精工株式会社
ボールねじ
2か月前
日本精工株式会社
ボールねじ
2か月前
日本精工株式会社
締結用工具
1か月前
日本精工株式会社
リニアガイド
1か月前
日本精工株式会社
遊星歯車装置
1か月前
日本精工株式会社
風力発電装置
2か月前
日本精工株式会社
送りねじ装置
2か月前
日本精工株式会社
制振システム
2か月前
日本精工株式会社
ボールねじ装置
2か月前
日本精工株式会社
ボールねじ装置
2か月前
日本精工株式会社
ボールねじ装置
2か月前
日本精工株式会社
ボールねじ装置
2か月前
日本精工株式会社
ボールねじ装置
2か月前
日本精工株式会社
駆動輪及び台車
3か月前
日本精工株式会社
ボールねじ装置
2か月前
日本精工株式会社
ボールねじ装置
4日前
日本精工株式会社
円すいころ軸受
3日前
日本精工株式会社
転がり案内装置
11日前
日本精工株式会社
リニアガイド装置
2か月前
日本精工株式会社
ハブユニット軸受
1か月前
日本精工株式会社
密封型転がり軸受
4日前
日本精工株式会社
密封型転がり軸受
4日前
日本精工株式会社
シール付き玉軸受
1か月前
日本精工株式会社
ボールジョイント
2か月前
日本精工株式会社
アンギュラ玉軸受
1か月前
日本精工株式会社
突入電流抑止回路
1か月前
日本精工株式会社
密封型転がり軸受
4日前
日本精工株式会社
密封型転がり軸受
4日前
日本精工株式会社
密封型転がり軸受
4日前
日本精工株式会社
密封型転がり軸受
4日前
続きを見る
他の特許を見る