TOP
|
特許
|
意匠
|
商標
特許ウォッチ
Twitter
他の特許を見る
10個以上の画像は省略されています。
公開番号
2025141495
公報種別
公開特許公報(A)
公開日
2025-09-29
出願番号
2024041452
出願日
2024-03-15
発明の名称
含油部材付歯車、直動アクチュエータ
出願人
日本精工株式会社
代理人
個人
主分類
F16H
1/06 20060101AFI20250919BHJP(機械要素または単位;機械または装置の効果的機能を生じ維持するための一般的手段)
要約
【課題】自己潤滑歯車でありながら、通常の金属材料からなる歯車と同等の負荷で使用可能な歯車を提供する。
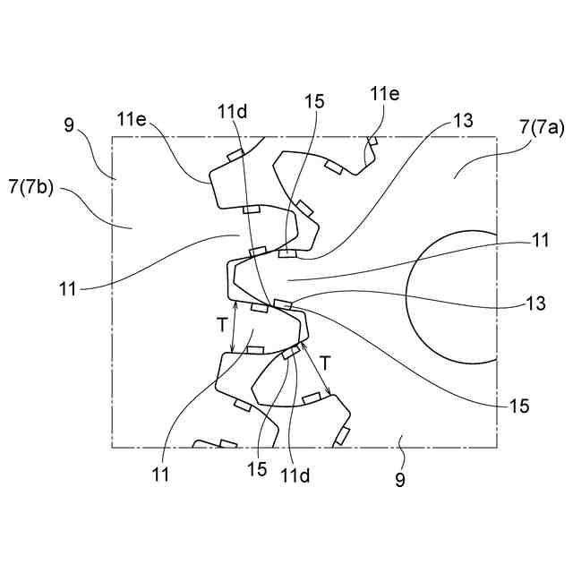
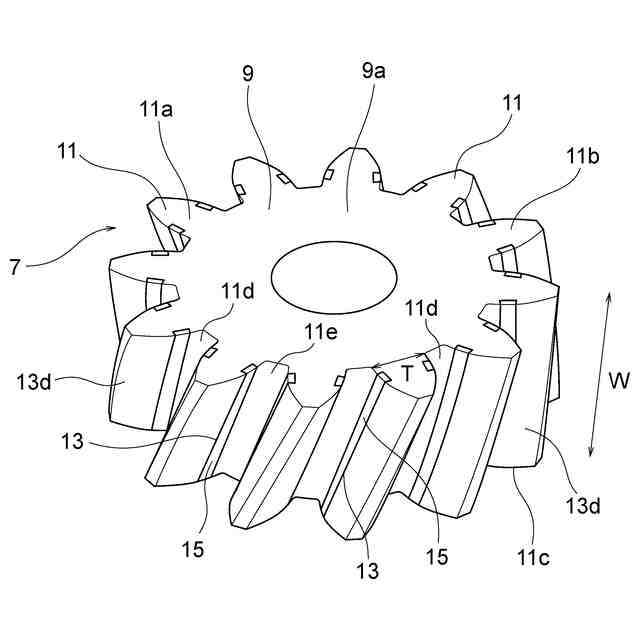
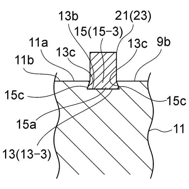
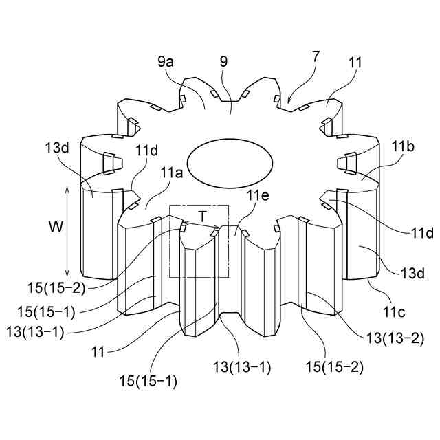
【解決手段】金属製の歯車本体9と、前記歯車本体9の歯元11の一部に形成された凹溝部13と、前記凹溝部13に組み込まれる含油部材15と、を含み、前記凹溝部13は、歯11の一端面11bから他端面11cにわたって歯幅方向Wに連続して凹設された蟻溝形状を有し、前記含油部材15は、前記凹溝部13に差し込み結合される蟻ほぞ形状を有してなる含油部材付歯車とした。
【選択図】図3
特許請求の範囲
【請求項1】
金属製の歯車本体と、
前記歯車本体の歯元の一部に形成された凹溝部と、
前記凹溝部に組み込まれる含油部材と、を含むことを特徴とする含油部材付歯車。
続きを表示(約 490 文字)
【請求項2】
前記歯元の一部は、歯底から歯元の噛み合い始めまでの任意の位置から、歯元側で二対噛み合いとなる噛み合い部の任意の位置までであることを特徴とする請求項1に記載の含油部材付歯車。
【請求項3】
前記凹溝部は、歯の一端面から他端面にわたって歯幅方向に連続して凹設された蟻溝形状を有し、
前記含油部材は、前記凹溝部の一端面側から差し込み結合される蟻ほぞ形状を有してなることを特徴とする請求項2に記載の含油部材付歯車。
【請求項4】
前記含油部材には、歯幅方向への抜け止め部を有することを特徴とする請求項3に記載の含油部材付歯車。
【請求項5】
前記抜け止め部は、一歯分の含油部材毎に設けられていることを特徴とする請求項4に記載の含油部材付歯車。
【請求項6】
前記抜け止め部は、全歯分の含油部材にわたって一体に設けられていることを特徴とする請求項4に記載の含油部材付歯車。
【請求項7】
請求項1乃至6のいずれかに記載の含油部材付歯車を組み込んでなることを特徴とする直動アクチュエータ。
発明の詳細な説明
【技術分野】
【0001】
本発明は、含油部材付歯車、詳しくは、自己潤滑性歯車の改良に関する。
続きを表示(約 1,100 文字)
【背景技術】
【0002】
従来、変速機などに用いられている歯車として特許文献1に開示の歯車がある。
特許文献1に開示の歯車は含油樹脂材料にて成形されており、液体の潤滑剤を使用しないことで潤滑剤の外部流出を抑制している。
【0003】
しかしながら、特許文献1に開示の歯車は、歯車全体が含油樹脂材料で構成されていることから動力を伝達しないように配置されている。このため、動力伝達用の歯車、保持する軸受、及びスペースが別途必要になるという課題を有している。また歯元でのすべりによる表面剥離が生じた場合、剥離した金属片が潤滑油で洗浄されずに歯面に留まり、アブレシブ摩耗等の更なる損傷につながる可能性がある。
【0004】
同様に特許文献2のように自己潤滑性を持つ樹脂材料で製作された歯車は、使用できる最大面圧が金属材料で製作された歯車に対して小さく、金属材料と同等の負荷で使用する場合は歯車を大きくする必要がある。
【先行技術文献】
【特許文献】
【0005】
特開2020-070855号公報
特開2019-085487号公報
【発明の概要】
【発明が解決しようとする課題】
【0006】
本発明は従来技術の有するこのような問題点を解決するためになされたものであり、その課題とするところは、自己潤滑歯車でありながら、通常の金属材料からなる歯車と同等の負荷で使用可能な歯車を提供することである。
【課題を解決するための手段】
【0007】
この目的を達成するために、第1の本発明は、金属製の歯車本体と、
前記歯車本体の歯元の一部に形成された凹溝部と、
前記凹溝部に組み込まれる含油部材と、を含むことを特徴とする含油部材付歯車としたことである。
【0008】
第2の本発明は、第1の本発明において、前記歯元の一部は、歯底から歯元の噛み合い始めまでの任意の位置から、歯元側で二対噛み合いとなる噛み合い部の任意の位置までであることを特徴とする含油部材付歯車としたことである。
【0009】
第3の本発明は、第2の本発明において、前記凹溝部は、歯の一端面から他端面にわたって歯幅方向に連続して凹設された蟻溝形状を有し、
前記含油部材は、前記凹溝部の一端面側から差し込み結合される蟻ほぞ形状を有してなることを特徴とする含油部材付歯車としたことである。
【0010】
第4の本発明は、第3の本発明において、前記含油部材には、歯幅方向への抜け止め部を有することを特徴とする含油部材付歯車としたことである。
(【0011】以降は省略されています)
この特許をJ-PlatPat(特許庁公式サイト)で参照する
関連特許
日本精工株式会社
保持器
1か月前
日本精工株式会社
駆動装置
1か月前
日本精工株式会社
分注装置
1か月前
日本精工株式会社
ボールねじ
15日前
日本精工株式会社
締結用工具
1か月前
日本精工株式会社
遊星歯車装置
1か月前
日本精工株式会社
送りねじ装置
1か月前
日本精工株式会社
制振システム
1か月前
日本精工株式会社
リニアガイド
1か月前
日本精工株式会社
ボールねじ装置
1か月前
日本精工株式会社
ボールねじ装置
1か月前
日本精工株式会社
ボールねじ装置
1か月前
日本精工株式会社
ハブユニット軸受
25日前
日本精工株式会社
シール付き玉軸受
1か月前
日本精工株式会社
リニアガイド装置
1か月前
日本精工株式会社
アンギュラ玉軸受
1か月前
日本精工株式会社
突入電流抑止回路
29日前
日本精工株式会社
磁歪式トルクセンサ
15日前
日本精工株式会社
逆入力遮断クラッチ
1か月前
日本精工株式会社
逆入力遮断クラッチ
1か月前
日本精工株式会社
搬送装置及び駆動輪
1か月前
日本精工株式会社
電動摩擦クラッチ装置
1か月前
日本精工株式会社
抽出装置および抽出方法
1か月前
日本精工株式会社
アクチュエータシステム
3日前
日本精工株式会社
直動案内装置の組立方法
1日前
日本精工株式会社
ボールねじ部品の製造方法
23日前
日本精工株式会社
絶縁転がり軸受の製造方法
1か月前
日本精工株式会社
潤滑機能付き転がり軸受装置
15日前
日本精工株式会社
保持器、及び保持器の製造方法
1か月前
日本精工株式会社
直動案内装置及びその製造方法
1日前
日本精工株式会社
培養容器および培地交換システム
1か月前
日本精工株式会社
ころ軸受及びころ軸受の設計方法
1日前
日本精工株式会社
回路放熱機構および回路放熱方法
15日前
日本精工株式会社
モータ装置、およびモータ制御方法
1か月前
協同油脂株式会社
グリース組成物
3日前
日本精工株式会社
転がり軸受及び転がり軸受の製造方法
29日前
続きを見る
他の特許を見る