TOP
|
特許
|
意匠
|
商標
特許ウォッチ
Twitter
他の特許を見る
公開番号
2025151530
公報種別
公開特許公報(A)
公開日
2025-10-09
出願番号
2024053013
出願日
2024-03-28
発明の名称
潤滑剤供給体及び潤滑剤供給体を配設した転動装置
出願人
日本精工株式会社
代理人
個人
主分類
F16N
11/00 20060101AFI20251002BHJP(機械要素または単位;機械または装置の効果的機能を生じ維持するための一般的手段)
要約
【課題】潤滑剤供給体を構成するポリエチレンの少なくとも一部を植物由来のバイオポリエチレンとすることで、環境にやさしい潤滑剤供給体及びこの潤滑剤供給体を配設した転動装置を提供する。
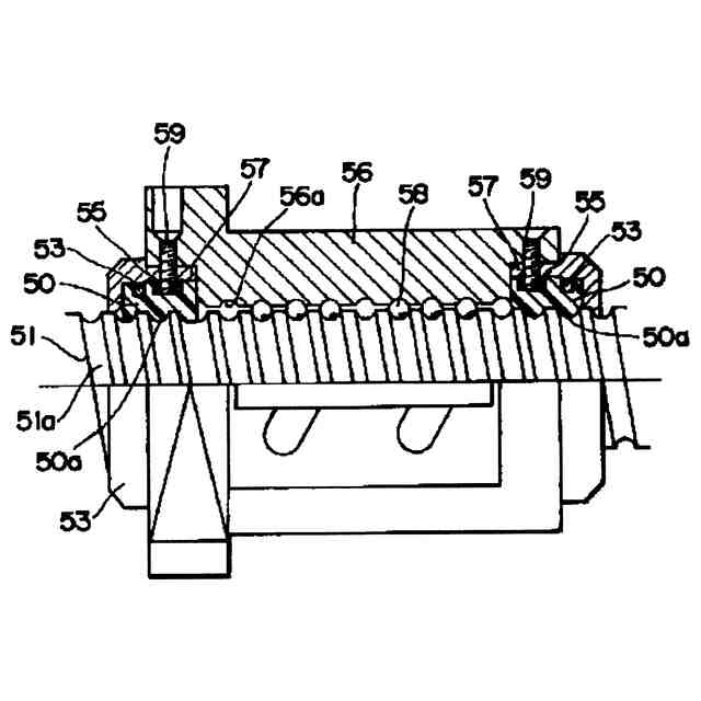
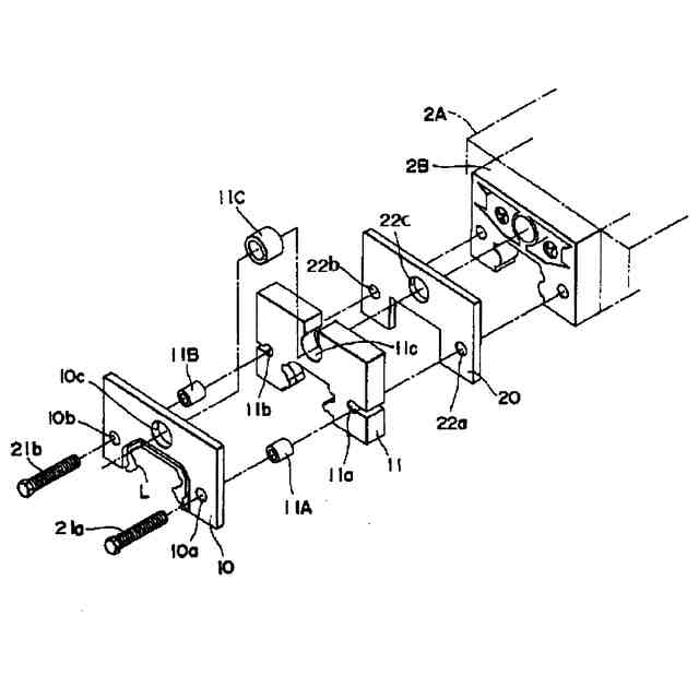
【解決手段】潤滑油を含有したポリエチレンからなり、潤滑を必要とする部材に適用される潤滑剤供給体11であって、前記潤滑油が炭化水素系油で、前記ポリエチレンが少なくとも一部に植物由来のバイオポリエチレンで、構成されている。潤滑剤供給体11は、案内レール1とスライダ2とで構成されるリニアガイド装置において、スライダ2の端面に取り付けられるサイドシール10と補強版20との間に組付けられている。
【選択図】図1
特許請求の範囲
【請求項1】
潤滑油を含有したポリエチレンからなり、潤滑を必要とする部材に適用される潤滑剤供給体であって、
前記潤滑油が炭化水素系油で、前記ポリエチレンが少なくとも一部に植物由来のバイオポリエチレンで、構成されていることを特徴とする潤滑剤供給体。
続きを表示(約 390 文字)
【請求項2】
外面に軌道面を有する内方部材と、
前記内方部材の外側に配置され、前記内方部材の軌道面に対向する軌道面を内面に有する外方部材と、
前記両軌道面間に転動自在に配置された転動体と、を備えた転動装置であって、
前記転動装置の内部空間又は端面に、請求項1に記載の潤滑剤供給体を配設したことを特徴とする転動装置。
【請求項3】
植物由来のバイオポリエチレンからなる梱包材で梱包されていることを特徴とする請求項2に記載の転動装置。
【請求項4】
リニアガイド装置であることを特徴とする請求項2又は3に記載の転動装置。
【請求項5】
ボールねじであることを特徴とする請求項2又は3に記載の転動装置。
【請求項6】
転がり軸受であることを特徴とする請求項2又は3に記載の転動装置。
発明の詳細な説明
【技術分野】
【0001】
本発明は、潤滑が必要な転動装置に配設される潤滑剤供給体の改良に関する。
続きを表示(約 1,300 文字)
【背景技術】
【0002】
潤滑を必要としているリニアガイド装置、ボールねじ、転がり軸受などの転動装置には、潤滑部位に潤滑油を供給するための潤滑剤供給体が配設されている。
従来、転動装置の潤滑部位に潤滑油を徐々に供給する潤滑剤供給体として、本出願人による先行技術が開示されている(特許文献1を参照。)。
【0003】
特許文献1に開示の潤滑剤供給体を含め、従来の潤滑剤供給体は、石油由来のポリエチレンが用いられていた。例えば、潤滑剤が流動パラフィン、または流動パラフィンを基油とし増ちょう剤をアルミニウム石けんからなるとともに、構成する合成樹脂がポリエチレン等のポリオレフィン系合成樹脂からなるものである。
しかしながら、従来の潤滑剤供給体は構成材料が石油由来であったため、石油資源(枯渇資源)使用抑制、温暖化ガス(CO
2
)排出量削減などの世界的な課題達成にも反し、環境に考慮したものではなかった。
【先行技術文献】
【特許文献】
【0004】
特開平11-2243号公報
【発明の概要】
【発明が解決しようとする課題】
【0005】
本発明は従来技術の有するこのような問題点を解決するためになされたものであり、その課題とするところは、潤滑剤供給体を構成するポリエチレンの少なくとも一部を植物由来のバイオポリエチレンとすることで、環境にやさしい潤滑剤供給体及びこの潤滑剤供給体を配設した転動装置を提供することである。
【課題を解決するための手段】
【0006】
この目的を達成するために、第1の本発明は、潤滑油を含有したポリエチレンからなり、潤滑を必要とする部材に適用される潤滑剤供給体であって、
前記潤滑油が炭化水素系油で、前記ポリエチレンが少なくとも一部に植物由来のバイオポリエチレンで、構成されていることを特徴とする潤滑剤供給体としたことである。
【0007】
第2の本発明は、外面に軌道面を有する内方部材と、
前記内方部材の外側に配置され、前記内方部材の軌道面に対向する軌道面を内面に有する外方部材と、
前記両軌道面間に転動自在に配置された転動体と、を備えた転動装置であって、
前記転動装置の内部空間又は端面に、第1の本発明の潤滑剤供給体を配設したことを特徴とする転動装置としたことである。
【0008】
第3の本発明は、第2の本発明の転動装置が、植物由来のバイオポリエチレンからなる梱包材で梱包されていることを特徴としたことである。
【0009】
第4の本発明は、第2の本発明又は第3の本発明の転動装置が、リニアガイド装置であることを特徴としたことである。
である。
【0010】
第5の本発明は、第2の本発明又は第3の本発明の転動装置が、ボールねじであることを特徴としたことである。
(【0011】以降は省略されています)
この特許をJ-PlatPat(特許庁公式サイト)で参照する
関連特許
日本精工株式会社
保持器
1か月前
日本精工株式会社
分注装置
1か月前
日本精工株式会社
ボールねじ
1か月前
日本精工株式会社
締結用工具
1か月前
日本精工株式会社
送りねじ装置
2か月前
日本精工株式会社
遊星歯車装置
1か月前
日本精工株式会社
リニアガイド
1か月前
日本精工株式会社
制振システム
2か月前
日本精工株式会社
転がり案内装置
11日前
日本精工株式会社
円すいころ軸受
3日前
日本精工株式会社
ボールねじ装置
4日前
日本精工株式会社
シール付き玉軸受
1か月前
日本精工株式会社
密封型転がり軸受
4日前
日本精工株式会社
ハブユニット軸受
1か月前
日本精工株式会社
突入電流抑止回路
1か月前
日本精工株式会社
アンギュラ玉軸受
1か月前
日本精工株式会社
密封型転がり軸受
4日前
日本精工株式会社
リニアガイド装置
2か月前
日本精工株式会社
密封型転がり軸受
4日前
日本精工株式会社
密封型転がり軸受
4日前
日本精工株式会社
密封型転がり軸受
4日前
日本精工株式会社
密封型転がり軸受
4日前
日本精工株式会社
密封型転がり軸受
4日前
日本精工株式会社
逆入力遮断クラッチ
1か月前
日本精工株式会社
磁歪式トルクセンサ
1か月前
日本精工株式会社
磁歪式トルクセンサ
13日前
日本精工株式会社
モータ制御システム
12日前
日本精工株式会社
逆入力遮断クラッチ
1か月前
日本精工株式会社
電動摩擦クラッチ装置
2か月前
日本精工株式会社
アクチュエータシステム
19日前
日本精工株式会社
直動案内装置の組立方法
17日前
日本精工株式会社
ラジアルころ軸受用保持器
3日前
日本精工株式会社
絶縁転がり軸受の製造方法
1か月前
日本精工株式会社
ボールねじ部品の製造方法
1か月前
日本精工株式会社
潤滑機能付き転がり軸受装置
1か月前
日本精工株式会社
直動案内装置及びその製造方法
17日前
続きを見る
他の特許を見る