TOP
|
特許
|
意匠
|
商標
特許ウォッチ
Twitter
他の特許を見る
公開番号
2025119837
公報種別
公開特許公報(A)
公開日
2025-08-15
出願番号
2024014894
出願日
2024-02-02
発明の名称
送りねじ装置
出願人
日本精工株式会社
代理人
弁理士法人栄光事務所
主分類
F16H
25/22 20060101AFI20250807BHJP(機械要素または単位;機械または装置の効果的機能を生じ維持するための一般的手段)
要約
【課題】ねじ軸が鉛直方向に延在する仕様において、ボールねじの支持間隔が長い場合であっても、共振を抑制して、危険速度を上回る速度で使用することが可能な送りねじ装置を提供する。
【解決手段】上ベース部と下ベース部に、両端部が軸受を介して回転自在に支持される、鉛直方向に延在するねじ軸、及び、ねじ軸にボールを介して螺合するナットを備えるボールねじと、ねじ軸の周囲でそれぞれ上下移動可能に配置される一対の中間サポートと、一対の中間サポートにそれぞれ取り付けられ、連結部材によって連結される一対の枠体と、シャフトを貫通し、一対の枠体がそれぞれに取り付けられた一対の外筒を有する直動案内部と、一対の緩衝装置と、を備え、ナットは、上方に位置する中間サポート又は枠体と接触して、一対の中間サポート及び一対の枠体と共に上下方向に移動する状態と、上方に位置する中間サポート又は枠体と接触しない状態と、を有する、
【選択図】図1
特許請求の範囲
【請求項1】
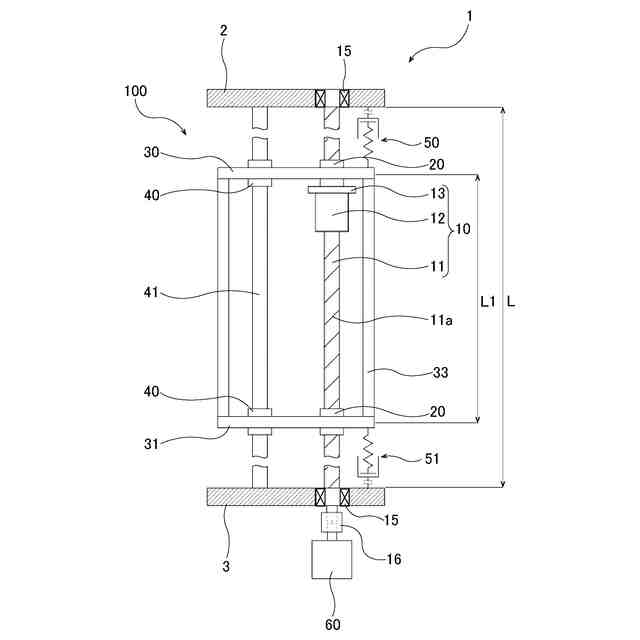
上ベース部と下ベース部に、両端部が軸受を介して回転自在に支持される、鉛直方向に延在するねじ軸、及び、前記ねじ軸にボールを介して螺合するナットを備えるボールねじと、
前記ナットの上下方向両側に位置し、前記ねじ軸の周囲でそれぞれ上下移動可能に配置され、前記ねじ軸に接触可能に形成される一対の中間サポートと、
前記上ベース部と前記下ベース部間で、前記一対の中間サポートにそれぞれ取り付けられ、連結部材によって連結される一対の枠体と、
前記上ベース部と前記下ベース部に取り付けられたシャフトを貫通し、前記一対の枠体がそれぞれに取り付けられた一対の外筒を有する直動案内部と、
前記上ベース部と上方に位置する前記枠体との間、及び前記下ベース部と下方に位置する前記枠体との間にそれぞれ設けられる一対の緩衝装置と、
を備え、
前記ナットは、上方に位置する前記中間サポート又は前記枠体と接触して、前記一対の中間サポート及び前記一対の枠体と共に上下方向に移動する状態と、上方に位置する前記中間サポート又は前記枠体と接触しない状態と、を有する、
送りねじ装置。
続きを表示(約 350 文字)
【請求項2】
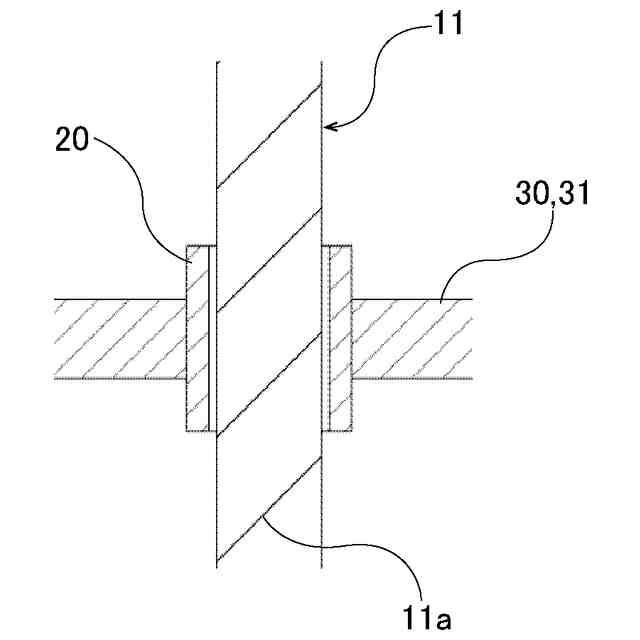
前記一対の中間サポートは、前記ねじ軸の外周面が接触可能なガイドブッシュである、
請求項1に記載の送りねじ装置。
【請求項3】
前記直動案内部は、前記一対の外筒をそれぞれ有する一対のリニアボールベアリングを有する、
請求項1に記載の送りねじ装置。
【請求項4】
前記ねじ軸の端部には、カップリングを介して連結され、前記ねじ軸を回転駆動する駆動モータが取り付けられている、
請求項1~3のいずれか1項に記載の送りねじ装置。
【請求項5】
前記ナットの上下移動によって回転駆動する前記ねじ軸の端部には、カップリングを介して連結される発電機が取り付けられている、
請求項1~3のいずれか1項に記載の送りねじ装置。
発明の詳細な説明
【技術分野】
【0001】
本発明は、送りねじ装置に関する。
続きを表示(約 1,700 文字)
【背景技術】
【0002】
ボールねじの回転数が高くなるに連れてねじ軸の振動数が固有振動数に近づくと、ねじ軸が共振を起こして激しく振動する。この時のボールねじの回転速度を危険速度と呼ぶが、この危険速度はねじ軸の支持間隔の2乗に反比例するため、通常はねじ軸の支持間隔は短いほうが好ましい。
【0003】
この共振対策としては、ねじ軸の両端部を支持する軸受とナットとの間に、ねじ軸と僅かな隙間を設けた二個の中間サポートを取り付けることが知られている(例えば、特許文献1参照)。危険速度を超えボールねじが振動し始めると、この中間サポートにねじ軸が接触し支持間隔が短くなるため、仕様条件の回転数の上限を上げることが可能になる。
【0004】
特許文献1では、水平方向に延在するねじ軸の両端部の軸受間に、ねじ軸に平行に設けたリニアガイド装置を併設し、リニアガイド装置のスライダに、ねじ軸のラジアル荷重を受けると共に、ナットに係合してねじ軸方向に連動する一対の中間サポートを取り付けた、送りねじ支持装置の構成が開示されている。
【先行技術文献】
【特許文献】
【0005】
実開平02-004736号公報
【発明の概要】
【発明が解決しようとする課題】
【0006】
ところで、特許文献1に記載の送りねじ装置を、ねじ軸が鉛直方向に延在するボールねじに適用すると、スライダによって中間サポートを下支えできないため、ねじ軸の軸方向中央より上昇作動するナットが中間サポート及びスライダを持ち上げる構成となって負荷が増大すると共に、ボールねじの支持間隔が長くなると中間サポートが適切な位置に連動させることができなくなって、共振防止の効果が十分に発揮されない場合もあり得るという課題がある。
【0007】
本発明は、前述した課題に鑑みてなされたものであり、その目的は、ねじ軸が鉛直方向に延在する仕様において、共振を抑制して、危険速度の上限を上昇させて使用することが可能な送りねじ装置を提供することにある。
【課題を解決するための手段】
【0008】
本発明の上記目的は、下記の構成により達成される。
[1] 上ベース部と下ベース部に、両端部が軸受を介して回転自在に支持される、鉛直方向に延在するねじ軸、及び、前記ねじ軸にボールを介して螺合するナットを備えるボールねじと、
前記ナットの上下方向両側に位置し、前記ねじ軸の周囲でそれぞれ上下移動可能に配置され、前記ねじ軸に接触可能に形成される一対の中間サポートと、
前記上ベース部と前記下ベース部間で、前記一対の中間サポートにそれぞれ取り付けられ、連結部材によって連結される一対の枠体と、
前記上ベース部と前記下ベース部に取り付けられたシャフトを貫通し、前記一対の枠体がそれぞれに取り付けられた一対の外筒を有する直動案内部と、
前記上ベース部と上方に位置する前記枠体との間、及び前記下ベース部と下方に位置する前記枠体との間にそれぞれ設けられる一対の緩衝装置と、
を備え、
前記ナットは、上方に位置する前記中間サポート又は前記枠体と接触して、前記一対の中間サポート及び前記一対の枠体と共に上下方向に移動する状態と、上方に位置する前記中間サポート又は前記枠体と接触しない状態と、を有する、
送りねじ装置。
【発明の効果】
【0009】
本発明の送りねじ装置によれば、ねじ軸が鉛直方向に延在する仕様において、ボールねじの支持間隔が長い場合であっても、共振することなく、危険速度の上限を上昇させて使用することができる。
【図面の簡単な説明】
【0010】
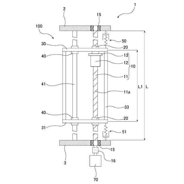
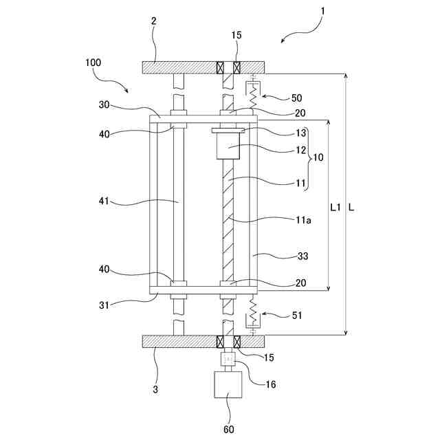
図1は、第1状態の共振防止装置を示した送りねじ装置の全体図である。
図2は、第2状態の共振防止装置を示した送りねじ装置の全体図である。
図3は、中間サポートを示した中央横断面図である。
図4は、第2実施形態の送りねじ装置を示した図である。
【発明を実施するための形態】
(【0011】以降は省略されています)
この特許をJ-PlatPat(特許庁公式サイト)で参照する
関連特許
日本精工株式会社
ボールねじ
1か月前
日本精工株式会社
リニアガイド
1か月前
日本精工株式会社
アクチュエータ
今日
日本精工株式会社
転がり案内装置
13日前
日本精工株式会社
円すいころ軸受
5日前
日本精工株式会社
ボールねじ装置
6日前
日本精工株式会社
密封型転がり軸受
6日前
日本精工株式会社
密封型転がり軸受
6日前
日本精工株式会社
密封型転がり軸受
6日前
日本精工株式会社
密封型転がり軸受
6日前
日本精工株式会社
密封型転がり軸受
6日前
日本精工株式会社
密封型転がり軸受
6日前
日本精工株式会社
密封型転がり軸受
6日前
日本精工株式会社
ハブユニット軸受
1か月前
日本精工株式会社
突入電流抑止回路
1か月前
日本精工株式会社
モータ制御システム
14日前
日本精工株式会社
磁歪式トルクセンサ
15日前
日本精工株式会社
磁歪式トルクセンサ
1か月前
日本精工株式会社
アクチュエータシステム
21日前
日本精工株式会社
直動案内装置の組立方法
19日前
日本精工株式会社
ボールねじ部品の製造方法
1か月前
日本精工株式会社
ラジアルころ軸受用保持器
5日前
日本精工株式会社
潤滑機能付き転がり軸受装置
1か月前
日本精工株式会社
直動案内装置及びその製造方法
19日前
日本精工株式会社
回路放熱機構および回路放熱方法
1か月前
日本精工株式会社
ころ軸受及びころ軸受の設計方法
19日前
日本精工株式会社
片持ち回転ローラ配置型円形車輪
5日前
協同油脂株式会社
グリース組成物
21日前
日本精工株式会社
ハブユニット軸受及びその製造方法
5日前
日本精工株式会社
含油部材付歯車、直動アクチュエータ
23日前
日本精工株式会社
モータ制御装置およびモータ制御方法
1か月前
日本精工株式会社
転がり軸受及び転がり軸受の製造方法
1か月前
日本精工株式会社
ボールねじの設計方法およびボールねじ
1か月前
日本精工株式会社
入力異常検出装置および入力異常検出方法
1か月前
日本精工株式会社
細胞培養成形装置および細胞培養片の製造方法
1か月前
日本精工株式会社
潤滑剤供給体及び潤滑剤供給体を配設した転動装置
13日前
続きを見る
他の特許を見る