TOP
|
特許
|
意匠
|
商標
特許ウォッチ
Twitter
他の特許を見る
10個以上の画像は省略されています。
公開番号
2025122380
公報種別
公開特許公報(A)
公開日
2025-08-21
出願番号
2024017806
出願日
2024-02-08
発明の名称
超音波撮像システム及び光音響画像生成方法
出願人
富士フイルム株式会社
代理人
弁理士法人YKI国際特許事務所
主分類
A61B
8/13 20060101AFI20250814BHJP(医学または獣医学;衛生学)
要約
【課題】光パルス周期と受信周期の間の同期ずれの影響が除去された光音響画像を生成する。
【解決手段】生体16内に挿入部材18が挿入されている状態において、振動子アレイ22が光吸収素子18aからの光音響波を受信する。これにより得られる受信信号列に基づいて、解析器50が同期ずれを演算する。複数の補正器32は、同期ずれに基づいて複数の受信信号を補正する。補正後の複数の受信信号が整相加算される。整相加算により生成された補正済み受信情報に基づいて光音響画像が生成される。疑似受信信号列に基づいて同期ずれが演算されてもよい。
【選択図】図1
特許請求の範囲
【請求項1】
光パルスを生成する光源と、
生体内に挿入される挿入部材であって、前記光パルスを光音響波に変換する光吸収素子を有する挿入部材と、
前記光音響波を受信する複数の振動子を備えたプローブと、
前記複数の振動子から並列的に出力された複数の受信信号からなる受信信号列又はそれに相当する疑似受信信号列に基づいて、前記光源における光パルス周期と前記プローブにおける受信周期との間の同期ずれを演算する解析器と、
前記受信信号列又は前記疑似受信信号列に対して、前記同期ずれに由来する位置ずれを解消するための補正及び受信ビーム形成のための整相加算を適用し、これにより補正済み受信情報を出力する処理器と、
前記補正済み受信情報に基づいて、前記生体内における前記光吸収素子の位置を表す光音響画像を生成する生成器と、
を含むことを特徴とする超音波撮像システム。
続きを表示(約 1,200 文字)
【請求項2】
請求項1記載の超音波撮像システムにおいて、
前記同期ずれは、前記光パルスの発生タイミングと前記プローブにおける受信期間の開始タイミングとの間の時間差である、
ことを特徴とする超音波撮像システム。
【請求項3】
請求項1記載の超音波撮像システムにおいて、
前記処理器は、
前記同期ずれに基づいて、前記受信信号列又は前記疑似受信信号列に含まれる光音響波信号列を深さ方向にシフトさせる補正部と、
前記補正部から出力された補正後の受信信号列又は疑似受信信号列に対して前記整相加算を適用し、これにより前記補正済み受信情報を生成する整相加算部と、
を含むことを特徴とする超音波撮像システム。
【請求項4】
請求項1記載の超音波撮像システムにおいて、
前記処理器は、前記受信信号列又は前記疑似受信信号列に対して、前記補正及び前記整相加算を同時に適用する、
ことを特徴とする超音波撮像システム。
【請求項5】
請求項1記載の超音波撮像システムにおいて、
前記受信信号列から生成された受信情報に対して復元処理を適用することにより、前記疑似受信信号列を生成する復元処理器を含み、
前記解析器は、前記疑似受信信号列に基づいて前記同期ずれを演算する、
ことを特徴とする超音波撮像システム。
【請求項6】
請求項1記載の超音波撮像システムにおいて、
前記解析器は、前記受信信号列又は前記疑似受信信号列に含まれる光音響波信号列に基づいて前記同期ずれを演算する、
ことを特徴とする超音波撮像システム。
【請求項7】
請求項6記載の超音波撮像システムにおいて、
前記光音響波信号列は、前記複数の振動子に対応した複数の光音響波信号により構成され、
前記解析器は、前記複数の光音響波信号に対応する複数の伝搬時間に基づいて前記同期ずれを演算する、
ことを特徴とする超音波撮像システム。
【請求項8】
光パルスを光音響波に変換する光吸収素子を有する挿入部材が生体内に挿入された状態において、前記光音響波を複数の振動子で受信する工程と、
前記複数の振動子から並列的に出力された複数の受信信号からなる受信信号列又はそれに相当する疑似受信信号列に基づいて、光パルス周期と受信周期との間の同期ずれを演算する工程と、
前記受信信号列又は前記疑似受信信号列に対して、前記同期ずれに由来する位置ずれを解消するための補正及び受信ビーム形成のための整相加算を適用し、これにより補正済み受信情報を生成する工程と、
前記補正済み受信情報に基づいて、前記生体内における前記光吸収素子の位置を表す光音響画像を生成する工程と、
を含むことを特徴とする光音響画像生成方法。
発明の詳細な説明
【技術分野】
【0001】
本開示は、超音波撮像システム及び光音響画像生成方法に関し、特に、生体内に挿入された挿入部材の位置を表示する技術に関する。
続きを表示(約 2,400 文字)
【背景技術】
【0002】
超音波撮像システム(Ultrasonic imaging system)は、超音波撮像装置を用いて、患者である生体の治療又は検査を行うためのシステムである。より詳しくは、超音波撮像システムでは、生体内に挿入された挿入部材の位置を表す画像が生成され、それが表示される。そのような画像を参照しながら、生体の治療等が実施される。そのような観点から見て、超音波撮像システムは、生体の治療等を支援するシステムである。
【0003】
超音波撮像システムにおいては、超音波撮像装置として、通常、超音波診断装置が用いられる。生体内に挿入される挿入部材は、例えば、血管内に挿入されるカテーテルである。一般に、カテーテルの挿入に先立って、ガイドワイヤが血管内に挿入される。ガイドワイヤも挿入部材である。生体の表面に当接された超音波プローブを用いて血管内に挿入される挿入部材を画像化する超音波撮像システムは、EVUS(Extra-vascular ultrasound)システムとも呼ばれる。
【0004】
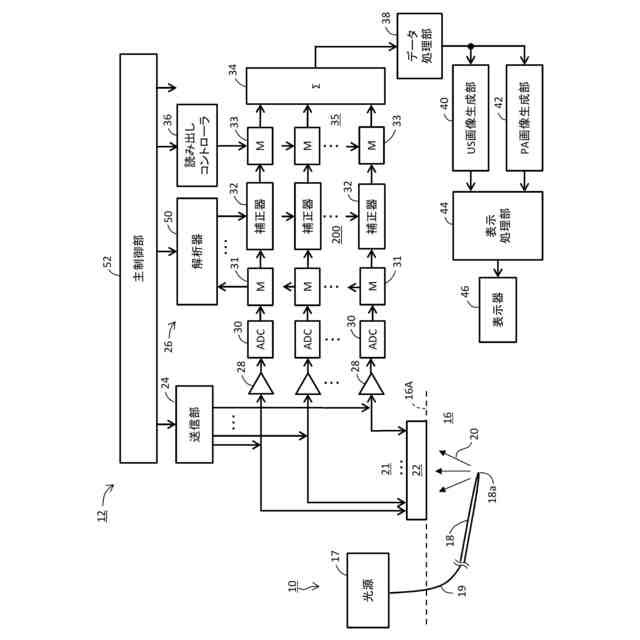
光音響効果(Photoacoustic effect)を利用して挿入部材を画像化する先進的な超音波撮像システムが提案されている。かかる超音波撮像システムでは、挿入部材の先端に光吸収素子が設けられている。光パルス生成器で生成された光パルスが光ファイバを通じて挿入部材の内部へ導かれ、その光パルスが光吸収素子に照射される。光吸収素子での光パルスの吸収により、生体内において光音響波(Photoacoustic wave)が生じる。その光音響波が生体表面に当接された超音波プローブで受信される。これにより得られる受信情報に基づいて、光吸収素子(つまり音源)の位置を表す画像(以下、光音響画像又はPA画像という。)が形成される。例えば、超音波の送受波により生成された超音波画像(以下、US画像ともいう。)に対して、光音響画像が合成される。これにより生成された合成画像が表示される。合成画像の観察を通じて、生体組織を観察しながら、挿入部材の先端の位置を明瞭に特定できる。
【0005】
上記の先進的な超音波撮像システムにおいては、基本的に、光パルス生成器における光パルス周期と超音波プローブにおける受信周期とを同期させる必要がある。同期が確立されていない場合、受信ビームフォーミングが適切に実行されず、光音響画像の品質が低下してしまうからである。また、光音響画像において音源の深さ位置を正確に表すためには、光パルス周期と受信周期の一致に加えて、光パルスの発生タイミングとプローブにおける受信期間の開始タイミングとを合わせる必要がある。
【0006】
特許文献1には、上記の先進的な超音波撮像システムが開示されている。特許文献1には、受信信号列を補正する技術は開示されていない。なお、特許文献2に開示された超音波診断装置では、フーリエ変換(フーリエ整相とも呼ばれる。)及び逆フーリエ変換(逆フーリエ整相とも呼ばれる。)が段階的に実行されている。それらの段階的なデータ変換は、音速補正のためのものであり、光音響画像とは無関係である。
【先行技術文献】
【特許文献】
【0007】
特許5819387号公報
特開2020-137876号公報
【発明の概要】
【発明が解決しようとする課題】
【0008】
本開示の目的は、光パルス周期と受信周期の間に同期ずれがあっても、同期ずれがない場合に得られる光音響画像と同様の光音響画像が生成されるようにすることにある。あるいは、本開示の目的は、光パルス周期と受信周期の間に同期ずれがあっても、光音響画像において音源が正しい位置に表示されるようにすることにある。
【課題を解決するための手段】
【0009】
本開示に係る超音波撮像システムは、光パルスを生成する光源と、生体内に挿入される挿入部材であって、前記光パルスを光音響波に変換する光吸収素子を有する挿入部材と、前記光音響波を受信する複数の振動子を備えたプローブと、前記複数の振動子から並列的に出力された複数の受信信号からなる受信信号列又はそれに相当する疑似受信信号列に基づいて、前記光源における光パルス周期と前記プローブにおける受信周期との間の同期ずれを演算する解析器と、前記受信信号列又は前記疑似受信信号列に対して、前記同期ずれに由来する位置ずれを解消するための補正及び受信ビーム形成のための整相加算を適用し、これにより補正済み受信情報を出力する処理器と、前記補正済み受信情報に基づいて、前記生体内における前記光吸収素子の位置を表す光音響画像を生成する生成器と、を含むことを特徴とする。
【0010】
本開示に係る光音響画像生成方法は、光パルスを光音響波に変換する光吸収素子を有する挿入部材が生体内に挿入された状態において、前記光音響波を複数の振動子で受信する工程と、前記複数の振動子から並列的に出力された複数の受信信号からなる受信信号列又はそれに相当する疑似受信信号列に基づいて、光パルス周期と受信周期との間の同期ずれを演算する工程と、前記受信信号列又は前記疑似受信信号列に対して、前記同期ずれに由来する位置ずれを解消するための補正及び受信ビーム形成のための整相加算を適用し、これにより補正済み受信情報を生成する工程と、前記補正済み受信情報に基づいて、前記生体内における前記光吸収素子の位置を表す光音響画像を生成する工程と、を含むことを特徴とする。
【発明の効果】
(【0011】以降は省略されています)
この特許をJ-PlatPat(特許庁公式サイト)で参照する
関連特許
富士フイルム株式会社
内視鏡
1日前
富士フイルム株式会社
内視鏡
1日前
富士フイルム株式会社
内視鏡
1日前
富士フイルム株式会社
内視鏡
1日前
富士フイルム株式会社
内視鏡
1日前
富士フイルム株式会社
システム
1日前
富士フイルム株式会社
塗布装置
1日前
富士フイルム株式会社
放射線撮影装置
1日前
富士フイルム株式会社
内視鏡補助具の操作装置
1日前
富士フイルム株式会社
超音波内視鏡及びシステム
1日前
富士フイルム株式会社
異方導電性部材及び接合体
2日前
富士フイルム株式会社
混合物、組成物、及び化合物
1日前
富士フイルム株式会社
感光性転写材料及びその製造方法
1日前
富士フイルム株式会社
フタロシアニン化合物の製造方法
1日前
富士フイルム株式会社
ウェブ切換装置及びウェブ切換方法
1日前
富士フイルム株式会社
医療支援装置、方法およびプログラム
1日前
富士フイルム株式会社
動作音抑制装置及びX線断層像撮影装置
2日前
富士フイルム株式会社
情報処理装置、情報処理方法、及びプログラム
1日前
富士フイルム株式会社
多層膜、光学部材、撮像機器および多層膜の製造方法
1日前
富士フイルム株式会社
医用画像撮影装置、及び医用画像撮影装置の制御方法
1日前
富士フイルム株式会社
画像表示装置、画像表示方法、及び画像表示プログラム
1日前
富士フイルム株式会社
情報処理装置、撮像装置、情報処理方法、及び情報処理プログラム
1日前
富士フイルム株式会社
情報処理装置、画像撮影システム、プログラム更新方法、及びプログラム更新プログラム
1日前
富士フイルム株式会社
不溶性担体を含む免疫学的測定試薬の製造方法、保存方法、測定対象物質の測定方法、および免疫学的測定試薬
1日前
富士フイルム株式会社
感活性光線性又は感放射線性樹脂組成物、感活性光線性又は感放射線性膜、パターン形成方法、及び電子デバイスの製造方法
2日前
富士フイルム株式会社
ポリイミド前駆体又はポリアミドイミド前駆体の製造方法、硬化性樹脂組成物の製造方法、硬化性樹脂組成物、及びポリイミド前駆体又はポリアミドイミド前駆体
1日前
個人
短下肢装具
2か月前
個人
嚥下鍛錬装置
3か月前
個人
前腕誘導装置
2か月前
個人
アイマスク装置
1か月前
個人
汚れ防止シート
12日前
個人
矯正椅子
4か月前
個人
歯の修復用材料
3か月前
個人
バッグ式オムツ
3か月前
個人
胸骨圧迫補助具
1か月前
個人
哺乳瓶冷まし容器
2か月前
続きを見る
他の特許を見る