TOP
|
特許
|
意匠
|
商標
特許ウォッチ
Twitter
他の特許を見る
10個以上の画像は省略されています。
公開番号
2025122435
公報種別
公開特許公報(A)
公開日
2025-08-21
出願番号
2024017907
出願日
2024-02-08
発明の名称
アキューム装置
出願人
東罐興業株式会社
代理人
弁理士法人太田特許事務所
主分類
B65G
47/30 20060101AFI20250814BHJP(運搬;包装;貯蔵;薄板状または線条材料の取扱い)
要約
【課題】製造品を一時的に貯蔵するアキューム装置において、設置面積に対する製造品の貯蔵数を大きく向上させるのみならずアキューム時の製造品の先入れ先出しが概ね可能となるアキューム装置を提供する。
【解決手段】本発明のアキューム装置は、製造品を搬送する主搬送ラインに併設して配置されたアキューム迂回用コンベアと、このアキューム迂回用コンベアの一方の側に配置されたアキュームパレットと、このアキュームパレットへ製造品を移送する移送機構と、複数のアキュームパレットをアキューム受入れ位置とアキューム送り出し位置とパレット待機位置との間で循環して搬送するパレット搬送コンベアと、アキューム時に離脱した製造品を主搬送ラインに返送するアキューム返送用コンベアと、アキュームパレットから製造品を払い出す払い出し機構と、を備える。
【選択図】図1
特許請求の範囲
【請求項1】
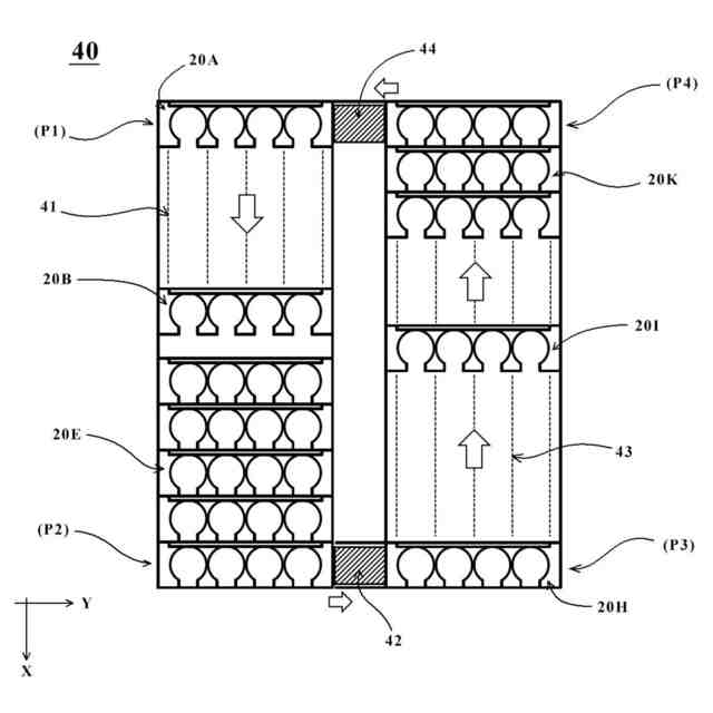
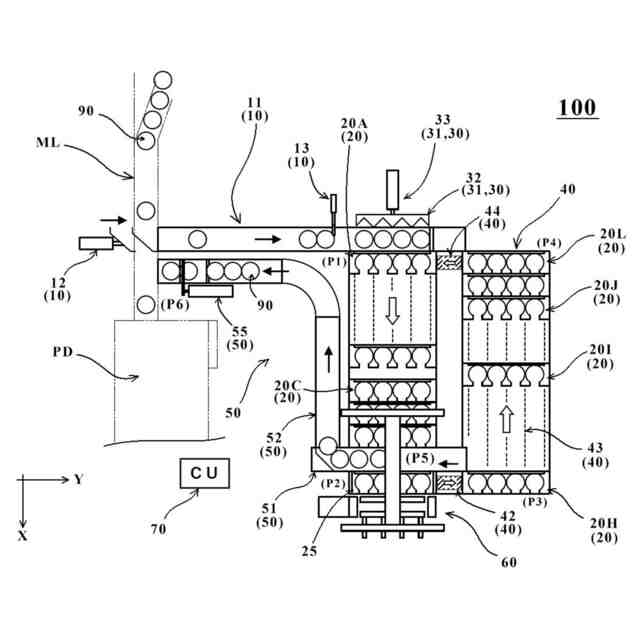
製造品を搬送する主搬送ラインに併設して配置されて、アキューム時に前記製造品を前記主搬送ラインから離脱させるアキューム迂回用コンベアと、
前記アキューム迂回用コンベアの一方の側に配置されて、前記製造品が複数並置された状態で鉛直方向に積み上げ可能なアキュームパレットと、
前記アキュームパレットと対向するように前記アキューム迂回用コンベアの他方の側に配置されて、前記アキューム迂回用コンベアを流れる複数の前記製造品を前記アキュームパレットへ移送する移送機構と、
前記アキューム迂回用コンベアの一方の側に配置されて、複数の前記アキュームパレットを、前記アキューム迂回用コンベアから前記製造品を受け入れるアキューム受入れ位置と、前記製造品を保持した前記アキュームパレットから前記主搬送ラインに向けて少なくとも1つの前記製造品を送り出すアキューム送り出し位置と、前記アキューム受入れ位置に隣接すると共に当該アキューム受入れ位置へ次に送り出されるアキュームパレットが待機するパレット待機位置と、の間で循環して搬送するパレット搬送コンベアと、
前記アキューム送り出し位置に隣接した送出受入れ位置と、前記アキューム時に離脱した前記製造品を前記主搬送ラインに返送する主搬送ライン戻し位置と、をつなぐアキューム返送用コンベアと、
前記アキューム送り出し位置から前記送出受入れ位置に前記製造品を払い出す払出機構と、
を備えたことを特徴とする、アキューム装置。
続きを表示(約 1,500 文字)
【請求項2】
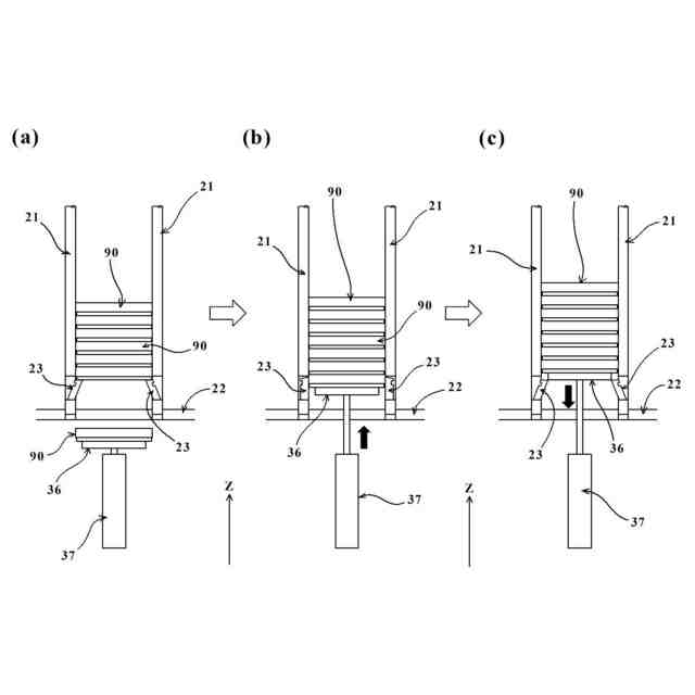
前記アキュームパレットは、
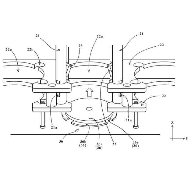
前記製造品の周囲を囲繞する複数のロッドと、
前記ロッドを保持すると共に、前記複数のロッド内で前記製造品が前記鉛直方向に沿って積層されるように当該製造品が通過可能な通過開孔が形成されたベース体と、
前記ロッドに内蔵されて、前記複数のロッド内に突き上げられた前記製造品を所定の高さで保持するラッチ体と、を含む、
請求項1に記載のアキューム装置。
【請求項3】
前記ラッチ体は、
中空の前記ロッドの内部に収容される収容位置と、前記製造品を保持する保持位置と、に位置付け可能であり、前記突き上げ時に前記通過開孔を通過した前記製造品が接触することで前記収容位置に移動すると共に、前記製造品が前記ラッチ体よりも上方まで突き上げられた後で前記保持位置に移動する、
請求項2に記載のアキューム装置。
【請求項4】
前記アキューム受入れ位置に設置されて、当該アキューム受入れ位置に移送された前記製造品の底部を突き上げる突き上げ装置を更に備え、
前記突き上げ装置は、
前記製造品の底部を支持する支持盤を含み、
前記支持盤の外周には前記突き上げ時に前記ラッチ体が通過するラッチ逃がし溝が設けられてなる、
請求項2に記載のアキューム装置。
【請求項5】
前記移送機構は、
前記アキューム迂回用コンベアの上で搬送方向に沿って並ぶ複数の前記製造品の間に挿入される挿入突部を備えたプッシャと、
前記プッシャを前記アキュームパレットの側へ押し出す押出手段と、を含み、
前記押出手段を介して前記複数の前記製造品が前記アキューム受入れ位置に移送される際に、前記挿入突部の幅に対応した所定の間隙が隣り合う前記製造品の間で形成される、
請求項1に記載のアキューム装置。
【請求項6】
前記製造品は円筒状の容器を含み、
前記プッシャは、前記挿入突部として、前記搬送方向に沿って並ぶ前記円筒状の容器の側面に接触可能な鋸刃状の押出し面を備えてなる、
請求項5に記載のアキューム装置。
【請求項7】
前記パレット搬送コンベアは、
前記アキューム迂回用コンベアが延びる方向(搬送方向Y)と交差する方向(移動方向X)に向けて前記アキューム受入れ位置を起点に前記アキューム送り出し位置まで敷設された往路コンベアと、
前記アキューム送り出し位置から復路開始位置まで前記アキュームパレットをスライドさせる第1スライド機構と、
前記往路コンベアと併設されて、前記復路開始位置を起点に前記パレット待機位置まで敷設された復路コンベアと、
前記パレット待機位置から前記アキューム受入れ位置まで前記アキュームパレットをスライドさせる第2スライド機構と、
を含んで構成されてなる、
請求項1~6のいずれか一項に記載のアキューム装置。
【請求項8】
前記払出機構は、
前記アキューム送り出し位置に敷設されて、前記アキューム送り出し位置に位置付けられた前記アキュームパレットにおける最下段の前記製造品を押し上げるリフターと、
前記製造品の前記鉛直方向における位置を検出する高さ検出センサと、
前記高さ検出センサの検出結果に基づいて、前記アキュームパレットに積層された前記製造品のうちの最上段に位置する製造品を、前記アキューム返送用コンベアにおける前記送出受入れ位置に払い出す払出アームと、を含んでなる、
請求項1~6のいずれか一項に記載のアキューム装置。
発明の詳細な説明
【技術分野】
【0001】
本発明は、製造ライン上で何らかの不具合が発生した際に、その上流側でライン上を流れる製造品を一時的に貯蔵するアキューム装置に関する。
続きを表示(約 2,000 文字)
【背景技術】
【0002】
例えば乳製品など食品を容器に収容して製造する製造ラインでは、食品充填装置や梱包装置など複数の各種処理装置が搬送コンベヤを介して連結されている。従って、例えば上記した製造ラインで製造される製造品は、搬送コンベヤで連続的に搬送されながら当該搬送コンベアに併設された各処理装置で必要な処理が逐次実行される。
【0003】
上記した製造品は搬送コンベアによって連続的に搬送される一方で、何らかの要因で製造ライン上の処理装置が停止することが起こり得る。これに対して従来では、特許文献1や特許文献2に例示されるように、下流側の処理装置が停止した場合において上流側の処理装置を停止させないように、搬送コンベヤに併設されたアキューム装置が用いられている。
【先行技術文献】
【特許文献】
【0004】
特開2001-72239号公報
特開2016-8100号公報
特開2010-64836号公報
【発明の開示】
【発明が解決しようとする課題】
【0005】
上述の特許文献を含む従来のアキューム装置においては未だに改善すべき点が存在する。すなわち上記した特許文献に例示される従来のアキューム装置では、設置面積に対する製造品の収容可能な貯蔵数が少なく、アキューム時における製造品の収容効率には改善の余地が大きいと言える。また、特許文献3に例示するように製造品を垂直方向に積み上げるスタック装置も存在するが、収容可能な貯蔵数をより多くしたい場合には設置場所での高さ制約の影響が大きい。
【0006】
このように従来のアキューム装置では、水平方向に延びるようにアキューム装置を構成すると設置面積に対して製造品の収容可能な貯蔵数が確保し難く、垂直方向に延びるようにアキューム装置を構成すると設置面積は効率化できるが上記貯蔵数が少なくなってしまう。
【0007】
さらに従来の装置構造では、アキューム装置に貯蔵された順序とは逆の順序で製造品が製造ラインに還流される仕様となることが多く、このような仕様では製造品のタクトタイム管理において必しも良いとは言えない。
【0008】
本発明は、上記した課題を一例に鑑みて為されたものであり、製造品を一時的に貯蔵するアキューム装置において、設置面積に対する製造品の貯蔵数を大きく向上させるのみならず、アキューム時の製造品の先入れ先出しが概ね可能となるアキューム装置を提供することを目的とする。
【課題を解決するための手段】
【0009】
本発明の一実施形態におけるアキューム装置は、(1)製造品を搬送する主搬送ラインに併設して配置されて、アキューム時に前記製造品を前記主搬送ラインから離脱させるアキューム迂回用コンベアと、前記アキューム迂回用コンベアの一方の側に配置されて、前記製造品が複数並置された状態で鉛直方向に積み上げ可能なアキュームパレットと、前記アキュームパレットと対向するように前記アキューム迂回用コンベアの他方の側に配置されて、前記アキューム迂回用コンベアを流れる複数の前記製造品を前記アキュームパレットへ移送する移送機構と、前記アキューム迂回用コンベアの一方の側に配置されて、複数の前記アキュームパレットを、前記アキューム迂回用コンベアから前記製造品を受け入れるアキューム受入れ位置と、前記製造品を保持した前記アキュームパレットから前記主搬送ラインに向けて少なくとも1つの前記製造品を送り出すアキューム送り出し位置と、前記アキューム受入れ位置に隣接すると共に当該アキューム受入れ位置へ次に送り出されるアキュームパレットが待機するパレット待機位置と、の間で循環して搬送するパレット搬送コンベアと、前記アキューム送り出し位置に隣接した送出受入れ位置と、前記アキューム時に離脱した前記製造品を前記主搬送ラインに返送する主搬送ライン戻し位置と、をつなぐアキューム返送用コンベアと、前記アキューム送り出し位置から前記送出受入れ位置に前記製造品を払い出す払い出し機構と、を備えたことを特徴とする。
【0010】
また、上記(1)に記載のアキューム装置においては、(2)前記アキュームパレットは、前記製造品の周囲を囲繞する複数のロッドと、前記ロッドを保持すると共に、前記複数のロッド内で前記製造品が前記鉛直方向に沿って積層されるように当該製造品が通過可能な通過開孔が形成されたベース体と、前記ロッドに内蔵されて、前記複数のロッド内に突き上げられた前記製造品を所定の高さで保持するラッチ体と、を含むことが好ましい。
(【0011】以降は省略されています)
この特許をJ-PlatPat(特許庁公式サイト)で参照する
関連特許
東罐興業株式会社
紙製容器
1か月前
東罐興業株式会社
集積支援システム
22日前
東罐興業株式会社
紙製容器の検査方法
1か月前
東罐興業株式会社
シート状部材搬送装置
15日前
東罐興業株式会社
容器集積装置及び容器集積方法
17日前
東罐興業株式会社
テープ搬送装置およびテープ搬送方法
15日前
東罐興業株式会社
燻煙剤用容器の紙蓋及び燻煙剤用容器
16日前
東罐興業株式会社
燻煙剤用容器の紙蓋及び燻煙剤用容器
16日前
東罐興業株式会社
スリーブ分離装置及びスリーブ分離方法
17日前
東罐興業株式会社
集積支援システムに用いられる逆戻り抑制装置
22日前
東罐興業株式会社
中皿付き容器
1か月前
東罐興業株式会社
テープ貼り付け状態の検査装置およびテープ貼り付け状態の検査方法
15日前
東洋製罐グループホールディングス株式会社
ガスバリア性及び層間密着性を有する積層体
14日前
個人
収容箱
3か月前
個人
コンベア
5か月前
個人
段ボール箱
7か月前
個人
段ボール箱
6か月前
個人
容器
9か月前
個人
ゴミ収集器
6か月前
個人
宅配システム
6か月前
個人
角筒状構造体
5か月前
個人
バンド
2か月前
個人
楽ちんハンド
4か月前
個人
土嚢運搬器具
8か月前
個人
廃棄物収容容器
2か月前
個人
包装容器
1か月前
個人
お薬の締結装置
5か月前
個人
閉塞装置
10か月前
個人
コード類収納具
8か月前
株式会社バンダイ
物品
16日前
個人
蓋閉止構造
3か月前
個人
貯蔵サイロ
7か月前
株式会社和気
包装用箱
8か月前
個人
積み重ね用補助具
2か月前
個人
把手付米袋
4か月前
個人
蓋閉止構造
3か月前
続きを見る
他の特許を見る