TOP
|
特許
|
意匠
|
商標
特許ウォッチ
Twitter
他の特許を見る
10個以上の画像は省略されています。
公開番号
2025122559
公報種別
公開特許公報(A)
公開日
2025-08-21
出願番号
2024018137
出願日
2024-02-08
発明の名称
配線基板の製造方法
出願人
イビデン株式会社
代理人
弁理士法人朝日奈特許事務所
主分類
H05K
3/06 20060101AFI20250814BHJP(他に分類されない電気技術)
要約
【課題】凹みが抑制された貫通導体を備える配線基板の提供。
【解決手段】実施形態の配線基板の製造方法は、第1面100Aおよび第2面100Bを有する絶縁層100を準備することと、第1面100Aから第2面100Bにかけて貫通する貫通孔100thを形成することと、貫通導体113を形成するとともに第1導体層FCLを形成することと、第1導体層FCLを除去することにより第1面100Aを露出させることと、を含んでいる。第1導体層FCLを除去することは、第1導体層FCL上に、平面視における貫通導体113に重複する領域を被覆する第1レジスト層FRLを形成することと、第1導体層FCLの露出部分をエッチングにより除去することと、第1導体層FCLの第1レジスト層FRLに被覆された部分を研磨により除去することと、を含んでいる。
【選択図】図2D
特許請求の範囲
【請求項1】
第1面および前記第1面と反対側の第2面を有する絶縁層を準備することと、
前記第1面から前記第2面にかけて貫通する貫通孔を形成することと、
前記貫通孔内に導体を充填することで貫通導体を形成するとともに、前記導体で前記第1面上を被覆することにより第1導体層を形成することと、
前記第1導体層を除去することにより前記第1面を露出させることと、
を含む配線基板の製造方法であって、
前記第1導体層を除去することは、
前記第1導体層上に、平面視における前記貫通導体に重複する領域を被覆する第1レジスト層を形成することと、
前記第1導体層の露出部分をエッチングにより除去することと、
前記第1導体層の前記第1レジスト層に被覆された部分を研磨により除去することと、
を含んでいる。
続きを表示(約 780 文字)
【請求項2】
請求項1記載の配線基板の製造方法であって、
前記貫通導体を形成するとともに、前記導体で前記第2面上を被覆することにより第2導体層を形成することと、
前記第2導体層を除去することにより前記第2面を露出させることと、
をさらに含み、
前記第2導体層を除去することは、
前記第2導体層上に平面視における前記貫通導体に重複する領域を被覆する第2レジスト層を形成することと、
前記第2導体層の露出部分をエッチングにより除去することと、
前記第2導体層の前記第2レジスト層に被覆された部分を研磨により除去することと、
を含んでいる。
【請求項3】
請求項2記載の配線基板の製造方法であって、前記第1導体層の除去により前記第1面を露出させることと、前記第2導体層の除去により前記第2面を露出させることと、は同時に実施される。
【請求項4】
請求項1記載の配線基板の製造方法であって、前記研磨により前記第1面に対する前記貫通導体の表面の凹みの深さを1μm以下にすることを含んでいる。
【請求項5】
請求項1記載の配線基板の製造方法であって、前記エッチング後の前記研磨前に、前記第1レジスト層を前記第1導体層から除去することを含んでいる。
【請求項6】
請求項1記載の配線基板の製造方法であって、前記絶縁層はガラスで構成されている。
【請求項7】
請求項1記載の配線基板の製造方法であって、前記研磨はCMP研磨を含んでいる。
【請求項8】
請求項1記載の配線基板の製造方法であって、前記貫通孔を形成することは、前記貫通孔の前記第1面における径と前記第2面における径とを略等しく形成することを含んでいる。
発明の詳細な説明
【技術分野】
【0001】
本発明は配線基板の製造方法に関する。
続きを表示(約 2,000 文字)
【背景技術】
【0002】
特許文献1には、配線基板の製造方法が開示されている。配線基板のコア基板を構成する絶縁基板に貫通孔が形成され、貫通孔内を充填するスルーホール導体および絶縁基板を被覆する導体層が一体的に形成される。導体層がエッチングにより除去されることにより絶縁基板の厚さ方向に直交する表面の全域が露出するとともにスルーホール導体の表面が露出する。露出するスルーホール導体の表面上にはビア導体が形成される。
【先行技術文献】
【特許文献】
【0003】
特開2024-6642号公報
【発明の概要】
【発明が解決しようとする課題】
【0004】
特許文献1の配線基板の製造方法においては、スルーホール導体の露出する表面に、エッチングの影響による凹み(ディッシング)が比較的大きく形成され得ると考えられる。スルーホール導体とビア導体との接続不良が発生する場合がある。
【課題を解決するための手段】
【0005】
本発明の配線基板の製造方法は、第1面および前記第1面と反対側の第2面を有する絶縁層を準備することと、前記第1面から前記第2面にかけて貫通する貫通孔を形成することと、前記貫通孔内に導体を充填することで貫通導体を形成するとともに、前記導体で前記第1面上を被覆することにより第1導体層を形成することと、前記第1導体層を除去することにより前記第1面を露出させることと、を含んでいる。前記第1導体層を除去することは、前記第1導体層上に、平面視における前記貫通導体に重複する領域を被覆する第1レジスト層を形成することと、前記第1導体層の露出部分をエッチングにより除去することと、前記第1導体層の前記第1レジスト層に被覆された部分を研磨により除去することと、を含んでいる。
【0006】
本発明の実施形態によれば、表面における凹み(ディッシング)が抑制された貫通導体を備える配線基板が、比較的短い時間で提供され得る。
【図面の簡単な説明】
【0007】
本発明の一実施形態の配線板の一例を示す断面図である。
図1に示される配線板の製造方法の一例を示す図である。
図1に示される配線板の製造方法の一例を示す図である。
図1に示される配線板の製造方法の一例を示す図である。
図1に示される配線板の製造方法の一例を示す図である。
図1に示される配線板の製造方法の一例を示す図である。
図1に示される配線板の製造方法の一例を示す図である。
図1に示される配線板の製造方法の一例を示す図である。
図1に示される配線板の製造方法の一例を示す図である。
【発明を実施するための形態】
【0008】
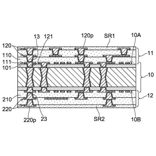
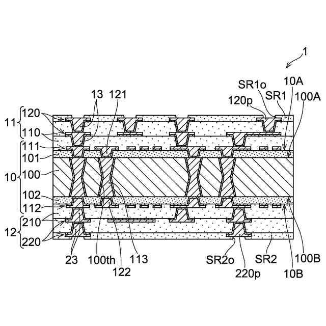
図面を参照しながら本発明の配線基板の製造方法について説明される。なお、以下、参照される図面においては、各構成要素の正確な比率を示すことは意図されておらず、本発明の特徴が理解され易いように描かれている。図1には、実施形態の製造方法により製造される配線基板の一例である配線基板1の断面が示されている。
【0009】
図1に示されるように、配線基板1は、積層体10を備えている。積層体10は第1面100Aおよび第1面100Aと反対側の第2面100Bを備える絶縁層100を有している。絶縁層100は、例えばガラス基板で構成されている。絶縁層100の第1面100Aは、絶縁層101により被覆されている。絶縁層100の第2面100Bは、絶縁層102により被覆されている。絶縁層101上には導体層111が形成されており、絶縁層102上には導体層112が形成されている。導体層111の表面、および、導体層111のパターンから露出する絶縁層101の上面によって、積層体10の一方の面10Aが構成されている。導体層112の表面、および、導体層112のパターンから露出する絶縁層102の上面によって、積層体10の他方の面10Bが構成されている。
【0010】
図示される例においては、配線基板1は、積層体10の一方の面10A上に形成されている第1ビルドアップ部11と、他方の面10B上に形成されている第2ビルドアップ部12と、を有している。すなわち、積層体10は、配線基板1におけるコア基板の形態を有している。従って、本実施形態の説明において、積層体10はコア基板10とも称される。絶縁層100は、コア絶縁層100とも称される。絶縁層101、102は被覆絶縁層101、102とも称される。導体層111、112は、コア導体層111、112とも称される。
(【0011】以降は省略されています)
この特許をJ-PlatPat(特許庁公式サイト)で参照する
関連特許
イビデン株式会社
断熱材
5日前
イビデン株式会社
断熱材
5日前
イビデン株式会社
断熱材
5日前
イビデン株式会社
断熱材
5日前
イビデン株式会社
配線基板
6日前
イビデン株式会社
配線基板
7日前
イビデン株式会社
ハニカムフィルタ
8日前
イビデン株式会社
配線基板の製造方法
12日前
イビデン株式会社
配線基板の製造方法
12日前
イビデン株式会社
配線基板の製造方法
7日前
イビデン株式会社
配線基板の製造方法
7日前
イビデン株式会社
配線基板の製造方法
7日前
イビデン株式会社
配線基板の製造方法
7日前
イビデン株式会社
マット材及び保持シール材
6日前
イビデン株式会社
プリント配線板の製造方法
7日前
イビデン株式会社
プリント配線板の製造方法
7日前
イビデン株式会社
プリント配線板の製造方法
7日前
イビデン株式会社
熱伝達抑制シート及び組電池
5日前
イビデン株式会社
熱伝達抑制シート及び組電池
12日前
イビデン株式会社
配線基板および配線基板の製造方法
1日前
イビデン株式会社
電池パック用断熱材及び電池パック
5日前
イビデン株式会社
電池パック用断熱材及び電池パック
5日前
イビデン株式会社
熱伝達抑制シート及びその製造方法、並びに組電池
5日前
イビデン株式会社
熱伝達抑制シート及びその製造方法、並びに組電池
5日前
イビデン株式会社
SiC単結晶製造装置及びSiC単結晶の製造方法
今日
イビデン株式会社
ボール状部材搭載マスク及びボール状部材の搭載方法
8日前
イビデン株式会社
植物賦活剤
12日前
個人
電子部品の実装方法
14日前
個人
非衝突型ガウス加速器
2か月前
愛知電機株式会社
装柱金具
6日前
日本精機株式会社
回路基板
1か月前
イビデン株式会社
配線基板
7日前
アイホン株式会社
電気機器
28日前
日本放送協会
基板固定装置
1か月前
個人
節電材料
2か月前
キヤノン株式会社
電子機器
28日前
続きを見る
他の特許を見る