TOP
|
特許
|
意匠
|
商標
特許ウォッチ
Twitter
他の特許を見る
公開番号
2025154350
公報種別
公開特許公報(A)
公開日
2025-10-10
出願番号
2024057294
出願日
2024-03-29
発明の名称
断熱材
出願人
イビデン株式会社
代理人
弁理士法人WisePlus
主分類
F16L
59/04 20060101AFI20251002BHJP(機械要素または単位;機械または装置の効果的機能を生じ維持するための一般的手段)
要約
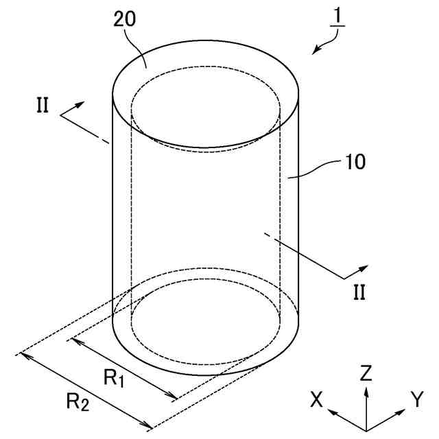
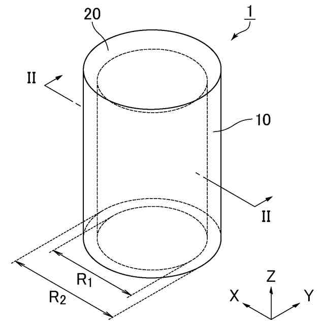
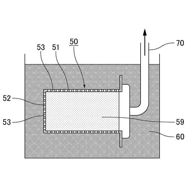
【課題】 炉内の温度分布を小さくすることができる断熱材を提供する。
【解決手段】 長手方向に延びる筒状の胴体部と、上記胴体部の上記長手方向のいずれか一方の端に配置される板部と、からなる断熱材であって、上記胴体部及び上記板部は、いずれも炭素繊維からなり、上記胴体部と上記板部とは組成が連続している、ことを特徴とする断熱材。
【選択図】 図1
特許請求の範囲
【請求項1】
長手方向に延びる筒状の胴体部と、前記胴体部の前記長手方向のいずれか一方の端に配置される板部と、からなる断熱材であって、
前記胴体部及び前記板部は、いずれも炭素繊維からなり、
前記胴体部と前記板部とは組成が連続している、ことを特徴とする断熱材。
続きを表示(約 230 文字)
【請求項2】
前記胴体部を構成する前記炭素繊維は、前記長手方向に沿って配向している、請求項1に記載の断熱材。
【請求項3】
前記板部を構成する前記炭素繊維は、前記長手方向に直交する方向に沿って配向している、請求項1又は2に記載の断熱材。
【請求項4】
前記胴体部が、さらに鱗片状黒鉛を含む、請求項1又は2に記載の断熱材。
【請求項5】
前記板部が、さらに鱗片状黒鉛を含む、請求項1又は2に記載の断熱材。
発明の詳細な説明
【技術分野】
【0001】
本発明は、断熱材に関する。
続きを表示(約 1,100 文字)
【背景技術】
【0002】
炭素繊維を用いた断熱材は、耐熱温度が高く断熱性能も優れることから、半導体製造用炉、セラミック焼結炉などの高温向けの炉用断熱材として広く利用されている。
【0003】
断熱材の形状は、断熱対象物の形状により適宜設定されるが、例えば、筒状の対象物を断熱するためには、筒状の断熱材が用いられる。
例えば、特許文献1には、吸引成形によって筒状の断熱材を製造する方法が開示されている。
【0004】
筒状の断熱材は、断熱性能を高めるために、上下蓋となる断熱材と組み合わせて用いられることがある。
例えば、特許文献2には、誘導加熱炉に適した炭素繊維フェルトからなる筒状の成型断熱材と、上下蓋となる板状の成型断熱材とを組み合わせてなる断熱材が開示されている。
【先行技術文献】
【特許文献】
【0005】
特開平02-208264号公報
特開2021-147258号公報
【発明の概要】
【発明が解決しようとする課題】
【0006】
しかしながら、特許文献2に記載されたような、筒状の断熱材と板状の断熱材とを組み合わせる方法では、筒状の断熱材と板状の断熱材の間にわずかな隙間が生じてしまい、炉内に温度分布が生じる原因となることがあった。
【0007】
本発明は、上記課題を解決するためになされた発明であり、炉内の温度分布を小さくすることができる断熱材を提供することを目的とする。
【課題を解決するための手段】
【0008】
本発明の断熱材は、長手方向に延びる筒状の胴体部と、上記胴体部の上記長手方向のいずれか一方の端に配置される板部と、からなる断熱材であって、上記胴体部及び上記板部は、いずれも炭素繊維からなり、上記胴体部と上記板部とは組成が連続している、ことを特徴とする。
【0009】
本発明の断熱材では、胴体部と板部の組成が連続している。この状態は、胴体部と板部とが一体化している状態であるともいえるから、胴体部と板部との間に隙間が生じることがない。そのため、炉内の温度分布を小さくすることができる。
【0010】
本発明の断熱材において、上記胴体部を構成する上記炭素繊維は、上記長手方向に沿って配向していることが好ましい。
胴体部を構成する炭素繊維が、長手方向に沿って配向していると、胴体部の厚み方向における熱伝導率を低下させて、断熱性能を向上させることができる。
(【0011】以降は省略されています)
この特許をJ-PlatPat(特許庁公式サイト)で参照する
関連特許
イビデン株式会社
断熱材
1日前
イビデン株式会社
断熱材
1日前
イビデン株式会社
断熱材
1日前
イビデン株式会社
断熱材
1日前
イビデン株式会社
配線基板
24日前
イビデン株式会社
配線基板
2日前
イビデン株式会社
配線基板
3日前
イビデン株式会社
配線基板
1か月前
イビデン株式会社
配線基板
10日前
イビデン株式会社
プリント配線板
22日前
イビデン株式会社
部品内蔵配線板
1か月前
イビデン株式会社
プリント配線板
1か月前
イビデン株式会社
ハニカムフィルタ
4日前
イビデン株式会社
ハニカムフィルタ
9日前
イビデン株式会社
配線基板の製造方法
8日前
イビデン株式会社
配線基板の製造方法
8日前
イビデン株式会社
配線基板の製造方法
8日前
イビデン株式会社
配線基板の製造方法
8日前
イビデン株式会社
配線基板の製造方法
8日前
イビデン株式会社
配線基板の製造方法
1か月前
イビデン株式会社
配線基板の製造方法
1か月前
イビデン株式会社
配線基板の製造方法
3日前
イビデン株式会社
配線基板の製造方法
3日前
イビデン株式会社
配線基板の製造方法
3日前
イビデン株式会社
配線基板の製造方法
3日前
イビデン株式会社
プリント配線板の製造方法
3日前
イビデン株式会社
プリント配線板の製造方法
22日前
イビデン株式会社
配線基板及びその製造方法
12日前
イビデン株式会社
配線基板及びその製造方法
12日前
イビデン株式会社
プリント配線板の製造方法
3日前
イビデン株式会社
マット材及び保持シール材
2日前
イビデン株式会社
プリント配線板の製造方法
3日前
イビデン株式会社
熱伝達抑制シート及び組電池
1か月前
イビデン株式会社
熱伝達抑制シート及び組電池
8日前
イビデン株式会社
熱伝達抑制シート及び組電池
1日前
イビデン株式会社
熱伝達抑制シート及び組電池
1か月前
続きを見る
他の特許を見る